Учитывая, что вся эта материя и вся энергия были так тесно собраны в одном месте, и были такими плотными в момент Большого взрыва – почему же Вселенная не реколлапсировала?
“Es ist immer angenehm, über strenge Lösungen einfacher Form zu verfügen.” (Всегда приятно иметь в своём распоряжении точное решение в простом виде)
– Карл Шварцшильд
Даже если бы вы знали все законы физики во всех местах Вселенной в любой момент, этого всё равно было бы недостаточно для предсказания текущего состояния Вселенной. Поскольку, хотя законы физики устанавливают правила эволюции системы, для старта ей всё ещё требуется набор начальных условий. На этой неделе наш выпуск посвящён вопросу Адреаса Лаузера, который спрашивает:
Хотя у меня нет особых сомнений в том, что теория Большого взрыва корректна, или, как вы бы сказали, неплохо аппроксимирует произошедшее, есть одна вещь, о которой я размышляю, когда думаю об этой части космологии. Есть ли объяснение тому, что Вселенная не превратилась сразу в чёрную дыру? Полагаю, что изначальная её плотность была гораздо выше предела Шварцшильда.
Мы уже обсуждали этот вопрос, но вам нужны дополнительные детали и ответ получше, чем я тогда давал. Вернёмся к моменту рождения самой успешной теории гравитации, ОТО, на 100 лет назад.

До Эйнштейна признанной теорией гравитации был ньютоновский закон всемирного тяготения. Все гравитационные явления Вселенной, от ускорения масс на Земле, до орбит лун вокруг планет и обращения самих планет вокруг Солнца, были описаны его теорией. Объекты оказывали равные и противоположно направленные силы притяжения при взаимодействии друг с другом, они ускорялись обратно пропорционально массе, а силы подчинялись универсальному закону обратных квадратов. К 1900-м годам закон был отлично проверен, и из него не было найдено исключений. Ну, точнее, среди тысяч и тысяч успешных испытаний, их практически не было найдено.

Но для прозорливых умов и тех, кто интересовался деталями, существовала парочка проблем.
1. На очень больших скоростях, приближающихся к скорости света, ньютоновские представления об абсолютных пространстве и времени уже не справлялись. Радиоактивные частицы жили дольше, расстояния сжимались, а масса не являлась основным источником притяжения – эта честь, казалось, переходила к энергии, а масса являлась лишь одной из её форм.
2. В очень сильных гравитационных полях — по крайней мере, если из-за этого Меркурий был особой планетой в нашей Солнечной системе, обращаясь вокруг Солнца – предсказания Ньютона о гравитационном поведении объектов немного, но заметно, отличались от наблюдений. Казалось, что если сильно приблизиться к очень массивным источникам, появлялась дополнительная сила притяжения, которую ньютоновская гравитация не учитывала.
После всего этого появилось две разработки, проложивших дорогу новой теории, пришедшей на замену ньютоновской – гениальной, но очень старой концепции, описывающей принципы работы Вселенной.

Первой разработкой учёных стало то, что пространство и время, ранее считавшимися раздельными сущностями (трёхмерное пространство и линейное время) были объединены в математическом аппарате, создавшем четырёхмерное пространство-время. Это в 1907 году сделал Герман Минковский:
Взгляды на пространство и время, которые я хочу изложить вам, выросли на почве экспериментальной физики, и в этом их сила. […] Следовательно, пространству самому по себе, и времени самому по себе, суждено исчезнуть в тенях, и только лишь объединение их двоих сохранится в роли независимой реальности.
Это работало только для плоского евклидового пространства, но идея была чрезвычайно мощной с точки зрения математики, и её неизбежным следствием стали все законы ОТО. Когда эту идею применили к задаче с орбитой Меркурия, ньютоновское предсказание с учётом нового аппарата слегка приблизилось к наблюдаемым параметрам, но всё-таки не дотянуло до них.

Вторую разработку проделал сам Эйнштейн, и это была идея, что пространство-время не плоское, а искривлённое. И тем самым фактором, определяющим кривизну пространства-времени, было присутствие энергии во всех её проявлениях, включая массу. Будучи опубликованным в 1915 году, аппарат Эйнштейна был ужасно сложен в использовании для расчётов, но дал всем учёным огромные возможности для моделирования физических систем на новом уровне точности.
Пространство-время Минковского соответствовало пустой Вселенной, не содержащей энергию и материю любых типов.

Эйнштейну удалось найти решение, в котором во Вселенной была единственная точечная масса, с условием, что вы находитесь вне этой точки. Оно сводилось к ньютоновским предсказаниям на больших дистанциях, но давало более точные данные на малых. Результаты не только сошлись с наблюдением орбиты Меркурия, которую ньютоновская гравитация не предсказала, но и позволили сделать новые предположения об искривлении солнечного света, которые можно увидеть при полном солнечном затмении – эти предсказания были подтверждены позднее, во время затмения 1919 года.

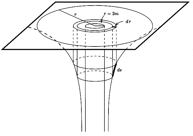
Но есть и ещё одно решение, неожиданное и интересное, вышедшее всего через несколько недель после публикации Эйнштейном ОТО. Карл Шварцшильд проработал детали того, что случается в конфигурации с единственной точечной массой произвольной величины, и то, что он нашёл, было поразительно:
- На больших расстояниях решение Эйнштейна работает, и сводится к ньютоновским результатам
- Но очень близко к массе, на расстоянии R = 2M в естественных единицах, вы достигаете точки, откуда ничто не может убежать – горизонта событий.
- Более того, всё внутри горизонта событий неизбежно коллапсирует к центральной сингулярности, что является неизбежным следствием теории Эйнштейна.
- И, наконец, любая изначальная конфигурация стационарной пыли, которая имеет нулевую начальную скорость и не сталкивается сама с собой, вне зависимости от распределения плотности, неизбежно сколлапсирует в стационарную чёрную дыру.
Это решение, метрика Шварцшильда, было первым полным и нетривиальным решением ОТО.

Запомним всё вышесказанное и перейдём к сути вопроса: как насчёт горячей, плотной ранней Вселенной, где вся материя и энергия, сейчас размазанная по 92 миллиардам световых лет пространства, содержалась в объёме, не большем нашей Солнечно системы?

Но нужно иметь в виду, что, подобно пространству-времени Минковского, решение Шварцшильда статичное, то есть в нём метрика пространства не меняется с течением времени. Но существует много других решений – пространство де Ситтера, метрика Фридмана-Робертсона-Уокера, описывающие пространство-время, которые расширяются или сжимаются.

Если бы мы начали с материи и энергии, которые содержались во Вселенной на ранних стадиях Большого взрыва, и наша Вселенная была бы не расширяющейся, а статичной, а также в ней не было бы частиц с ненулевой скоростью, и частицы не сталкивались бы друг с другом – вся эта энергия сформировала бы шварцшильдовскую чёрную дыру очень быстро, практически мгновенно. Но в ОТО есть ещё одна важная загвоздка: кроме того, что наличие материи и энергии определяет кривизну пространства, всё, что есть в этом пространстве, определяет и эволюцию самого пространства-времени!

Что самое удивительное, нам известно, что с момента Большого взрыва у нашей Вселенной есть только три возможных варианта развития, в зависимости от присутствующих в ней материи и энергии и начальной скорости расширения.
- Скорость расширения могла бы быть недостаточно большой для того количества материи и энергии, которое в ней присутствует. Это значит, что Вселенная расширялась бы некий достаточно короткий промежуток времени, достигла бы максимального размера, а затем начала бы сжиматься. Было бы некорректно, хотя и очень хочется, сказать, что она сколлапсировала бы в чёрную дыру, поскольку само пространство сжималось бы вместе с материей и энергией, и породило бы сингулярность под названием Большое сжатие (Большой хруст, Big Crunch).
- С другой стороны, скорость расширения могла бы быть слишком большой для присутствующего во Вселенной количества материи и энергии. В этом случае вся материя и энергия расходились бы со скоростью слишком большой для того, чтобы гравитация собрала вместе все компоненты Вселенной, и в большинстве моделей Вселенная расширяется слишком быстро для формирования галактик, планет, звёзд или даже атомов и атомных ядер. Такая Вселенная была бы пустым и одиноким местом.
- А есть ещё зона Златовласки, или случай, где Вселенная как раз находится на самой грани между реколлапсированием (что случилось бы, если бы в ней был хоть один лишний протон) и расширением в никуда (если бы в ней было на один протон меньше), и вместо этого она асимптотически приближается к состоянию, в котором скорость расширения падает до нуля, но никогда не превращается в обратное сжатие.
Получается, что мы живём почти в зоне Златовласки, но с добавлением небольшого количества тёмной энергии, которая чуть увеличивает скорость расширения, и это значит, что, в конце концов вся материя, гравитационно не связанная вместе, разлетится в стороны и исчезнет в бездне глубокого космоса.

Удивительно здесь то, сколько точных настроек должно было случиться, чтобы скорость расширения Вселенной и плотность материи и энергии совпали так хорошо, чтобы мы ни сколлапсировали сразу обратно, ни расширились так, чтобы не суметь сформировать основных кирпичиков для построения материи. Вероятность этого составляет примерно один к 10^24, и примерно равна вероятности, с которой два человека, подсчитав количество электронов, содержащихся в них, выяснили бы, что они идентичны с точностью до электрона. Если бы мы отправились назад во времени в тот момент, когда возраст Вселенной составлял лишь наносекунду с момента Большого взрыва, мы смогли бы численно подсчитать, насколько хорошо настроены плотность и скорость расширения.

По моему мнению, довольно невероятная история!
И, тем не менее, именно так и можно описать нашу Вселенную, которая не сколлапсировала сразу, и не расширялась слишком быстро, чтобы в ней не смогли сформироваться сложные структуры. Вместо этого она дала возникнуть всему чудесному разнообразию ядерных, атомных, молекулярных, клеточных, геологических, планетарных, звёздных, галактических и кластерных явлений, которые мы можем наблюдать. Удачно, что мы существуем, и что мы узнали всё, что мы узнали, и что вовлечены в процесс дальнейшего познания: в науку.

Автор: SLY_G
