
В современной истории кардиостимуляторов на первое место по хронологии обычно ставят стимулятор австралийца Марка Лидвелла, врача-анестезиолога Королевского госпиталя принца Альфреда и профессора медицинского факультета Сиднейского университета. ЭКС он построил в 1926 году при помощи профессора физики того же университета Эдгара Бута. Про свой прибор Лилвелл кратко поведал коллегам-анестезиологам в 1929 году на Третьей сессии Австралийского медицинского конгресса, точнее после своего доклада о проблемах анестезиологии, в виде довеска к нему он рассказал об ЭКС. Этот довесок (Appendix) желающие могут сами почитать в материалах того конгресса («Transactions of the Third Session, Australasian Medical Congress, Sydney, Australia, Sept. 2–7, 1929»). Если же совсем коротко, то он рассказал следующее:
«Как вы знаете, адреналин, введенный в сердце, иногда заставляет его снова биться, на что я указывал в 1909 и 1910 годах. Адреналин, по-видимому, воздействует на синусовый узел или, возможно, на какую-то другую часть нервно-мышечного механизма; но если он [естественный нервно-мышечный механизм сердца – Ред.] не реагирует [на адреналин – Ред.], можно попробовать вызвать импульс искусственно. Имея это в виду, некоторое время назад я разработал аппарат, с помощью которого можно осуществлять прямую стимуляцию сердечной мышцы. Сначала было неизвестно, какое напряжение требуется. Бриггс, работавший в женской больнице на Краун-стрит, проводил для меня эксперименты с мертворожденными младенцами. Использовалось напряжение от 1,5 до 120 В, и было установлено, что требуемое напряжение составляет около 16 вольт. Этот метод был опробован в двух или трех случаях и оказался полностью успешным в одном случае с мертворожденным младенцем. Когда все остальное было сделано для оживления ребенка… и не помогло, игла аппарата была введена ему в предсердие и были испробованы различные напряжения, но безрезультатно. Затем игла была введена в желудочек, и сердце реагировало на каждый импульс. По истечении десяти минут подачу тока прекратили, и было обнаружено, что сердце бьется само по себе. Ребенок полностью выздоровел и сейчас жив и вполне здоров. После того как доктор Бриггс уволился из женской больницы, эта работа не продолжалась, так как моя машина была настолько сложной, что в ней было очень трудно разобраться. Сейчас я продемонстрирую вам портативную и упрощенную форму этого аппарата. Частота импульсов может варьироваться примерно от 80 до 120. Этот метод восстановления сердечной деятельности применим при следующих типах осложнений: (1) сердечная недостаточность во время анестезии, (2) случаи утопления…, (3) некоторые виды отравления газом, (4) внезапная смерть во время обострения заболевания, например дифтерии, (5) возможно, внезапная смерть во время сердечных заболеваний».
Свой кардиостимулятор доктор Лидвелл продемонстрировал аудитории в виде чертежа, заметив при этом: «Как показано на рисунке, устройство требуется только включить в розетку, для его использования не требуется особого ума» (так и сказал: does not require very much intelligence). Один полюс прикладывается к подушечке на коже, например, на левой руке, и пропитывается крепким солевым раствором, а другой полюс, состоящий из иглы, изолированной за исключением ее острия, вводится в желудочек, и аппарат запускается. Возможно, потребуется изменить полярность полюсов, для этого есть переключатель. Когда к телу, которое кажется мертвым, подается ток, вся грудная клетка и рука сокращаются. Я думаю, что если бы эта машина использовалась, то она спасала бы жизни. Могут быть неудачи, но даже одна жизнь из пятидесяти или даже ста — большой прогресс там, где нет никакой надежды. За помощь в разработке этой новой машины я хотел бы поблагодарить майора Бута с физического факультета Сиднейского университета».
Здесь есть несколько нюансов, о которых, наверное, стоит сказать. Лидвелл уже знал, что надо в первую очередь подать ток на синусовый узел в правом предсердии, но как раз это не сработало, а сработала подача тока в желудочек, что вызвало оживление коллег доктора Лидвелла во время обсуждения его доклада. Они перечислили еще с десяток болезней, при которых умерших можно попробовать оживить с помощью его аппарата, но несколько раз возвращались к фибрилляции желудочков сердца. Все они наверняка знали, что причиной смерти (остановки сердца) у казненных на электрическом стуле является как раз фибрилляция сердечных желудочков, в свое время это было громкое научное открытие, не знать о котором они не могли. Да и по статистике смерть при сердечных заболеваниях гораздо чаще наступала в результате фибрилляцией желудочков, чем предсердий (по современной статистике в 35% случаев против 10% при фибрилляции предсердий).
Иными словами, они восприняли аппарат Лидвелла как дефибриллятор, если говорить современным языком. В известной мере он и был таковым, но одновременно он был и кардиостимулятором, и «водителем сердечного ритма» сердечных сокращений — cardiac pacemaker или herzschrittmacher, как его называют по-английски и по-немецки, что звучит более образно и гораздо точнее отражает суть этого аппарата, чем термин «кардиостимулятор», закрепившийся в русском и французском языках.
Кроме этого, положа руку на сердце, нельзя не признать, что опыты доктора Лидвелла на мертворожденных младенцах, вернее испытания на них его аппарата доктором Бриггсом из женской больницы, мало чем отличались от опытов Гальвани на лягушках. Об этом сейчас не принято вспоминать, но больница на Краун-стрит была создана и служила «для лечения и оказания акушерской помощи самым бедным и маргинализированным женщинам Сиднея» (цитата из официальной истории больницы). Лидвелл свой кардиостимулятор не запатентовал, вполне возможно как раз по этой причине, хотя один патент у него уже был — на наркозный аппарат, вдувавший эфир в легкие через трубку (австралийский патент № 1593/21, то есть 1921 года). Этот аппарат около 30 лет производила и продавала сиднейская компания Elliot Brothers, и сейчас наркозные аппараты такого типа применяются очень широко.
Во всяком случае, историки часто пишут, что Лидвелл всячески избегал публичности в том, что касалось его кардиостимулятора, хотя был человеком, известным всей Австралии, можно сказать гордостью нации. Знаменит он был тем, что в том же 1913 году, когда он построил свой наркозный аппарат, он первым в мире поймал на спиннинг черного марлина, да еще какого, весом в два пуда (32 кг)! Сейчас скелет этого марлина с табличкой под ним, что поймал его Марк Лидвелл, выставлен в главном музее Австралии, который раньше назывался Колониальным музеем, а сейчас Австралийском музеем.
Кардиолог Альберт Хайман из Манхэттенской больницы общего профиля (Manhattan General Hospital) не постеснялся подать заявку на патент на кардиостимулятор с интраторакальной иглой-электродом, очень похожий на лидвелловский. Историки до сих пор спорят, мог ли он знать об аппарате Лидвелла. Спор этот бессмысленный. Лидвеловский аппарат стал достоянием гласности в 1930 году, когда в Сиднее были опубликованы «Труды третьей сессии Австралийского медицинского конгресса», а в США в сентябрьском номере журнала «Anesthesia and Analgesia» вышла статья Лидвелла «Сердечные заболевания в связи с анестезией», где он упомянул про свой аппарат. Заявку на изобретение Хайман подал в марте 1930 года, причем после того, как оно прошло проверку на четырех десятках пациентов в его больнице.
Но сходство обоих аппаратов действительно было разительное. Стимулятор Хаймана отличался только тем, что его не включали в розетку. Он имел пружинный завод для собственного магнитоэлектрического генератора, то есть заводился вручную, что было мудрым решением. Мало ли в какой обстановке потребуется восстановить пациенту ритм сердца, не тащить же его к ближайшей розетке. А стимулятор Хаймана был вполне транспортабелен, весил всего 7,2 кг.
Интересно так же и то, что аппарат Хаймана сработал строго по теории проводящей системы сердца — при касании иглы-электрода синусового узла в правом предсердии, а вопреки нее, как у Лидвелла при введении иглы в желудочек сердца. В целом же, «аппендикс» к докладу Лидвелла на сиднейском конгрессе выглядит как готовая заявка на патент, которую он так и подал. А патентная заявка Хаймана — как краткая публичная лекция по электрической ритмике сердца человека. Собственно, она и была своего рода ликбезом по кардиологии для экспертов Патентного ведомства США. Правда, читали ее эксперты три года и три месяца, прежде чем выдали Хайману патент США №1913595 на «Искусственный водитель ритма для сердца» в июне 1933 года (с приоритетом от 12 марта 1930 г.)
«Настоящее изобретение относится к способу создания устройства для стимуляции сердца, которое перестало функционировать в результате несчастного случая, поражения электрическим током, отравления газом, эфирной анестезии или шока любого рода, и которое может быть обнаружено у мертворожденных младенцев, — пишет доктор Хайман в преамбуле своей патентной заявки. — Для лечения нормального сердца, остановившегося по любой из причин, указанных выше, использовались различные методы, и такие известные методы обычно включают инъекции определенных сердечных препаратов в сердечную мышцу или ее в окружение (перикард). Это лечение оказывается успешным в значительном проценте случаев, но реакция, по-видимому, обусловлена не столько используемым специальным сердечным средством, сколько реакцией сердечной мышцы, которая следует непосредственно за уколом иглы, предшествующим инъекции.
Мы основываем это предположение на том факте, что почти бесконечное количество и разнообразие веществ вызывают практически одинаковую реакцию. С учетом вышеизложенного основной задачей настоящего изобретения является стимуляция остановленного сердца посредством электрического тока, вводимого в сердце, посредством чего в сердце устанавливается искусственный водитель ритма его сокращений без использования органических или неорганических веществ.
Что касается способа осуществления нашего изобретения, то предполагается, что… из-за сильного шока или другой причины сердце перестало биться. Другими словами, естественный кардиостимулятор человека больше не запускает электрические импульсы в сердце. Предположим, что эти импульсы электрического тока определенного потенциала обычно разряжаются со скоростью 72 раза в минуту. После установления этих фактов известными способами, которые не являются частью данного изобретения, регулятор пульсатора прибора устанавливают на 72 и регулирует частоту вращения генераторного элемента для получения требуемого тока. Затем конец иглы, с которого снимаются эти импульсы тока, вводится в сердце при включенном токе. В результате игла, по которой подается необходимый ток, начинает поддерживать необходимый поток электрических импульсов к сердцу и стимулировать его к действию до тех пор, пока его естественный регулятор ритма не восстановит свою собственную мощность, достаточную для того, чтобы снова запустить нормальные электрические импульсы в сердце».
В марте 1933 года журнал Popular Mechanics с тиражом на тот момент 590 000 экземпляров опубликовал короткую заметку «Биение сердца восстанавливается с помощью электрифицированной иглы», представлявшую собой конспект патента Альберта Хаймана, что было неплохой рекламой для его кардиостимулятора. Но никто из инвесторов им не заинтересовался. Всего, как посчитали историки, было построено три его экземпляра с завлекательным торговым названием Hymanotor, в котором обыгрывалась фамилия изобретателя Хайман (Hyman). Стоило заменить в нем одну букву и получался Humanator («Гуманист»). Скорее всего причина незаинтересованности инвесторов была в довольно скромных результатах применения аппарата Хаймана как раз в роли водителя сердечного ритма. Оживлял он хорошо: за два года из 43 пациентов с остановившимся сердцем ожили 14, то есть каждый третий. Но всего двум пациентам с асистолией удалось поддерживать жизнь и то не дольше двух суток.
В годы Второй мировой войны моряки и летчики, оказавшиеся в холодной воде, умирали сотнями, и причиной их смерти было не утопление, а остановка сердца. Разумеется, это происходило и раньше, и не только во время войн. Но в научную медицину понятие терапевтической гипотермии вошло только в 1945 году. Почти сразу появилась и гипотермическая хирургия, сначала только для временной остановки кровообращения при внутричерепных операциях, а следом начали тестировать возможности ее применения при операциях на открытом сердце. В числе прочих этим занималась в Университете Торонто исследовательская группа из двух кардиохирургов Уилфреда Бигелоу и Джона Каллагана и инженера-электрика Джона Хоппса.
Операции на сердце собаках шли успешно, но при послеоперационном отогревании животного его сердце «просыпалось» слишком медленно, чтобы собака выжила. Тогда они пробовали электростимуляцию синусового узла, и все у них получилось. Про гипотермическую хирургию они сразу забыли, тут она была явно лишней и пошла своим путем дальше уже без них, а они разработали собственную версию кардиостимулятора. В 1951 году он прошел клиническое испытание на человеке и сейчас считается первым в мире внешним кардиостимулятором.
Иными словами, у них получилось то, что не вышло у их безымянного коллеги XVIII века из «Эссе» Чарлза Кайта, который не смог оживить замерзшего моряка. Хотя он был на правильном пути: у замерзшего моряка, которого он подверг кардиостимуляции с помощью лейденских банок, как помните, кровь брызнула фонтаном из надреза на яремной вене. На этот раз вместо лейденских банок у врачей был более надежный источник тока с биполярным электродом, подающим монофазные импульсы непосредственно в сердечную мышцу.
Подобный этому канадскому ЭКС образца 1951 года наш отечественный кардиостимулятор был сконструирован в 1959 году в НИИ экспериментальной хирургической аппаратуры и инструментов профессором Н.С. Джавадяном и инженером Б.Н. Ростовцевым. В сети легко можно найти 53-секундный ролик с записью операции на сердце с применением их кардиостимулятора и увидеть, как выглядели внешние ЭКС 1950-х годов. ЭКС такого типа в современном исполнении используются до сих пор для временной кардиостимуляции после операций на сердце.
Они могли только запустить остановившееся сердце и/или преподать одноразовый короткий урок правильного ритма больному сердцу, но насколько надолго, никто сказать не мог. Вскрывать каждый раз грудную клетку и снова прикладывать электроды к обнаженному сердцу было бы нонсенсом, хотя за неимением альтернативы иногда так и делали. ЭКС этого семейства, образно говоря, были стартерами, а не педалью водителя сердечного ритма. Кстати, в патентах того времени их часто так и именовали: «кардиостимулятор-дефибриллятор» или «кардиореаниматор» (cardiac resuscitator).
Самым очевидным неинвазивным путем был метод мистера Сквайрса, прикладывавшего электроды лейденской банки к груди пациента. Классическим образцом такого ЭКС стал PM-65 доктора Пола Золла из Beth Israel Deaconess Medical Center (BIDMC) в Бостоне. В 1958 году все ведущие мировые СМИ опубликовали снимок, на котором пожилой пациент катит перед собой больничную тележку с явно довольно увесистым ящиком ЭКС Золла, поверх которого стоит еще ламповый электрокардиограф. Пациента под руку поддерживает медсестра, а от тележки тянутся провода, вероятно, к электрической розетке. Водитель сердечного ритма Золла обеспечивал подачу импульсов переменного тока от 50 до 150 вольт с длительностью 2 мс на пару электродов площадью 3 кв. см, прикрепленных к груди пациента слева, непосредственно над сердцем.
На этом фото нельзя было увидеть струпья на его груди от прежних мест контактов электродов, их периодически надо было немного сдвигать, чтобы старые места зажили. И сами удары током были довольно болезненными. Еще более неприятные ощущения испытывали пациенты, которым электроды вводили в пищевод, где они касались того места, где пищевод прилегает к верхнему отделу перикарда (околосердечной сумке). Но это был уже настоящий водитель сердечного ритма, пусть неуклюжий, болезненный для пациента, управляемый вручную врачом или сестрой в зависимости от картинки на экране ЭКГ.
И тогда же возник вероятно, первый патентный конфликт в этой области изобретательства. Инженер Джон Хоппс, в самом начале 1950-х годов, сразу по окончании своей работы с Бигелоу и Каллаганом в Университете Торонто подал патентную заявку на внешний кардиостимулятор собственной конструкции. После весьма длительного ее рассмотрения, она была отклонена: мол, в его аппарате есть элементы, которые встречаются у доктора Золла из Бостона. Канадский Национальный исследовательский совет, крупнейший в Канаде государственный НИИ, где в то время работал Джон Хоппс, попробовал заступиться за него, выступив с заявлением, что если кто-то у кого-то и позаимствовал что-то, то Золл у Хоппса, а не наоборот. Но последствий для Хоппса это не имело.
Все было просто. В 1952 году первый «кардиостимулятор-дефибриллятор» доктора Золла выпустила в продажу Electrodyne Company из Норвуда, Массачусетс. Она же поставляла потом на рынок и все остальные аппараты доктора Золла и его коллеги по бостонской больнице инженера Алана Белгарда, купив у них права на это и их последующие изобретения. А в 1980 году появилась Zoll Medical Corporation, капитализация которой росла, как говорится, не по дням, а по часам, в 2012 году ее купила японская Asahi Kasei Corporation за 2,2 млрд долларов. В 1950-е годы рождался большой бизнес кардиостимуляции, со своими законами, собственной моралью и собственной мифологией, в которой Пол Золл был объявлен «отцом современной кардиотерапии».
В кардиологии во второй половине 1950-х годов окончательно сложился паззл природного стимулятора сердечных сокращений (проводящей системы сердца — ПСС), в том числе в ходе тестирования первых внешних кардиостимуляторов на открытом сердце. Стало понятно, какие именно участки миокарда надо стимулировать током, с какой частотой, с каким напряжением и с какой формой волны импульсов и в ответ на какие импульсы природного сердечного кардиостимулятора должны реагировать сенсоры ЭКС при том или ином типе сердечной аритмии. Как уже сказано, уточнения в этом плане идут до сих пор, но принципиальная электрическая схема искусственного ЭКС была вчерне готова для работы над ней как врачей, так и инженеров-электронщиков.
План работ тоже был более-менее ясен. Миниатюризация ЭКС и их автономность от сетевого источника питания для мобильности пациентов с ЭКС и в идеале для их имплантации в тело пациента, для чего в свою очередь требовался соответствующий по габаритам и емкости источник питания. Решение проблемы ожогов сердечной мышцы электродами и образования в месте их контакта с миокардом фиброзных наростов (наростов соединительной ткани, из-за которых миокард терял сигнал ЭКС), для чего требовалась соответствующая конструкция кончика электрода. Биосовместимость материала внешней стороны имплантируемого ЭКС, чтобы избежать его отторжения. И алгоритмы его действия хорошо бы было делать не настроенными раз и навсегда, а программируемыми, причем желательно прямо в теле пациента.
Во второй половине 1950-х годов кардиохирург, профессор университета Миннесоты Кларенс Лиллехей начал применять для подвода от внешнего кардиостимулятора к миокарду проволочки в тефлоновой оболочке, и он же вместе с инженером-электронщиком Эрлом Баккеном разработал в 1957 году первый транзисторный ЭКС, достаточно компактный и легкий для его ношения на ремне брюк или на шее, габаритами 10 х 6 х 2,5 см и весом 300 г. Он питался от ртутно-цинковой батарейки, рассчитанной на 1000 часов работы. Один из его трех проводов с электродами вживлялся в миокард для временной стимуляции, два других были накожными для длительной стимуляции.
Следующим шагом были трансвенозные электроды ЭКС, которые через крупные вены вводились непосредственно в сердце. Летом 1958 года это впервые было удачно выполнено кардиохирургом Сеймуром Фурманом и его ассистентом Джоном Швиделем в больнице Медицинского колледжа Альберта Эйнштейна в Бронксе. Пациенту, которому на время операции по удалению раковой опухоли толстой кишки нужно было перевести сердце на искусственную электростимуляцию, электрод с проводом от стационарного ЭКС был введен в вену руки на локтевом сгибе под рентгеновским аппаратом подведен к правому желудочку сердца, запустив его биение с заданной ЭКС частотой 60 ударов в минуту. Через два часа, когда операция по удалению опухоли закончилась, электрод вытянули через вену обратно без осложнений.
В том же 1958 году ЭКС был впервые имплантирован в тело человека в стокгольмской Каролинской больнице профессором Оке Сеннигом. Это был кардиостимулятор конструкции инженера Руне Элмквиста. Он был триодным, имел форму шайбы диаметром 5,5 см и толщиной 1,6 см с двумя электродными проводами, подведенными к миокарду, и питался от двух перезаряжаемых извне никель-кадмиевых батареек. У первого пациента, которому его вшил доктор Сенниг, он через пять часов вышел из строя, и пациент умер. Но у второго пациента с синдромом Стокса-Адамса по имени Арне Ларссон, 43 лет от роду, ЭКС Элмквиста работал успешно. А сам Арне Ларссон до своей смерти от рака в 2001 году прожил с кардиостимуляторами еще 43 года, меняя их один на другой, более новой модели, примерно раз в два года. Фактически он проносил у себя на груди вшитую под ключицей всю историю современной кардиостимуляции, а точнее тот ее отрезок с 1960-х до конца 1980-х, который часто называют «золотым веком» ЭКС или, как образно выразился, один из историков кардиологии, ее «систолическим периодом», когда в ее русло произошел выброс сотен изобретений и усовершенствований кардиостимулятора.
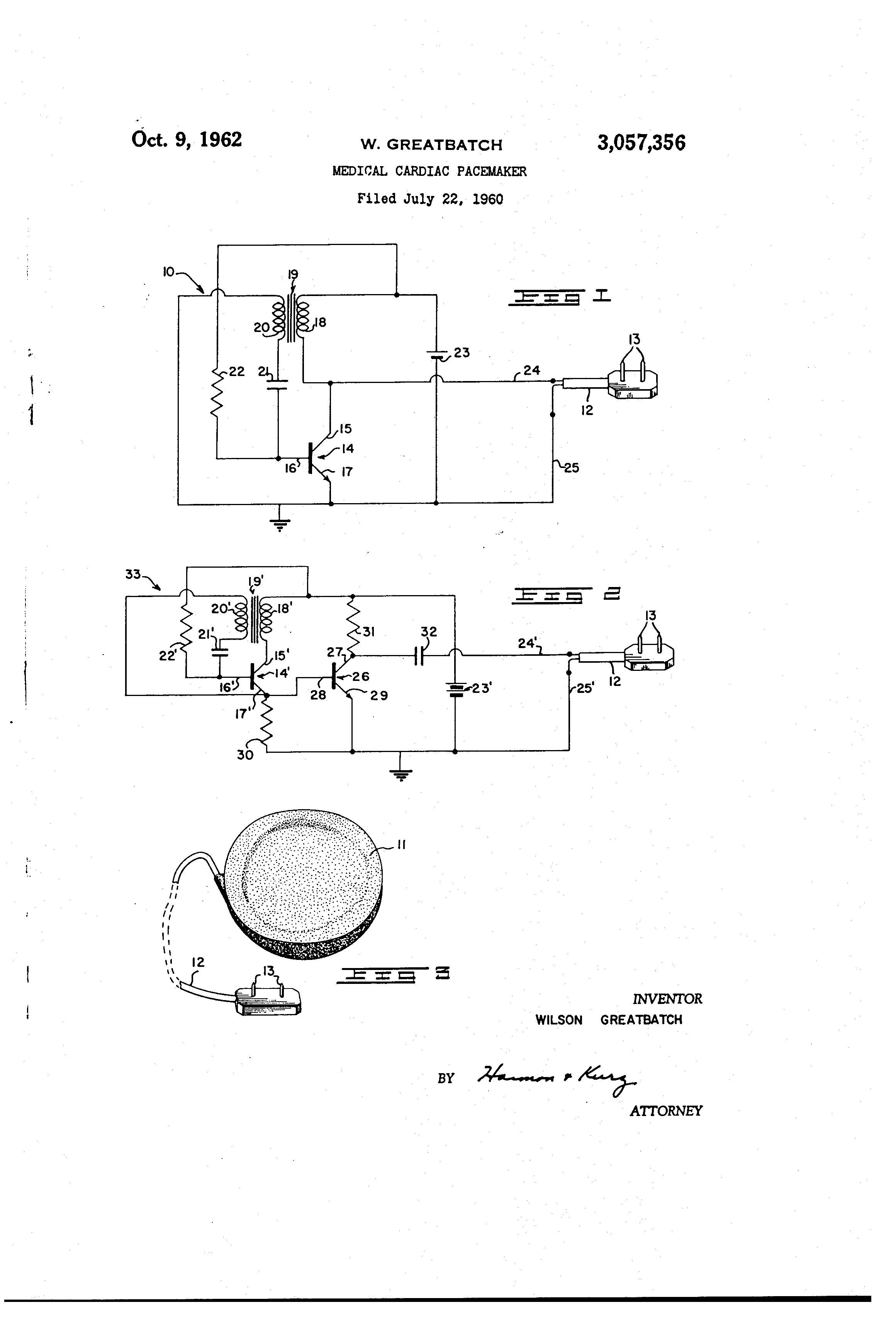
Одновременно с работой Сеннига и Элмквиста в стокгольмской Каролинской больнице в госпитале для ветеранов города Буффало, штат Нью-Йорк, аналогичные эксперименты вели кардиохирург Уильям Чардак и инженер-электрик университета Буффало Уилсон Грейтбатч. В 1962 году Грейтбатч получил патент США №3057356 (с приоритетом от 22 июля 1960 г.) на имплантируемый кардиостимулятор, очень похожий на шведский как внешне, так и по своей сути. Он был чуть больше и толще, не идеально круглый, а слегка овальный (6,8 х 6,5 х 2,4 см), но он был легче (120 г против 160 г). Корпус у него был серебряный, а не из белой жести, как у шведов, и залит, как и у них, слоем силиконовой резины. Что же касается его сути, то здесь было два кардинальных отличия. Электроды должны были стимулировать желудочки сердца, а не предсердие, а источник питания исключал какую-либо подзарядку, его замена происходит вместе с заменой самого стимулятора, для чего была разработана схема максимально низкого энергопотребления.
В 1980-е годы появились так называемые двухкамерные кардиостимуляторы, подающие импульсы в ПСС и на синусовый узел в предсердии и на атриовентрикулярный узлы в желудочке, а литий-ионные аккумуляторы имели достаточную емкость, чтобы поддерживать работу ЭКС годами, примирив таким образом концепции первого шведского и первого американского имплантируемых ЭКС. К слову сказать, Сенниг и Элмквист патентной заявки на свой имплантируемый кардиостимулятор не подавали. Говорят, что категорически воспротивился этому доктор Сенниг, он был старой закалки и считал, что патентовать подобные вещи аморально. Инженер Грейтбатч, это хорошо известно, был глубоко религиозным человеком и не раз в интервью говорил, что его изобретение «не было случайностью, Господь действовал через меня». Тем не менее, патент он получил, и этот патент теперь служит вехой начала «систолы» изобретений и усовершенствований ЭКС, которая длится и поныне.
Патентов было много и становилось все больше, что соответствовало запросам практики использования имплантируемых ЭКС (ИЭКС). Первые модели ИЭКС не мониторили собственную активность сердца, стимулируя желудочки с фиксированной частотой. В итоге могла возникать интерференция между ритмом ЭКС и собственным ритмом сердца. В середине 1960-х годов появились первые модели ИЭКС, способные определять собственную деятельность сердца и работать в режиме «по требованию». В 1970-х имплантируемые все ИЭКС стали программируемыми, а управлять ими попробовали радиочастотными сигналами. Параллельно шла миниатюризация ИЭКС, в конечном итоге они стали меньше по габаритам в три раза, по весу в 4-5 раз.
Надо сказать, что в шестидесятых и семидесятых годах прошлого века инженерная мысль в нашей стране держалась вровень с мировыми лидерами в этой области. В декабре 1961 года академик Бакулев вшил первой пациентке отечественный стимулятор ЭКС-2 («Москит»), фактически аналог ИЭКС Грейтбатча. Его серийное производство началось в 1962 году За последующие десять лет было создано еще 15 более совершенных и специализированных моделей ИЭКС, а в марте 1975 года пациенту был имплантирован «вечный» кардиостимулятор РЭКС-А1 с радиоизотопным источником питания (Pu-238). Операцию по его вшиванию провел лично министр здравоохранения СССР академик Петровский.
К сожалению, в 1980-е годы обстановка в этой области инженерии и изобретательства изменилась. Кардиостимуляция уже была большим бизнесом, разработка и производство ИЭКС было довольно дорогим удовольствием. У нас же эта медицинская отрасль в 1981 году подпала под решение XXVI съезда КПСС о том, что «экономика должна быть экономной», и отечественные инженеры и изобретатели поневоле занялись обратным инжинирингом новых зарубежных моделей ИЭКС, адаптируя их к имеющимся производственным мощностям. Что было дальше, все знают.
В итоге, годовой объем мирового рынка ИЭКС достиг $5 млрд, а на российском рынке, по данным 2022 года (более поздних данных нет), доля импортных кардиостимуляторов составляла 93%. Только в последние годы ситуация начала меняться в связи с проблемами импорта. Наверное, самое время вернутся в высшую лигу производителей ЭКС, прошлое обязывает.
Больше контента о сфере интеллектуальной собственности в нашем Telegram-канале
Автор: sokolovps
