Макс Вэйн, Мистер Хьюлет и дождливый воскресный день.
Предисловие переводчика – вот тот, в общем то, не слишком частый случай, когда я испытываю жгучую зависть к автору и досаду от того, что родился не там, где следовало бы и не тогда, когда надо было бы. Надеюсь, многие читатели Хабра испытают, по крайней мере, первую половину этих чувств при прочтении этой поистине восхитительной статьи и будут снисходительны к огрехам перевода. Выложить ссылку на оригинал, как положено для перевода, я, к сожалению, не могу, поскольку статья входит в совершенно потрясающую книгу «Analog Circuit Design: Art, Science, and Personalities», где я ее взял, я Вам не скажу, но надеюсь, Вы догадались, где ее можно найти.
Ну а теперь собственно перевод. Там будут картинки, но не для привлечения внимание, а просто без них никак.
Одним дождливым воскресеньем после обеда я обнаружил, что мне нечем заняться. Мне всегда нравились дождливые воскресенья, которые дают много свободного времени. Так что я побрел в свою лабораторию (настоящий дом невозможен без лаборатории).
Я пробежал взглядом по нескольким макеткам в различной степени неработоспособности и нескольким недавно купленным мощным транзисторам, которые следовало убрать с глаз долой. Они меня нисколько не вдохновили. Лениво оглядывая окружающее, я обратил внимание на хранилище инструментов. Слева на третьей полке лежал генератор HP серии 200 (настоящая лаборатория невозможна без этого генератора, см. рис. 1).

HP200, непосредственно основанный на диссертации со-основателя фирмы HP Вилльяма Р. Хьюлетта, это не только замечательный прибор. И это не просто первый продукт фирмы HP(1). Этот прибор — сама история. Он заложил направление, методы и стандарты, которыми отвечает продукция фирмы НР по сей день. Это фундаментальная честность устройства, чувство надёжности и целостности. Эта небольшая коробка — выдающийся сплав элегантных теоретических идей, продуманной разработки, аккуратного конструирования, тщательного производства и капитализма. Он прекрасно отвечал требованиям рынка. Выгода от него была потрясающей, и в равной степени разделена между фирмой и покупателями. Как говаривала моя мама, НР 200 сделан именно так, как должны делаться вещи — хорошие парни выигрывают и никто не проигрывает.
Копаясь в библиотеке (настоящая лаборатория невозможна без библиотеки), я нашёл копию Станфордской диссертации 1939 г. Вильяма Р. Хьюлетта " Новый тип резистивно-ёмкостного генератора"(настоящая библиотека невозможна без этой статьи).
Хьюлетт кратко сформулировал цели диссертации (кроме получения степени): «Автор считает, что существует реальная потребность в новом типе генератора, который совместит стабильность LC-генераторов с гибкостью генераторов с переносом частоты, и при этом останется лёгкими, портативными и простыми в конструировании и настройке».
Генератор Хьюлетта использовал резонансную RC-цепь, изобретённую Максом Вином в 1891 г. У Вина не было электронных усилительных приборов (Де Форест в 1891 ещё и не задумывался о добавлении сетки в лампу Эдисона) поэтому он не мог создать генератор. В любом случае, Вин занимался другими проблемами и разработал свою схему для мостовых измерений на переменном токе.
Хьюлетт увидел, что мост Вина, в сочетании с соответствующим образом управляемым электронным усилением, даёт значительные преимущества по сравнению с ранее используемыми методами построения генераторов. Это расширенный диапазон перестройки, стабильность частоты и амплитуды, малые искажения и простота.
Хьюлетту было доступно ещё кое-что кроме электронных усилительных приборов: у него были новые подходы в теории обратной связи. Ссылка на пионерую работу Харольда С Блэка «Стабилизированные усилители с обратной связью» стоит в четвертой строке библиографии. Аналогично, работа Найквиста «Теория регенерации», классическое описание условий, необходимых для генерации, стоит на третьей строке.
Хьюлетт использовал все вышеперечисленное, чтобы показать, что схема Вина может быть использована для генерации. Затем он добавил единственный (абсолютно буквально) критический элемент.
Для получения стабильных синусоидальных колебаний усиление генератора необходимо тщательно контролировать. Если усиление недостаточно, генерация не происходит. Если оно избыточно, амплитуда колебаний нарастает и выходной сигнал становится прямоугольным. Задача состоит в том, чтобы ввести механизм регулировки амплитуды, не вносящий заметных искажений в форму сигнала.
Хьюлетт предлагает элегантное решение:
«Последнее требование, устройство ограничения амплитуды, которое не вносит искажений в выходной сигнал, достаточно сложно выполнить. Известно, что усиление усилителя с ООС составляет 1/b, при условии A*b>>1. Следовательно, если сопротивление, значение которого увеличивается при увеличении тока через него, использовать в цепи ООС, усилитель можно спроектировать так, чтобы его усиление уменьшалось при увеличении входного сигнала. Если усилитель такого типа использовать, как часть генератора, его усиление можно настроить таким образом, чтобы генерация только начиналась.
Когда амплитуда колебаний станет нарастать, усиление уменьшиться, что приведёт к стабилизации амплитуды колебаний на определённом уровне. Если это значение будет достаточно низким, лампы будут работать в классе А и не вносить больших искажений. Более того, любые искажения из-за нелинейности ВАХ ламп будут уменьшены в A*b раз благодаря действию ООС.
В качестве изменяемого сопротивления можно использовать небольшую лампу накаливания. Хорошо известным свойством такой лампы является разогрев нити при повышении тока через нее, что приводит к увеличению сопротивления нити накаливания. На рис.2 показаны зависимости сопротивления лампы 110 вольт 6 ватт от тока через неё.
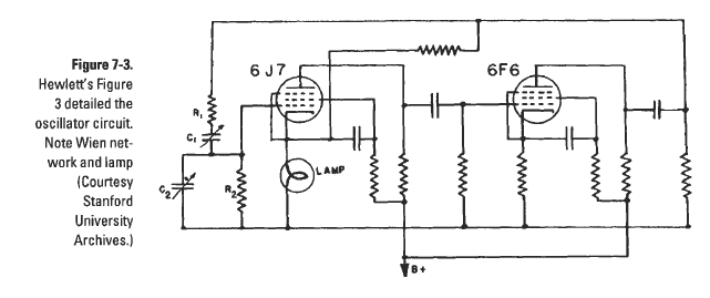
Очевидно, что максимальная степень изменения сопротивления достигается при токах менее 20 ма, и для получения максимального стабилизирующего эффекта лампа должна работать в этой области. На рис. 3 показана полная схема генератора.

Сигнал ООС снимается с анода выходной лампы и подаётся на катод входной лампы. Лампа накаливания установлена между катодом и землёй, так что глубина ООС увеличивается и усиление падает при росте амплитуды колебаний.

Единственное требование к лампе состоит в том, чтобы она работала при такой температуре, чтобы её тепловая постоянная времени была намного больше, чем половина периода минимальной частоты генерации. Поскольку тепловое излучение пропорционально 4 степени абсолютной температуры и большая часть энергии рассеивается излучением, это требование легко выполняется запретом использования больших токов. В этом случае срок службы лампы практически бесконечный».
Использование Хьюлеттом лампы накаливания элегантно в связи с простотой решения 2). Что еще важнее, оно представляет собой прекрасный пример глубокого . Проблема в целом была рассмотрена как комплексная, не только с точки зрения электроники. А это признак превосходного решения проблемы и хорошей инженерии.
Лампа решила сложную проблему полностью, создав условия для построения практичного прибора. Разработка была очень хороша. Генератор перекрывал диапазон от 20 до 20000 циклов (тогда были циклы, а не Герцы) в трех декадах с точностью калибровки в 1%. Лампа накаливания обеспечивала стабильность амплитуды 0.2% на 100 Гц и неравномерность в 1дб в диапазоне от 20 до 20000 циклов. Заглянув внутрь моего НР201, я увидел лампу накаливания именно там, где Хьюлетт или один из его ассистентов ее оставил.
Из рис.4 видно, что искажения генератора не превышают 0.5% во всём диапазоне. Этот график привлек моё внимание. По современным стандартам «операционный усилитель» Хьюлетта на лампах 6J7/6F6 имеет весьма плохие параметры 3). Я задумался, насколько хороша будет схема Хьюлетта на современных ОУ?
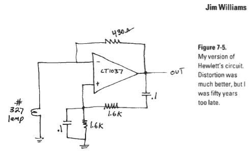
И вот, через 50 лет после того, как Хьюлетт сделал свой генератор, я собрал на макетке генератор, чтобы заполнить этот дождливый воскресный день. Моя схема показана на рис. 5.

Схема совпадает со схемой Хьюлетта, за исключением того, что я использовал 94 монолитными транзистора, резистора и конденсатора вместо двух ламп 4). ( Я думаю, что это и означает прогресс). После подбора резистора 430ом схема выдала симпатичный синус. Подключив мой (HP) измеритель искажений, я с большим удовольствием наблюдал всего лишь 0.0025% искажения. — рис. 6.

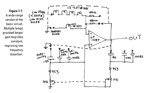
Затем я пошел дальше и добавил переключение диапазонов рис. 7.

Эта схема тоже работала хорошо. Как и предупреждал Хьюлетт, искажения увеличивались при приближении частоты колебания к тепловой постоянной времени лампы. Этот эффект может быть ослаблен за счёт увеличения тепловой постоянной. Саый простой путь сделать это – добавить побольше и покрупнее ламп. Это приводит к увеличению времени стабилизации, но уменьшает искажения в установившемся режиме. График зависимости искажений от частоты это ясно показывает -см. рис 8.

Рассматривая этот график, я задался вопросом, насколько можно улучшить цифры искажений, используя гипотезы и результаты Хьюлетта как руководство. Эксперимент с использованием нескольких ламп показал, что рост искажений на нижних частотах почти полность определяется тепловой постоянной времени лампы. Но что вызвало небольшой подьём искажений на участке 15-20кГц? И что ограничивает уменьшение искажений? Выяснение всего этого до конца — вот отличный путь не попасть под дождь. И конечно, я не мог игнорировать тот факт, что нахожусь очень близко к порогу чувствительности моего анализатора 0.0018%. Не стоит волноваться.
Следующая схема показана на рис. 7-9.

А1, малошумящий широкополосный усилитель — это генератор. Уменьшенный номинал переменника позволяет получить низкий уровень шума за счет уменьшения вклада шума входного тока ОУ. Конденсатор в 10 пФ подавляет паразитную высокочастотную генерацию. А2 и компоненты вокруг него заменяют лампу(лампы) накаливания. А2 сравнивает пиковое напряжение на выходе генератора с опорным напряжением и управляет Q1 для получения нужного усиления. Диод последовательно с опорным напряжением компенсирует падение на выпрямительном диоде. Большой конденсатор в цепи ОС А2 позволяет получить большую постоянную времени, минимизируя выходные пульсации.
Когда я включил эту схему, она генерировала, но искажения увеличились до чудовищных 0.15%! Выход анализатора показывал ярко выраженную вторую гармонику (в два раза выше частоты генератора), хотя выход А2 выглядел относительно чисто — см. рис.10.

Итак, мне сошла с рук замена 2 лампы на 94 транзистора, конденсатора и резистора, но замена одной лампы накаливания кучей деталек — это совсем другое дело! Я сконфуженно посмотрел на заброшенную лампу накаливания.
Что же произошло? Мост Вина остался тем же, и трудно поверить, что А1 настолько плох. На выходе А2 были видны остаточные пульсации выпрямителя, но ничего, что могло бы спровоцировать появление такого монстра.
Виноватым оказывался Q1. Сопротивление канала FET в идеале определяется напряжением затвор-канал. В реальности, имеет место небольшая модуляция сопротивления канала при изменении напряжения сток-исток. К несчастью, сток Q1 находится под значительным переменным напряжением. На затворе почти постоянное напряжение, исток заземлён. Это вызывает нежелательную модуляцию петли стабилизации амплитуды, приводя к искажениям. Простая лампочка накаливания начинала выглядеть все более привлекательно.
Если вы будете смотреть на схему достаточно долго, то увидите, что необходимое лекарство существует в самой схеме и оно (слава Богу) достаточно простое. FET является симметричной структурой, хотя в данной схеме напряжение управления приложено асимметрично от затвора к истоку. Если вы измените схему таким образом, чтобы затвор управлялся сигналом, равным половине напряжения сток-исток, симметрия будет восстановлена. Такое нововведение устраняет все чётные гармоники. Новая схема включения Q1 приведена на рис.11.

При подстройке триммера в оптимальное положение, искажения упали до 0.0018% — нижний предел анализатора по спецификации рис.12.

Надеясь на то, что мой анализатор лучше, чем указано в его спецификации, я посмотрел, о чём свидетельствует его выходной сигнал. Мы видим некоторое влияние первой гармоники и артефакты, связанные с пульсации выпрямленного напряжения петли АРУ. Уменьшить первую гармонику подстройкой резистора, хотя увеличением постоянной времени интегратора А2 можно уменьшить пульсации выпрямителя.
Я не люблю подстроечники, да и электролит в цепи ООС А2 выглядит слишком большим. Также А2 – это не настоящий интегратор и имеет усиление по шумам с неинвертирующего входа. Это выглядит более раздражающим, чем очевидно важным. Неприятен и тот факт, что если выход A2 будет положительным (например, при включении), то электролит будет обратно смещён. Это не имеет отношения к делу, но является плохими стилем!
Следующая итерация схемы — это попытка решить некоторые из этих проблем см. рис.13.
Наиболее значимое изменение — Q1 заменён на фоторезистор. Этот прибор не имеет паразитной модуляции сопротивления, что позволяет исключить подстроечник из схемы. А2 запитан от однополярного источника и включен как настоящий интегратор. Номиналы компонентов в цепи ОС интегратора изменены в попытке получить большую временную постоянную и меньшее время установления. Наконец, опорное напряжение интегратора увеличено для увеличения влияния на амплитуду выходного сигнала. Это известный метод грубой силы для увеличения SNR.
Этот эксперимент дал полезную информацию — см. рис. 13.

Модификация А2 исключила прохождение пульсаций выпрямителя. Фоторезистор на самом деле работал, и я закинул подстроечник в дальний угол. Анализатор показывал 0.0015%, но я не был уверен, что смог воспринять это «улучшение» всерьёз. Интересно, что вторая гармоника искажений выглядела так же, как в предыдущей схеме, возможно менее шумно. Она немного увеличивалась с увеличением частоты и более-менее была пропорциональна выходной амплитуде. Анализатор выдавал цифру на несколько миллионных долей (ppm) ниже при большей выходной амплитуде, но я решил, что это из-за SNR в генераторе, анализаторе или в них обоих.
Но стало ясно, что ключ к тому, чтобы выжать из этой схемы всё возможное — понять источник второй гармоники. Схема говорила мне о чём-то, я пытался услышать, но не слышал рис.14.

Все ранее сделанное исключало из подозрения петлю АРУ. Оставался мост Вина, А1, и паразитные элементы, не присутствующие на схеме, как основные подозреваемые.
Я рассматривал возможное изменение элементов моста Вина — коэффициент напряжения резисторов, ESR и диэлектрическую абсорбцию конденсаторов. Иногда, если вы не знаете, как сделать что-то лучше, вы можете многое понять, делая что-то хуже. Поэтому я добавил небольшие контролируемые паразитные RC-цепи к элементам моста Вейна, чтобы проверить чувствительность схемы к паразитным составляющим и к не-идеальности компонентов. Я понял, что относительно хорошие резисторы и конденсаторы на являлись источником проблемы. Различные версии компонентов моста Вейна приемлемого качества приводили к одинаковым результатам.
Вроде бы оставался единственного виновника — А1. Коэффициент усиления ОУ без ОС, уменьшающийся с частотой, мог быть проблемой, поэтому я решил добавить выходной буфер, чтобы разгрузить ОУ. Это было единственное, что я мог сделать для увеличения усиления.
Теперь, когда у меня был ордер на арест А1, ответ быстро стал очевидным. Моя схема нарушила малоизвестный принцип построения прецезионных схем на ОУ: правило Вильямса. Правило Вильямса просто: ВСЕГДА ИНВЕРТИРУЙ (кроме тех случаев, когда совсем не можешь). Это правило, провозглашённое после бесчисленных войн с причудливыми, непостижимыми и трудноустранимыми эффектами в многочисленных схемах, было придумано, чтобы исключить скользкие результаты неидеального подавления синфазного напряжения в ОУ. Эффект, вызванные синфазными напряжениями, часто трудно предсказать и обнаружить, не говоря уж о том, чтобы исправлять. Суммирующая точка с нулевым потенциалом — очень дружественное, очень надёжное место. Она (обычно) предсказуема, математически понятна и неуязвима для коварных драконов синфазного режима.
У всех существующих ОУ коэффициент подавления синфазного напряжения (CMRR) падает с ростом частоты, и А1 не исключение. График зависимости CMRR от частоты показан на рис.15.

В схеме генератора на входах А1 присутствует большое синфазное напряжение. Так как CMRR падает с ростом частоты, не удивительно, что я видел некоторое увеличение искажений на высоких частотах. Это выглядело как минимум как правдоподобное объяснение. Теперь я должен был проверить эту идею. Чтобы сделать это, нужно было привести схему в соответствие с правилом Вильямса. Привязка неинвертирующего входа А1 к земле выглядит как излишняя жертва для нашей схемы.
Я рассматривал различные странные схемы для решения этой задачи. Один из таких ужасов – развязка моста Вина и входа А1 через трансформатор. Этот подход не просто некрасив, вполне вероятно, что в определенных местах он будет признан непристойным. Я даже не стал рисовать такую схему, чтобы издателя этой книги не смогли вызвать в суд группы фанатов ОУ-фундаменталистов. Даже если бы я заставил эту нескладную схему работать, я просто чувствовал, что так делать нельзя. Я почти слышал, как простая, маленькая элегантная лампочка накаливания Хьюлетта, которая так хорошо работала, смеется надо мной.
Где-то в уважаемом руководстве по применению от фирмы Philbrick говорится: «Всегда есть выход». Последняя схема показывает, что он есть – рис.16.

Эта схема похожа на предыдущую, за исключением А3, который появился вместе с буфером А4. А3 привязывает не-инвертирующий вход А1 к виртуальной земле за счёт перемещения тех узлов моста Вина и схемы АРУ, которые ранее были привязаны к земле. Этим мы добавляем третьий управляющий контур в исходную схему Хьюлетта (это будет очень занятый генератор — бедная несчастная А1, слуга трех господ), но не оказываем негативного воздействия на его работу. Когда не-инвертирующий вход А1 привязан к виртуальной земле, синфазная составляющая на её входах отсутствует. Схема стала удовлетворять правилу Вильямса, и, скорее всего, должны начаться хорошие вещи.
К моему огромному изумлению, вся эта штука не взорвалась, когда в конце концов я взял себя в руки и включил питание. Но ещё более поразительным было то, что анализатор показал 0.0008% искажений — рис. 17.
На выходе анализатора виден только слабый след первой гармоники и шум. Анализатора показывал значения в два раза меньшие, чем нижний измеряемый порог искажений по спецификации, что доставляло. Хотя и маловероятно, чтобы генератор и анализатор имели компенсирующиеся ошибки, делать выводы было рано. И я решил обратиться к весьма специализированному оборудованию, чтобы узнать истину. Я отнёс генератор на Audio Precision System One, где были измерены искажения и они составили 0.0003% (3ppm или -110дб).
Я был очень доволен тем, что нам не удалось обнаружить ничего выше этого уровня.
После того, как Хьюлетт закончил свой генератор, они вместе с Дэвидом Паккардом пошли в гараж и собрали там ещё несколько штук, а затем сделали ещё несколько различных измерительных приборов — см. рис 18.

После того, как я закончил мой генератор, я пошёл на кухню и сделал несколько хот-догов на обед (горчица, соус чили, без фасоли) и потом ещё всякой разной еды. Так что, Хьюлетт был не только намного умнее меня, у него также были и другие приоритеты. Однако, когда в конечном счёте ему приходилось идти обедать, я думаю, у него был прекрасный аппетит. И мои хот-доги были на вкус очень хороши.
1) Кроме того, между прочим, их самый долго-живущий продукт. Серия HP2000 продолжала продаваться до середины 80, почти 50 лет.
2) Хьюлет заимствовал эту технологию у Meacham, который предложил ее в 1938 году как способ стабилизации кварцевого генератора. Соответствующая работа приведена в ссылке номер пять к диссертации.
3) С позиций тех лет, 6J6 и 6F6 это термоэмиссионные FET, разработанные Ли Де Форестом.
4) Чтобы быть точным, 50 транзисторов, 40 резисторов и 4 конденсатора в этой схеме.
От переводчика — ну и в заключение, чисто для смеха, еще одна картинка из того же гаража — клянусь, она именно в таком виде лежит на официальном сайте, я ее не ретушировал.

Автор: GarryC
