
Самодельный DC-AC преобразователь на базе накального трансформатора.
После нескольких видео, а затем и статьи Артёма Кашканова aka radiolok "Электролюминесцентные индикаторы из прошлого" я тоже загорелся поиграться с таким способом отображения информации. Если управление этими индикаторами понятно, как реализовывать, то вот как получить переменное высокое напряжение не всегда очевидно. Мало того что напряжение должно быть 220 В, так оно должно быть и частоты 400 Гц, а то и 1200 Гц. По сути нам нужен DC-AC, повышающий преобразователь, с гибким подбором частоты и желательно напряжения. Беглое гугление не всегда даёт ответ на этот вопрос, и я решил сделать серию своих экспериментов, чтобы найти самый простой и доступный источник. Цель достаточно простая: сделать повышающий источник напряжения.
Вообще, думал, что я так, несколько часов поиграюсь и найду оптимальное решение. Как обычно это вылилось в неделю исследований и получился весьма интересный материал. В статье очень много фотографий, есть основы электротехники и программирование.
▍ С чего всё начиналось
Впервые я столкнулся с электролюминесцентными индикаторами (далее по тексту ЭЛИ) ещё в детстве, когда дядя показывал, как он работает, просто тыкая проводами в розетку. Но тогда ни знаний, ни умения у меня не было, но желание разобраться с ними осталось. Затем radiolok на своём лайв-канале начал выкладывать кучу видео, про его эксперименты с данными индикаторами. В результате я загорелся и купил несколько индикаторов ИЭЛ-0-IX 131-27. Индикаторы БУ, работоспособность их неизвестна, и как проверить тоже непонятно. Питание для них требуется ~220В 400Гц, а лучше всего 1200Гц 180В. Первая мысль — это попробовать сунуть в розетку, для проверки работоспособности. Когда я сделал это, то у меня на глазах тут же случился пробой одного сегмента, потому что в розетке у нас по стандарту 230 В, а амплитудное значение будет выше уже не на 10 В, а на 14! Почему так происходит, разберёмся чуть позже. В результате я встал перед проблемой создания своего регулируемого источника питания для этих устройств.

Устройства индикации, где нужно высокое напряжение.
На самом деле, не только ЭЛИ требуют высокого напряжения, но и, например, электронная светобумага (aka EL paper), тоже требует для своего питания высокое переменное напряжение, и по сути тоже является ЭЛИ, только без рисунка. Она на фото слева. Неоновые лампы тоже питаются от высокого напряжения, но если для неоновой лампочки не очень важно, какое оно постоянное или переменное, то для газоразрядной индикаторной лампы ИН-12А, я всё же рекомендую использовать постоянное напряжение. При переменном, начинаются ёмкостные эффекты, и разряд “перескакивает” с цифры на цифру.
Резюмируя: необходимо сделать источник переменного напряжения, с выходной частотой 400 Гц и действующим значением напряжения 220 В.
▍ Важно!

Прежде чем мы пойдём дальше, вы должны чётко понимать, что 220 В — это не шутки, напряжение вполне способно убить человека (точнее создать ток, который будет смертельным). Хоть источник напряжения будет гальванически развязан с сетью, и потенциальная мощность источника небольшая, вероятность получить поражение электрическим током очень высокая.
Если вы будете проделывать аналогичные опыты, пожалуйста, соблюдайте все меры предосторожности — это очень опасно!
▍ Немного теории
Прежде чем мы перейдём к опытам, надо разобраться с одним важным, на мой взгляд, моментом: действующим значением напряжения.
Необходимо чётко различать действующее значение напряжения (тока), и амплитудное значение напряжения. Обычно, по умолчанию, указывается действующее значение напряжения. На хабре была великолепная статья "Что показывает вольтметр, или математика розетки", которая объясняет что же это такое. Подробно останавливаться на этом не буду, но приведу шикарную иллюстрацию из книги Расовский Э.И. «Основы электротехники(Электротехника в рисунках и чертежах)» 1952 г.в. (книжку рекомендую хотя бы полистать, она крутая).

Таким образом, для синусоидального напряжения, действующее значение будет меньше в корень из двух раз амплитудного.
Например, для напряжения 220 В, амплитудное значение (величина от нуля до максимального пика), будет равна:
311 вольт! А если вспомнить, что согласно ГОСТ 29322-2014 у нас в сети 230 В, то получается, что амплитудное значение у нас будет 325 В! Именно поэтому, индикатор, который работает на пределе пробивного напряжения легко пробивается напряжением из розетки, которое на 14 В больше номинала. Кстати, именно поэтому изоляцию и конденсаторы надо подбирать исходя из амплитудного значения напряжения.
Теперь ещё интересный факт, если напряжение представляет собой прямоугольный сигнал (меандр), то у него действующее значение напряжения равно амплитудному:
Данная формула справедлива для меандра!
Что это значит в данных экспериментах: Если напряжение синусоидальное, то его амплитудное значение надо вычислять из показаний вольтметра, умножая на корень из двух. Если напряжение меандр, то показания вольтметра и будут амплитудным значением. Если напряжение хитрой формы, то регистрировать сигнал на осциллографе и смотреть амплитуду уже на нём. В своих экспериментах все этапы контролировались осциллографом.
Надеюсь не утомил теорией.
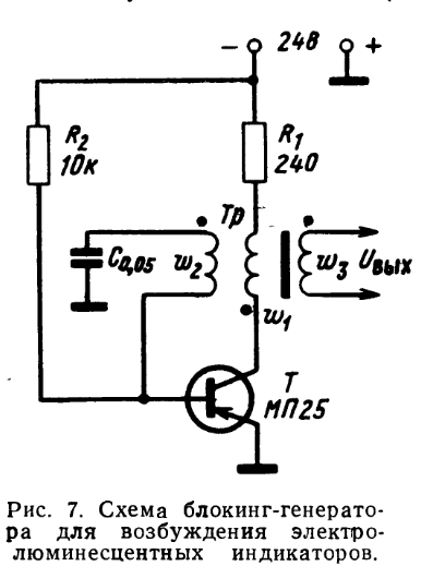
▍ Блокинг-генератор
На этот источник напряжения я возлагал самые большие надежды, он очень прост, миниатюрен, и требует минимального количества деталей. Единственное, что ему требуется дефицитный трансформатор ТН30-220-400 или необходимо мотать трансформатор самостоятельно. Трансформатор, к счастью, удалось найти на блошином аукционе, где-то в Омске.
Всё началось с комментария radiolok
…
Но блокинг-генератор с этим вполне справится. Я решил взять за основу трансформатор ТН30-220-400. 4 обмотки по 6.3В будут в роли первички, 13.5Вт выходной мощности, железо уже рассчитано на 400Гц.
Ниже в ветке было пояснение:
транзистор Т2 и далее — выкидываем, в качестве Тр1 ставим ТН30-220-400. из 4-х обмоток на 6.3в три штуки параллелим — это будет основная w2, вторую — на ОС(w1) бывшая первичка станет вторичкой. Питание будет уже 5-6В.
Скажу сразу, что в объединении обмоток смысла не оказалось, это никак не влияет на работу схемы (что логично), а ток ограничивается резистором (R1 на схеме ниже), и он даже в самом худшем случае не будет превышать номинального тока одной обмотки. Но я честно проверил этот вариант, объединял обмотки, потом разъединял (ну надо же проверить гипотезу).
Чтобы не путать читателя, я приведу другую, более наглядную схему из той же книги А.В. Касименко «Электролюминесцентные буквенно-цифровые индикаторы».

Напряжение питания у меня регулируемое. Резистор R1 ограничивает ток, который протекает через обмотку трансформатора и транзистор. Резистор R2 и конденсатор C определяет период работы этого генератора, по следующей формуле (из той же книги):
Таким образом, частота получается:
Если взять резистор R2 = 50к, конденсатор оставить таким же, то в результате мы получим частоту 400 Гц, как нам и нужно. Когда я подбирал транзистор, то не особо морочился, открыл известный сайт и выбрал первый попавшийся на глаза транзистор NPN на 140 МГц, 160 В, 1,5 А — 2SB649AC.
Хочу отметить один момент, что в указанной выше книге используются самодельные трансформаторы, с определёнными параметрами, а не заводские решения. В целом, намотать трансформатор проблем нет, нужно только время и терпение. Однако, у меня нету ни феррита, ни намоточного провода, ни терпения, поэтому решил обойтись тем что есть.
Приведу схему трансформатора ТН30-220-400. Обратите внимание на точки в схеме блокинг-генератора из книги, и на точки в схеме трансформатора. Если включить их в противофазе, то работать не будет.

Схема трансформатора.
В качестве обмотки W1 выступала обмотка 3-4, в качестве обмотки W2 — обмотка 5-6. Вторичная обмотка W3, соответственно 1-2. На выходе обмотки я поставил токоограничивающий резистор 1 кОм.
Собираем всю схему на макетке и проводим испытания. Сколько я не бился, с параметрами резистора R2 и конденсатора, дающие 400 Гц, у меня не удалось зажечь ни одного сегмента ЭЛИ, только пробитые единичные точки иногда зажигались. Единственное, что удалось хоть как-то зажечь, была неоновая лампочка.

Слабо светится неоновая лампа.
Видны одиночные импульсы, период между ними в действительности 400 Гц, но очень большой период просто тишины. Как я понял, это определяется индуктивностью обмотки, потому что параметры резистора-конденсатора определяли только периодичность следования импульсов. Провозившись несколько вечеров с этой простенькой схемой, пришёл к номиналам R2 = 10 кОм (как в схеме из книги в данном посте), — это 20 кГц частота, которую выдаёт генератор, и она на пределе частоты пропускной способности трансформатора. При этих номиналах, мне удалось даже зажечь индикаторную лампу ИН-12А.

Осциллограмма полученного сигнала следующая (стоит делитель 1:10).

На самом деле, только об одном блокинг генераторе можно было бы написать отдельную статью, с кучей измерений, осциллограмм и прочего. Но я не получил с него сколь-нибудь вменяемого результата, при всей простоте решения. Скорее всего не подходит трансформатор под данную задачу, возможно я что-то делал не так. В любом случае выходной ток невероятно мал, и напряжение просаживается от любой минимальной нагрузки, даже такой, как один сегмент ИЭЛ.
▍ DC-AC преобразователь на Arduino
В результате этой неудачи, я подумал, что ведь всё равно индикаторами надо как-то управлять и желать это всё, скорее всего, буду с помощью микроконтроллера. Раз это так, то почему бы контроллеру не заниматься генерацией высокого напряжения? Гениально! В отличие от предыдущего решения, на которое я потратил несколько вечеров, на это решение я потратил полчаса, учитывая написание кода.
Для его реализации, я отпаял от трансформатора все провода, взял плату от проекта первичных часов “Стрела” и сделал из них простейший DC-AC преобразователь. По сути, с частотой 800 Гц по очереди подаю на обмотку трансформатора в разном направлении номинальное напряжение. Обращаю внимание, что подаю я на обмотку 6,3 В, а снимаю с обмотки высокого напряжения.
Код я выложил на гит, чтобы не загромождать статью.
И это решение заработало сразу, на нём у меня сразу светились все мои индикаторы.



Свечение электронной бумаги, неонки и ЭЛИ.
Действующее значение напряжения (то, которое измеряет вольтметр), даже находится в пределах нормы: около 200 В (учитывая потери в трансформаторе, нормальный результат). Кстати, цифровой и аналоговый вольтметры показывают разные напряжения, для этого пришлось обзавестись стрелочным прибором.

Замеры напряжения, вольтметр показывает 200 В.
А вот осциллограф нам показывает значительно более интересную картину. Оказывается амплитудное значение у нас равно практически 400(!) вольтам!

Такая форма сигнала связана даже не с тем, что трансформатор фильтрует меандр, а скорее потому, что микросхема драйвера L9110S не очень хорошо работает на индуктивную нагрузку в импульсном режиме. Далее я покажу почему это так.
На самом деле, уже на этом этапе можно было бы закончить статью, мол — вот вам решение. Но я понимаю, что не каждый читатель сможет пойти и купить дефицитный накальный трансформатор ТН30-220-400, да и микросхема L9110S не самая подходящая. Поэтому сделаем всё по уму.
▍ Делаем DC-AC преобразователь на Arduino из доступных материалов
Как я уже сказал, накальный трансформатор, не сказать, чтобы прям редкость, но маловероятно, что он есть у вас дома. Да и напряжение 6,3 вольта сегодня достаточно редкое. А вот точно, что у вас есть дома — это трансформатор на 12 В, из какого-нибудь старого блока питания. Например, вот из такого:

В результате для сборки повышающего DC-AC преобразователя нам понадобится:
- Arduino
- Драйвер двигателя L298N
- Блок питания, в идеале регулируемый, но подойдёт и на 12 В
- Трансформаторный блок питания на 12 В
По теме блоков питания, всё просто, если вы найдёте БП на 9 вольт, то и питать всю схему нужно будет от 9 В.
Проверяем, что блок питания рабочий, и далее разбираем его. Эти адаптеры просто склеивают, и разбирать их надо также как кокос: по периметру, прямо по шву обстукиваем молотком, как появился щель, то вставляем плоскую отвёртку в неё и раскрываем его. Если наловчиться, то можно разбирать, полностью сохраняя корпус.

Вскрытый блок питания.
Блок питания устроен очень просто: трансформатор, на выходе диодный мост и фильтр на одном конденсаторе. Платка с диодным мостом и конденсатором нам более не нужна и смело отпаиваем её.
Далее собираем всё по следующей схеме:

Заливаем прошивку, и всё должно работать сразу из коробки.

Неоновая лампа светится.
Напряжение в данном случае равно 210 В. Поскольку у меня регулируемый блок питания, то это не проблема.

Очень интересно посмотреть осциллограммы работы этого устройства. Обращаю внимание, что амплитудное значение напряжения меандра совпадает с действующим значением.

Осциллограмма холостого хода.
Голубой цвет — это напряжение на входе трансформатора, жёлтое — это на выходе. Видны выбросы при смене фазы «меандр курильщика». Связано с пропускной способностью трансформатора. Но он проходит сразу же при приложении небольшой нагрузки. Пример той же осциллограммы при подключении неоновой лампы.

Осциллограмма под нагрузкой.
Преобразователь вышел достаточно мощный, и даже в состоянии зажечь лампу. Хотя мой блок питания с трудом потянул такую нагрузку, и хорошо так просел по току и напряжению. Но лампа светилась.

Более серьёзная нагрузка.
Любопытно также взглянуть на полученную осциллограмму.

Видна просадка по напряжению.
Очень интересно, как трансформатор справляется с высшими гармониками, вполне без проблем их пропуская. Напомню мою статью "Гармонические колебания", где я подробно рассказывал о том сколько гармоник в меандре. Это говорит о том, что этот трансформатор вполне подойдёт для использования в качестве звукового.
▍ Меандр подходит для ЭЛИ?
Можно ли питать ЭЛИ от переменного напряжения прямоугольной формы? Упомянутая выше книга «Электролюминесцентные буквенно-цифровые индикаторы» даёт следующий ответ:
Возбуждение электролюминофоров прямоугольными импульсами приводит к тому, что за один импульс напряжения происходят две вспышки яркости люминофора. Одна из них соответствует фронту, а вторая спаду возбуждающего импульса (Рис.3). Плоской части импульса напряжения соответствует затухание первого, а паузе между импульсами — второго пика яркости.
![]()
На частоте 400 Гц, частота следования импульсов будет 800 Гц, человеческий глаз будет видеть как ровное свечение.
Но на самом деле, можно сделать и синусоидальное напряжение, генерируя его с помощью ШИМ, даже нашёл неплохую статью по теме. Но нахрапом сделать не удалось, если читатели найдут тему интересной и попросят в комментариях, то я добьюсь, чтобы ардуино давала синусоидальный сигнал 220 В. Это просто требует чуть большего времени.
▍ Решение для самых ленивых
Самым простым решением было использовать школьный ламповый звуковой генератор (обращаю внимание, что подойдёт только ламповый, потому что он даёт высокое напряжение). Вещица тоже весьма дефицитная, но её ещё реально найти за вменяемые деньги. Даёт до 350 В действующего напряжения, имеет большое внутреннее сопротивление и идеально подходит для подбора параметров питания ИЭЛ. Сравните яркость свечения на 400 и 1200 Гц.

Свечение индикатора на частоте 400 Гц.

Свечение индикатора на частоте 1200 Гц.
Идея использовать для этих целей ламповый генератор принадлежит также radiolok, за что ему большое спасибо!
▍ Выводы
Вот так, в рамках одной статьи пробежался по трём различным решениям DC-AC преобразователям. На деле вариаций схем может быть множество, и мои решения далеко не самые элегантные, но они наиболее доступные, не требует множества радиодеталей и делаются из готовых копеечных модулей. Хочу также в пример привести решение от пользователя tronix286, которое я нашёл на одном форуме. Наиболее интересные решения — это выполненные в виде миниатюрного DC-AC преобразователя на плате, возможно я тоже до этого дойду.

Мёртвые индикаторы.
По поводу купленных индикаторов, к сожалению, большинство из них оказались полностью нерабочими. Как вы видите в статье, у меня частично живых только два, и то у них светятся только избранные сегменты. Поэтому красивых картинок на данных ЭЛИ вывести не удалось.
▍ Полезные ссылки:
- Код и схема моего DC-AC преобразователя на ардуино.
- Статья: Что показывает вольтметр, или математика розетки.
- Генерация синусоидального напряжения с помощью ШИМ.
Автор: Сергей

