
Привет! Сегодня расскажу про очень доступную, дешёвую и популярную микросхему, ставшую и продолжающую становиться основой для множества звуковых эффектов. Соберу на её основе эффект эхо (delay) и ревербератор — имитацию помещения или пространства.
▍ История вопроса
Человеческое ухо и различают в звуке не только уровень громкости и часто́ты спектра, но и разность и изменения фаз колебаний, что позволяет воспринимать перемещение источника звука в пространстве. Не говоря о восприятии времени задержки звука, существенно превышающего период колебаний.
Потому даже простое подмешивание (микширование) задержанной копии звукового сигнала при монофоническом воспроизведении разительно обогащает звуковую картину. А если разводить сигналы с разной задержкой по стереопанораме, модулировать время задержки, комбинировать несколько задержек с разными параметрами, возможности художественного применения становятся просто безграничными.
Простейшим эффектом временно́й обработки звука является просто задержка, она же дилей или эхо. Важнейшими параметрами её настройки и регулировки являются время задержки, или обратная ему величина — скорость повторов, и, соответственно, число повторов и скорость их затухания. Последнее реализуется регулируемым подмешиванием сигнала с выхода линии задержки на её вход.

Как получить задержанный звуковой сигнал? — Во-первых, можно просто воспользоваться физическим явлением скорости звука и передать его по длинной трубе. Что реально использовалось в любительской конструкции квазистереофонических головных телефонов, или просто наушников (Моделист-Конструктор, февраль 1990 года).

Ещё более интересный эффект, не дилей, а целый ревербератор (о них пойдёт речь далее), можно получить, передавая звук не в газообразной воздушной, а в твёрдой среде в виде пружины.

Можно взять магнитофон с некоторым расстоянием между записывающей и воспроизводящей головками, или даже несколькими воспроизводящими головками. Получится ленточный дилей.

Регулируя положение головок или скорость движения ленты, управляем временем задержки. То, что сигнал при этом портится, даже хорошо. Потому что настоящее эхо — тоже неточная копия исходного звука.

Наконец, можно соорудить величественный и очень дорогой студийный листовой ревербератор с целой стеной пластин. Например, классический EMT-140 с массой без малого три центнера.

А можно воспользоваться средствами электронной памяти. Например, устройством на переключаемых конденсаторах типа bucket brigade. Названо оно в честь команды людей, передающих из рук в руки вёдра с водой или песком для тушения пожара. Чтобы ведро невозможно было поставить на землю и отвлечься от тушения, пожарные вёдра часто изготовлялись в виде конуса. Ещё такое ведро не было искушения украсть с пожарного щита и приспособить в хозяйстве, потому что зачем в хозяйстве коническое ведро?
Напишите в комментариях, вам в детстве тоже не давал покоя вопрос о форме пожарного ведра? Лично мне — да.

Идея, заложенная в bucket brigade delay, гениально проста. Через ключ на полевом транзисторе заряжается конденсатор, до того уровня напряжения, что присутствует в данный момент на входе. Да, это классический sample and hold, схема захвата и удержания напряжения. Далее этот уровень передаётся следующей такой же схеме, далее следующей и так далее. Тактируется весь процесс от генератора тактовых импульсов посредством счётчика с дешифратором. И всего ступеней в одной микросхеме может быть, например, 512 или 1024.

Такая задержка называется аналоговой, потому что «фотографируется» и передаётся не цифровое значение, а аналоговая величина напряжения, но с дискретным тактированием. Микросхемы BBD на сегодняшний день практически сняты с производства и являются бутиковой редкостью. Может быть, из-за сложности производства или малого спроса. Скорее второе, потому что рынок уже давно захватили устройства или линии цифровой задержки сигнала, ЦЛЗ.
В отличие от BBD, такое устройство должно содержать в структуре своих функциональных блоков не только тактовый генератор, счётчик и дешифратор, и схемы цифровой памяти вместо аналогового захвата и удержания, но плюс к тому аналого-цифровой и цифро-аналоговый преобразователи (АЦП и ЦАП), а также цепи частотной коррекции, необходимые для адекватной чистоты и восприятия эффекта обработки звука.

Если собирать всё это на микросхемах невысокой степени интеграции, получается довольно сложно, громоздко и дорого, на примере гитарной педали Лель ЦЗ.

Всё верно, на фото множество вожделенных зелёных керамических многослойных конденсаторов КМ, содержащих драгоценный палладий. Потому что были времена, когда без драгметалла конденсатор с такими параметрами не получалось сделать. А два светло-синих окукленных конденсатора — ниобиевые. Они не совсем как танталовые, но близки к ним по характеристикам. Такие ностальгичные моменты из технической истории.
▍ А нельзя ли сделать компактнее и дешевле?
Можно, и тайваньской компании Princeton Technology Corp. это удалось! В шестнадцатиногом корпусе, либо вовсе без корпуса, под «китайской капелькой» компаунда, в кремниевом чипе на печатной плате располагается всё что нужно. Даже не забыли предусмотреть два «лишних» операционных усилителя для построения активных фильтров низких частот. Зачем они нужны, речь пойдёт ниже.

Микросхема реализует одноразрядное сигма-дельта аналого-цифровое и цифро-аналоговое преобразование. Говоря максимально упрощённо, это преобразование, при котором удельное количество единиц в однобитном цифровом потоке кодирует уровень напряжения.
Подобным же образом работает и хорошо знакомый программистам микроконтроллеров оверсемплинг, когда нужно получить результат измерения с точностью, превышающей разрешающую способность имеющегося АЦП. Разумеется, и в случае оверсемплинга, и в случае дельта-сигма модуляции и демодуляции частота дискретизации должна превышать частоту Найквиста — Котельникова в некоторое число раз.
Задающий генератор отсчитывает такты, счётчик и дешифратор управляют окнами записи и чтения вектора памяти. Одноразрядные булевы значения, нули и единицы записываются в начало вектора и считываются с его конца.
Как происходит движение этого потока данных по самим ячейкам памяти? — Никак. Ведь это и не требуется. Представьте себе магнитофон, где относительно корпуса движется не лента, а записывающие и считывающие головки. Требуется только рассчитывать адреса, куда писать и откуда считывать, как раз этим занимается счётчик-дешифратор.
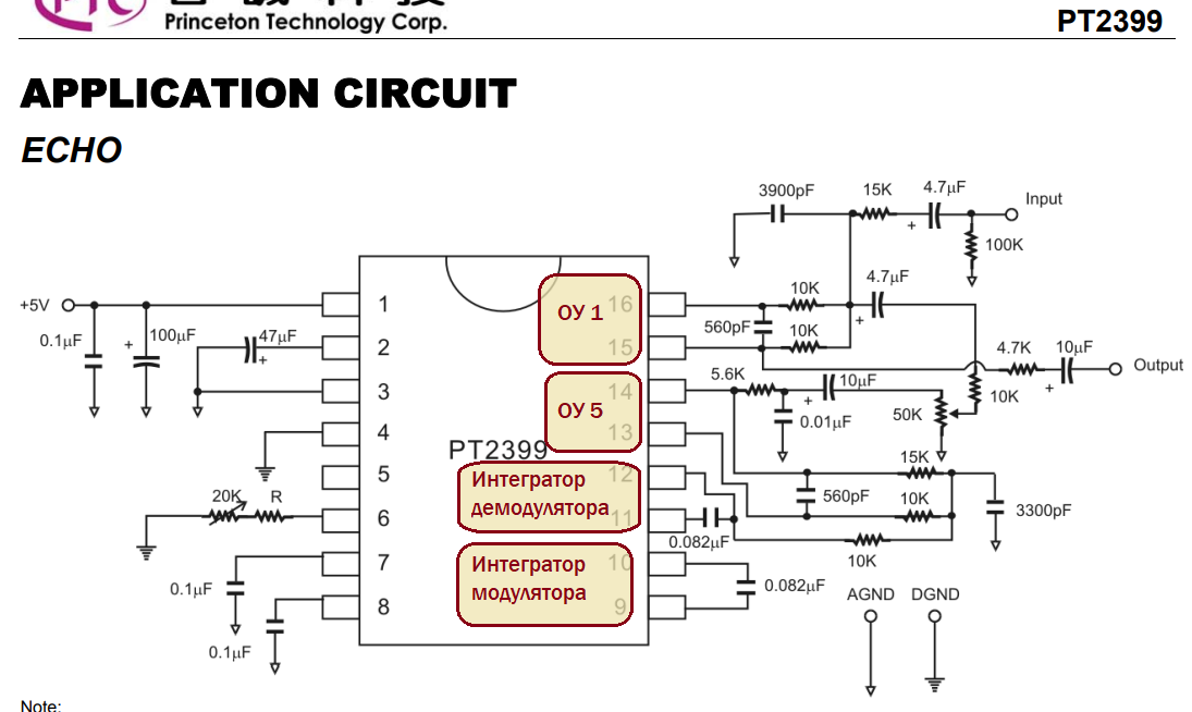
Выше схема из даташита, он же справочный листок к микросхеме. А ниже блок-схема того, что есть в чипе, в более удобном для восприятия виде.

Первый операционный усилитель предназначен для реализации входного активного фильтра низких частот (ФНЧ), поскольку высокие гармоники в эффектах такого рода совсем не нужны. Также он используется для микшера в случае, если на вход ЦЛЗ подаётся сигнал с её выхода, для получения многократных повторений сигнала. Инвертирующий вход этого ОУ выведен на ножку 16, а выход, он же инвертирующий вход компаратора, на вывод 15 микросхемы. Что позволяет создавать частотно зависимую обратную связь и регулировать коэффициент усиления.
Неинвертирующий вход ОУ соединён со средней точкой питания, которая, кстати, выведена на ножку 2. Сделано это с целью заземлить среднюю точку по переменному току конденсатором достаточной ёмкости, например, электролитическим, но как выяснили умельцы, это создаёт и другие возможности. О них далее.
Второй операционный усилитель является компаратором сигма-дельта АЦП, третий — интегратором его модулятора. Интегратор и ФНЧ это, по сути, одно и тоже. Обеспечивает собственно модуляцию и по совместительству попутно подавляет шумы.
Ножка 9 — это выход ОУ 3, он же ФНЧ модулятора, и неинвертирующий вход компаратора. А ножка 10 — инвертирующий вход ОУ 3. Согласно даташиту, для работы интегратора требуется подключить между выводами 9 и 10 конденсатор ёмкостью порядка 0.1 мкФ, параллельно резистору 4.7 кОм, встроенному в микросхему.
Четвёртый ОУ используется как точно такой же ФНЧ-интегратор, только для демодулятора. Его инвертирующий вход — ножка 11, а выход его и всей микросхемы — ножка 12. Между ними также присутствует встроенный резистор 4.7 кОм, и также полагается подключить конденсатор порядка 100 нанофарад. (Да, это не гостовская единица измерения, но в статье можно. Психологически целые нанофарады воспринимаются естественнее, чем дробные микрофарады или многие тысячи пикофарад).
Пятый ОУ с инвертирующим входом на ножку 13 и выходом на ножку 14 мы вольны использовать на своё усмотрение. Как легко догадаться, он потребуется для цепей активной частотной коррекции.
Последний, шестой операционный усилитель задействован в генераторе тактовой частоты, которая определяет время задержки, и которая выведена на «секретную» ножку 5, о назначении которой даташиты умалчивают. А пригодиться она может для считывания микроконтроллером тактовой частоты. Благодаря чему, можно знать точное время задержки, и сделать управление по MIDI, tap tempo или ещё что-нибудь, на радость неугомонным музыкантам, и прочим художникам звука.
Сопротивление резистора между неинвертирующим входом шестого ОУ, он же ножка 6, и цифровой землёй, а если быть точнее, ток, текущий на цифровую землю по этой ножке, управляет временем задержки и тактовой частотой согласно таблице.

Умельцы, конечно же, давно приспособили транзисторные ИТУН (управляемые напряжением источники тока), резистивные оптопары (вактролы) и даже цифровые резисторы для управления тактовой частотой этой более чем популярной микросхемы. В частности, для модуляции времени задержки.
Нашлись умельцы и ещё более умелые, или более смелые, а скорее то и другое. В лице Рика Холта, создавшего хорус Little Angel. Действует этот эффект следующим образом.
Средняя точка, она же референс или опора для всех операционных усилителей микросхемы, образована резистивным делителем из двух встроенных сопротивлений по 6 кОм, и выведена на ножку 2. Что позволяет модулировать это напряжение генератором низкой частоты. Как показала практика, модуляция амплитудой в 0.5 вольт ничуть не нарушает работу узлов схемы, и при этом позволяет создать эффект хоруса при минимальном числе комплектующих.
Фирменный даташит от Princeton Technology содержит две схемы с примером использования ЦЛЗ, отличающиеся только номиналами компонентов и отсутствием возврата выходного сигнала на вход в упрощённом варианте, где затухающие повторы не требуются.

В этой схеме обвязка ОУ 1 представляет собой фильтр MFB топологии, она же бесконечное усиление, множественная обратная связь. Частота среза 8.9 кГц, добротность 1.1.
Выходной фильтр на ОУ 5 с той же топологией. После него включён пассивный RC фильтр с частотой среза 2.8 кГц, с которого через электролитический конденсатор 10 мкФ сигнал идёт на регулятор количества повторов эффекта, он же потенциометр регулировки времени затухания.
Процесс сборки и испытания реальной гитарной педали дилея из радиоконструктора от Landtone можно посмотреть на этом видео.
▍ Теперь о ревербераторах
Чтобы сымитировать реверберацию, то есть послезвучание в помещении, требуются более сложные средства, чем всего одна линия задержки. Как минимум нужны две или три линии задержки с разными постоянными времени. Что очень наглядно показывает устройство ревербераторов с двумя или тремя пружинами.

Примером ревербераторов на основе нескольких PT2399 могут служить модули BTDR от Accutronics / Belton, патент US 2009/0003614 A1. Гитарную педаль на базе такого модуля я собрала из ещё одного конструктора с Алиэкспресс, о процессе и результате чего повествует видео.
Также вокруг PT2399 построен синтезатор звуковых эффектов Echo Rockit Рэя Уилсона (Music From Outer Space), и много других интересных вещей, в том числе моих старых поделок, о которых расскажу в следующих публикациях.
Автор: Электронные Истории
