Ночь с 1-го на 2-е сентября 1859 года ознаменовала себя крупнейшим полярным сиянием, за всю историю астрономических наблюдений — его можно было наблюдать на всей территории Земли. В приполярных областях при её свете можно было читать, оно было настолько ярким — что разбудило золотоискателей в Скалистых горах. Большинство телеграфов на территории Европы и Северной Америки — вышли из строя, а на телеграфных столбах — свидетели наблюдали искры. Оценка последствий подобного события (случись оно в современном мире, с централизованными электрическими сетями) — даёт величины ущерба в 0,6-2,6 трлн $, только для США. Таковым было самое разрушительное проявление космической погоды на данный момент, зафиксированное человечеством.
В первой части статьи — я опишу явления солнечной активности, которые лежат в основе «космической погоды», а для этого, в свою очередь — нам потребуется углубиться в строение Солнца, выглядящее следующим образом:
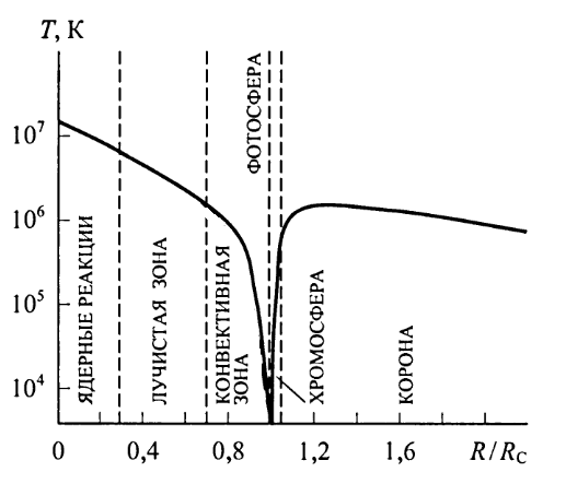
Солнечное ядро — занимает зону от центра до 0,25 радиуса Солнца. Здесь находится зона с максимальной температурой (порядка 15 млн K), давлением (порядка 250 млрд атмосфер), и плотностью (достигающей 150 г/см3). Так как скорость термоядерных реакций сильно зависит от температуры — основная часть выделения энергии в Солнце, происходит именно в этой области. Однако даже при таких показателях — скорость термоядерных реакций весьма не велика (порядка 275 Ватт/м3), поэтому термоядерные реакторы, типа ITER – требуют на порядок больших температур, чтобы иметь разумные показатели по соотношению объём/мощность.
Зона лучистого переноса — простирается от глубины в 0,25, до примерно 0,7 радиуса Солнца. Названа она так — потому-что основным способом переноса энергии в ней является последовательное излучение и поглощение фотонов. Это довольно спокойная зона, в которой основным видом движения — является вращательное: Солнце делает примерно один оборот за 25,6 дней — по линии экватора (для наблюдателя на Земле, с учётом нашего вращения вокруг Солнца — выходит примерно 28 дней), и за 33,5 дня — на уровне полюсов. Лучистая зона, в данном случае — имеет примерно усреднённую (между этих двух) скорость.
Тахоклин — переходная область, находящаяся между лучистой и конвективной зонами, его толщина — составляет примерно 0,04 радиуса Солнца. В данной области происходит переход от лучистого (спокойного) переноса тепла — к конвективному (турбулентному), и от «твердотельного вращения» (когда слои вращаются с равномерной частотой), к дифференциальному (различающемуся в полярных, и экваториальных областях).
Причины такого перехода следующие: на границе около 0,7 радиуса Солнца — постепенное падение температуры и давления солнечных слоёв приводит к тому, что физические условия уже не позволяют поддерживать атомы плазмы без электронов (однократно ионизованными — атомы водорода, и двукратно — гелия). Соответственно начинает действовать фотоэффект, и вещество перестаёт быть прозрачным. Лучистый перенос теряет свою эффективность, и конвективный перенос тепла выходит на первое место.
Объяснение источника второго эффекта является значительно более комплексной задачей, и её решение долго не давалось учёным. Но в 2013 году с помощью данных «Обсерватории солнечной динамики» была также показана связь между конвективным движением на Солнце (носящим на мелких масштабах — хаотический характер) и устойчивым, дифференциальным вращением Солнца:
Ключевыми факторами, в понимании процессов происходящих на Солнце являются следующие:
1) Источником энергии для возникновения всех процессов, регистрируемых нами на Солнце — является турбулентная конвекция (а уже её источником — является градиент температуры между солнечным ядром, в котором протекают термоядерные реакции, и поверхностью Солнца — через которое происходит излучение этой энергии).
2) Практически всё вещество на Солнце (за исключением определённой доли водорода в фотосфере) — находится в состоянии плазмы. По этой причине перенос энергии — происходит за счёт кинетической энергии конвективных потоков, и за счёт электромагнитного поля. При этом энергия — может свободно переходить из одного вида, в другое (движение плазмы — может генерировать магнитное поле, а в другом случае — магнитное поле может разгонять потоки плазмы).
Конвективная зона — зона располагающаяся на расстоянии около 0,7 радиуса, и непосредственно до самой видимой поверхности. За неимением других возможностей перенос тепла, с этого уровня — начинает происходить за счёт перемешивания слоёв (то есть — конвекции, отчего собственно данная зона и была так названа). Именно эта зона — ответственна за все явления, которые принято называть «солнечная активность».
Основная структура конвективной зоны (и видимой «поверхности» Солнца) — состоит из гранул (типичным диаметром в 1000 км, и временем существования — от 8 до 20 минут), и супергранул (размерами в 30 тыс. км, и временем жизни — около суток). Гранулярная структура — состоит из светлых областей (где вещество поднимается из глубин Солнца) и тёмных промежутков между ними (где вещество — соответственно опускается). Вертикальная скорость движения вещества — составляет 1-2 кмс, глубина гранул — составляет сотни и тысячи километров.
Солнечные пятна — это области, в которых сильные магнитное поля препятствует конвективному движению вещества. Не смотря на название — «пятнами» их можно назвать с большой натяжкой: температура внутри них — составляет 3000-4500 K. А видимая их чернота — объясняется температурой окружающего вещества (составляющая в среднем — 5780 K), и соответственно значительно меньшим излучением света «пятнами» на внешнем фоне. Практически с начала систематических наблюдений за пятнами на Солнце в 1749 году — они стали основным доказательством существования 11-летнего цикла солнечной активности (поэтому нулевым циклом, от которого сейчас ведётся отсчёт — был выбран тот, который шёл в тот момент — он начался 1745 году):

Если быть более точными — цикл имеет усреднённую длительность около 11,2 лет, и меняется в интервале от 7 до 17 лет (при этом чем короче цикл — тем большую силу он имеет). Стадия роста в цикле — занимает меньший период времени (4,6 года — против 6,7 лет в среднем у стадии спада). В начале цикла — пятна появляются на широтах порядка ±35-40°, затем — смещаются к области ±15° в период максимума, а к концу цикла — большинство из них встречается на широтах ±5-8° (так называемый закон Шпёрера):

Такая цикличность в поведении и числе пятен — связана с 11-летним циклом по смене магнитных полюсов Солнца (при этом полный цикл по смене полярности север/юг — занимает соответственно 22 года). Однако этот 22-х летний период (цикл Хейла) — не получил широкой известности, так как кроме смены полярности — он себя никак практически не проявляет.
Наличие статистики за 400+ лет — позволило предположить о наличие векового цикла солнечной активности (так называемого цикла Гляйсберга — длящегося в интервале 70-100 лет, со среднем значением в 87 лет). Но по настоящему доказать его наличие — удалось только с появлением радиоуглеродного анализа: дело в том, что в периоды солнечного максимума — солнечный ветер становится плотнее, а гелиосфера Солнца — немного расширяется (на этом основывалась череда сообщений о выходе Вояджера-1 за пределы Солнечной системы: 1, 2, 3, 4), при этом поток галактических космических лучей — сокращается, а вместе с ним — сокращается выработка радиоактивного углерода-14 в верхних слоях атмосферы. Следы этих изменений, за прошедшие 11 тысяч лет — находят в ледяных кернах и годичных кольцах деревьев:

Солнечные пятна часто образуются группами, при этом ведущее пятно — имеет туже полярность, что и текущая полярность данного полушария, а заднее — противоположную. Группа пятен — может существовать от нескольких часов, до нескольких месяцев (на этом основывается долгосрочный, 27-дневный прогноз — когда пятна, сделавшие один оборот — вернутся в тоже положение, что и сейчас).
Солнечные факелы — являются своеобразными «пятнами на оборот»: в данном случае магнитное поле выступает усилителем конвекции, которая в свою очередь — поднимает температуру и светимость «поверхности» Солнца.
Протуберанцы — образования причудливой формы, в стабильном состоянии — напоминающие половинку тора, опирающуюся на «поверхность» Солнца:

Такой формой — они обязаны магнитному полю, которое является их источником: поток вещества, двигающийся по магнитным линиям — в начале поднимается из глубин Солнца, затем — описывает дугу, и падает обратно на Солнце. Такие фонтаны вещества — могут существовать вплоть до месяцев. В них может заключаться огромная энергия, которая может выделяться в двух физических явлениях, о которых речь пойдёт ниже.

Солнце, крупный протуберанец и Юпитер с Землёй — в масштабе
Солнечные вспышки — гигантские выбросы энергии (самый крупный из которых — описан в начале данной статьи). В ходе типичной вспышки — может выделяться энергия порядка 1020Дж (около 10 гигатонн — в тротиловом эквиваленте), в крупных — порядка 1025Дж (около 1 млрд мегатонн). Их источником — являются пересоединение магнитных полей на Солнце (когда два магнитных «кольца» соприкасаются между собой, и резко меняют свою структуру):
Точные доказательства такого процесса — были получены совсем недавно. В ходе солнечной вспышки — энергия выделяется во всём спектре электромагнитного излучения, большая часть — излучается в жёстком ультрафиолете, а также рентгеновских и гамма-лучах (это связано с тем, что магнитные поля в процессе пересоединения разогревают плазму до десятков миллионов градусов). Только небольшая часть энергии — выделяется в видимом диапазоне света, поэтому в обычной ситуации — они не видны. Но в случае с Кэррингтонским событием — вспышку можно было наблюдать даже не вооружённым глазом.
Вспышки по интенсивности делят на пять классов: A, B, C, M, X. Каждый последующий класс — мощнее предыдущего в десять раз. Каждый класс разбивается на линейную шкалу от 1.0 до 9.9, у класса X — нет верхней границы: на данный момент самая мощная вспышка, зафиксированная с 1957 года (когда начались внеатмосферные наблюдения, и полную мощность по всему спектру излучения — стало возможно установить) — произошла 4 ноября 2003, и по уточнённым данным — имела класс X45.
| Класс вспышки | Интенсивность в гамма-лучах 0,5-8 Å, Втм2 |
|---|---|
| A | до 10-7 |
| B | от 10-7 до 10-6 |
| C | от 10-6 до 10-5 |
| M | от 10-5 до 10-4 |
| X | больше 10-4 |
Корональные выбросы массы — это сопутствующий вспышкам (но не всегда), процесс выброса огромных масс вещества (в среднем — около миллиарда тонн) с большой скоростью (порядка 500 км/с) — что отражено в названии этого процесса. Источником таких масс — являются протуберанцы. В процессе пересоединения магнитного поля — магнитные линии устремляются от Солнца в бесконечность, за ними — устремляется и массы плазмы, двигающиеся по ним:
Последние компьютерные модели с высокой точностью описывают процессы, происходящие на Солнце — это позволяет надеяться, что вскоре период точных прогнозов для космической погоды можно будет получать не за 3 дня — а за период значительно больший.
Фотосфера — это видимая «поверхность» Солнца. Она составляет примерно 300 км в толщину, и именно в ней происходит излучение большая части видимой спектра. Плотность этого слоя — составляет от 10-8 до 10-9 гсм3. Именно здесь достигается минимальная температура Солнца — 4300 K, но средняя температура данной области — ближе к температуре в 5777 K:

Фактически являясь продолжением конвективной зоны — фотосфера является видимым (для нас) отражением тех явлений и той структуры, которая существует в конвективной зоне (которая описана выше).
Хромосфера — это слой около 10 тыс. км толщиной, располагаемый между фотосферой и короной. Здесь резко начинает падать давление, а температура — снова начинает расти:

В связи с тем, что давление в этом слое — очень низкое, его светимость (несмотря на рост температуры) — в сотни раз меньше, чем у фотосферы. По этой причине — впервые оно было открыто благодаря лунным затмениям (когда свет от фотосферы — не мешал наблюдению данного слоя). Именно в этой области Солнца — впервые был обнаружен гелий.
Хромосфера в основном, состоит из спикул — объектов продолговатой формы, имеющих несколько тысяч километров в диаметре, и около тысячи — в глубину:

Поднимаясь из фотосферы — они переносят вещество в верхние слои Солнца. Другой составляющей хромосферы — являются фибриллы. Они представляют из себя вертикальные петли вещества, увлекаемые магнитным полем (по типу протуберанцев).
Корона — начинается от видимого радиуса Солнца, и простирается на 10-20 его диаметров. Состоит из весьма разреженного, и неравномерно распределённого вещества, с температурой превышающей миллион кельвин.
Источником столь большой температуры короны, по последним данным — служат хромосферные спикулы, которые подпитывают её высокоэнергетическими частицами. Структура короны сильно зависит от периода солнечной активности: во время максимумов — она имеет сферическую форму, во время минимумов — вытянутую по направлению экватора:

Солнечный ветер — это поток сильно разреженного солнечного вещества, с температурой близкой к корональной, движущийся с высокой скоростью (на орбите Земли — его скорость составляет 300-400 кмс):

Это вещество — разгоняется магнитными полями Солнца (от этого — такая высокая разница в скорости между экватором и полюсами). Производимое им давление — составляет на орбите Земли 1-6 нПа (в зависимости от периода 11-летнего цикла, и наличия корональных выбросов). Посредством солнечного ветра — Солнце теряет около 10-14MC (это на несколько порядков меньше того, что оно теряет за счёт излучения).
П.С. Во второй части статьи — об космической погоде, аппаратах исследующих Солнце и службах, следящих за его состоянием.
Автор: voyager-1






