
Скоро можно будет отправляться в большое приключение в комфорте своей квартиры. Взбираться по холмам, исследовать пещеры, путешествовать по бескрайним просторам. Google собирается выпустить туфли, в которых можно будет физически чувствовать, как вы перемещаетесь по виртуальному миру. Ожидается, что это не только приведет к созданию новых игр «для впечатлительных», но и будет самым простым способом, не утруждая себя, в комфорте сбросить пару лишних килограммов.
Новая разработка Google детально описана в патенте, одобренном комиссией Министерства торговли США. Это обувь, позволяющая сколько угодно перемещаться в ограниченном пространстве. По задумке компании, это поможет еще сильнее погрузить нас в виртуальные миры.

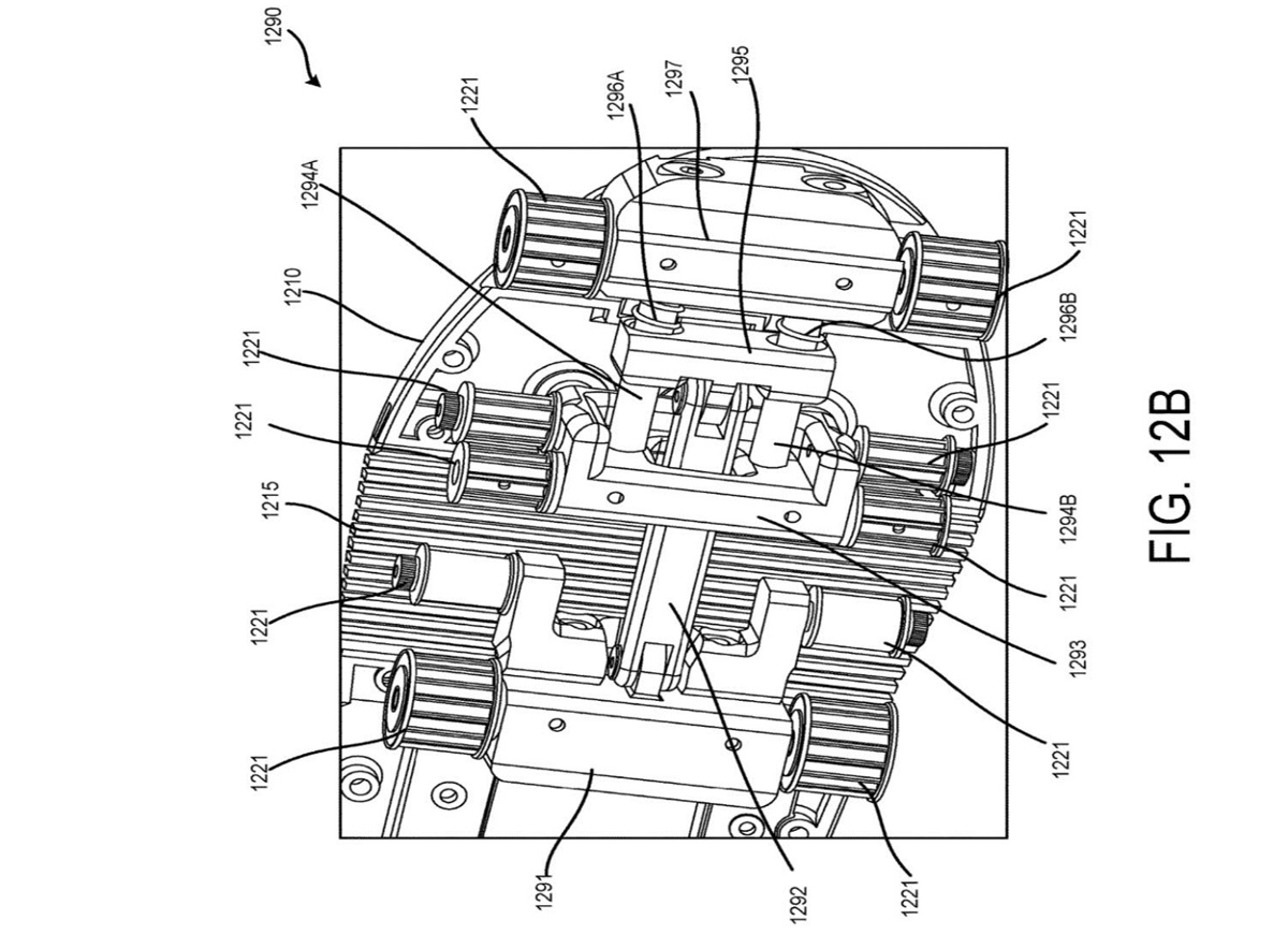
Из патента Google
Сейчас одна из главных проблем VR – то, что ты привязан к одному месту, и зачастую даже боишься сделать шаг, если у тебя не огромная комната. По-настоящему прочувствовать VR так достаточно сложно. Ты какой-то частью всё равно вынужден постоянно бояться, что сейчас во что-то врежешься.
Разные компании уже пытались исправить эту проблему. Например, в 2014 году была представлена платформа Virtuix Omni для Oculus Rift. Идея очень крутая, и некоторые парки аттракционов и центры для презентаций уже взяли её себе на вооружение. Но для частных пользователей тут полно недостатков. Во-первых, цена. Минимум $699, за простую модель. Во-вторых, размеры. Платформа Omni по габаритам как беговая дорожка. Если вы не собираетесь каждый день отправляться в Нарнию или Fallout, ставить такой большой агрегат у себя дома как-то не очень хочется. Ну и в-третьих, ощущения всё же не те. Для перемещения по платформе приходится прилагать немалые усилия (по сути, толкать её от себя), а вокруг вы постоянно втыкаетесь в защитное кольцо. Полного погружения не получить.
Поэтому многим создателям игр под VR пока что приходится каким-то образом ограничивать пользователя в пространстве. Делать его пилотом самолета или болида, привязывать к офисному креслу или дивану. Более свободный мир, такой как VRChat, уже привел к смертям, одна из первых задокументированных – в Москве, человек врезался в стеклянный стол. Игра уровня GTA V или RDR2, где ты свободно перемещаешься по большой карте, тут попросту невозможна, она того не стоит.
Новая разработка Google, названная «Обувь для виртуальной и/или дополненной реальности», призвана устранить все эти существующие проблемы. В патенте описываются моторизированные ботинки, в которых можно ходить так же, как и в реальном мире, но при этом они компенсируют ваши перемещения, и вы остаетесь на месте. Они также определяют, если перед вами вдруг закончилось пространство, и предупреждают о возможной опасности. Главное – вам будет полностью казаться, что вы двигаетесь так же, как и всегда. Хотя со стороны вы будете похожи на Майкла Джексона.

Подошва Google-обуви
VR-туфли – идея не новая. Так, в начале 2017-го был представлен прототип ботинок Cerevo Taclim, которые позволяют делать карате, бить ногами врагов, и еще стимулируют пятки, создавая ощущение движения по определенной поверхности (например, по песку в пустыне или по гладким камням). Их обещали запустить осенью 2017-го, но воз и ныне там.
Правда, даже если их удастся доделать и выпустить, из-за своей цены ($1000-$1500) и большого веса (около килограмма) широкое распространение они вряд ли получат, и у себя дома мы их не увидим. Глава фирмы-разработчика, Такума Иваса, говорит, что они рассчитывают в основном на владельцев небольших бизнесов, желающих привлечь покупателей. Например, продавцы лыж смогут показывать, как та или иная модель ведет себя на горном спуске. А возле ледовых катков можно будет установить демо-площадку, чтобы в безопасности тренировать тех, кто никогда раньше не ставал на коньки.
Также над VR-обувью для геймеров в прошлом году очень хотел работать Джейми Хайнеман, звезда «Разрушителей легенд», известный своими нестандартными техническими решениями. Несмотря на определенный вес Хайнемана в среде энтузиастов, идея вышла довольно сырой, и нужного отклика не получила. На Indiegogo проект набрал всего $9 620 из цели в $50 000.
С поддержкой Google, возможно, такие туфли наконец смогут стать реальностью, и по приемлемым ценам. С другой стороны, у Google Glass, казалось, тоже были перспективы...
Автор: Pochtoycom

