
Студенты MIT превратили бананы в клавиши пианино.
Вы, конечно, знаете, что изобретение нужно запатентовать, чтобы закрепить на него свои права. Тогда, если кому-то захочется использовать вашу идею, и она выстрелит, вы сможете на ней заработать просто потому, что к вам мысль о её создании пришла раньше. Казалось бы, всё чрезвычайно серьёзно, и в списках патентов должны появляться только гениальные изобретения, способные перевернуть мир и поставить человечество на новую ступень развития? Вовсе нет. Загляните в патентную базу США: вы найдёте там много забавных изобретений. Некоторые из них мы сегодня рассмотрим.
Контроллер для видеоигр, использующий мышцы пресса
Если вас когда-нибудь упрекали в том, что вы много времени проводите за компьютером или приставкой и не следите за своей физической формой, вы знаете, что показать этим людям. Больше не нужно жать на кнопки, по третьему кругу сражаясь с компьютерными монстрами — теперь нужно жать пресс. Создатель контроллера Грегори Уехара уверяет, что прохождение игр с помощью его устройства не только повышает физическую подготовку и атлетичность игрока, но и помогает справляться с болью в спине — распространенным офисным синдромом.

В общем, и не подумайте теперь косо посмотреть на геймера, что потратил всю ночь на прохождение новой игрушки: он вскоре сможет похвастаться всеми восемью кубиками пресса. Хорошо, что об этом изобретении не знал Тор из «Мстители: Финал», иначе не получилось бы такой замечательной шутки.

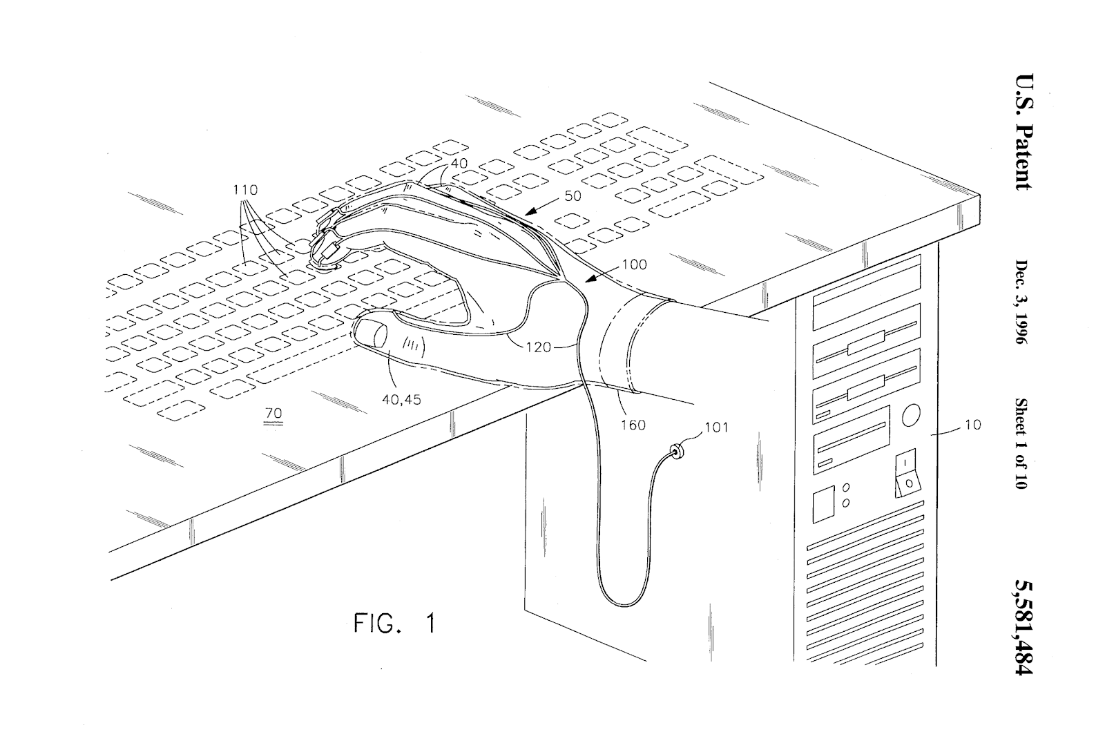
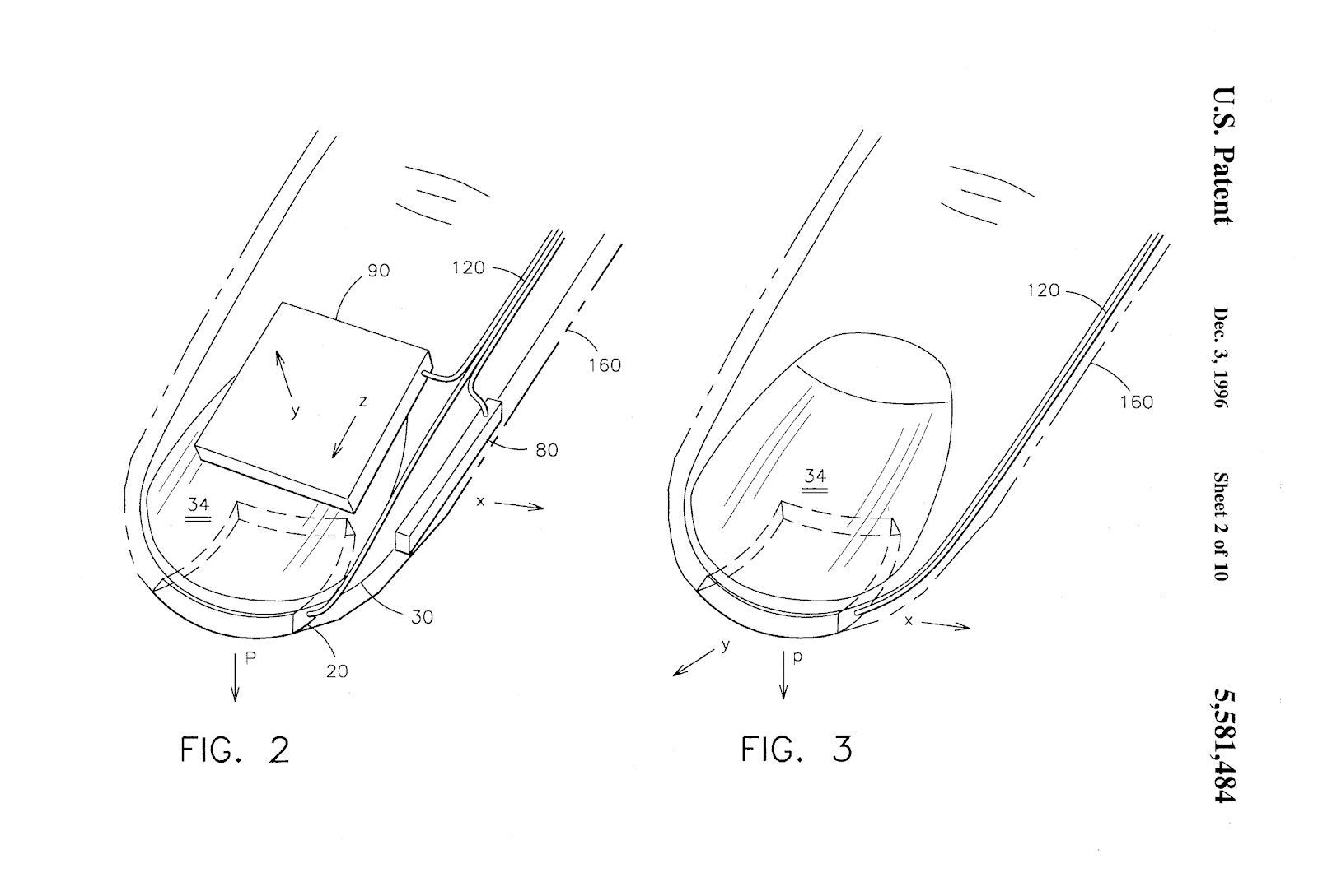
Сферическая клавиатура со встроенной в нее мышью

Как много времени вы проводите за клавиатурой? Неважно, говорим мы о клавиатуре физической или экранной: и в том, и в другом случае положение наших рук при их использовании остается неестественным, что при долгой работе за клавиатурой приводит к неприятным и болезненным ощущениям в запястьях и пальцах.
Эта проблема подтолкнула Роберта Ракоски на создание сферической клавиатуры. Это сфера с полостями под клавиши, которые размещены в дугообразных рядах и соответствуют положениям и разной длине пальцев человеческой руки. Клавиши расположены в стандартном формате клавиатуры, а кнопки мыши — в передней части сферы, которая опирается на круглое основание, снабженное роликом для мыши. Экранный указатель перемещается скольжением сферы и основания по рабочему столу.


Во время использования сферической клавиатуры пальцы и руки находятся в анатомически правильном положении: никакие дополнительные приспособления, например, подставка для запястий, не понадобятся. Волшебными могут быть не только сферы, в глубине которых положено видеть свое будущее, но и компьютерные изобретения. И ничего страшного, что выглядит изобретение совершенно непривычно: были времена, когда и колесо смущало людей.
Мышка-кольцо

Аксессуары аксессуарам — рознь. Идея о том, чтобы превратить компьютерную мышь в кольцо и поместить её на палец, на первый взгляд может показаться абсурдной, но при ближайшем рассмотрении это изобретение оказывается достаточно полезным, особенно, если вы часто занимаетесь презентациями и вам нужно не только находиться на расстоянии от экрана, но и иметь возможность управлять объектами на нем.

Осторожно: возможно привыкание и отказ от использования обычной мышки. Никто из нас не хочет повторить судьбу Голлума, правда?
Ножная панель ввода данных

Если вы устали работать руками, это — неплохая альтернатива. Панель имеет множество ножных кнопок, каждая из которых отвечает за свои значения данных в зависимости от продолжительности и последовательности нажатия. Всё предусмотрено: подставка под пятку может быть как простой подставкой, так и кнопкой, а небольшой контроллер и автоматическая речевая, звуковая или визуальная системы отображения позволяют переключаться между полями ввода и отслеживать данные при их изменении. Сами подумайте, если нас уверяют, что постоянным использованием для набора сообщений со смартфона большого пальца мы накачиваем его, какого эффекта можно добиться, используя эту панель? А уж в комплекте с игровым контроллером из самого начала списка… забудем о спортивном зале.
Рука-клавиатура

Если вы хоть раз переживали, что во время важного разговора ненужное слово соскользнет с кончика языка, то вот вам небольшое обновление: теперь слова можно выпускать и с кончиков пальцев.


Всё дело в датчиках давления, которые прикрепляются к пальцам и реагируют на нажатие их кончиками на поверхность стола. Использоваться, в идеале, должны все пальцы рук, но один — как минимум. Как правило, датчики не крепятся непосредственно к рукам (никаких чипов вживлять не нужно, а жаль), а устанавливаются в гибкую тканевую перчатку. Устройство ретрансляции сигналов передает информацию с датчиков на компьютер, который определяет положение пальцев на поверхности стола для создания клавиатуры, мыши или графического планшета. Остальное — за вами.
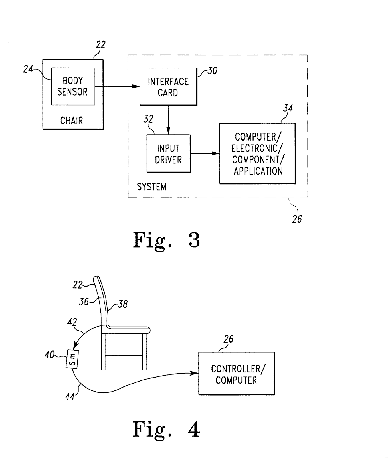
Чувствительное кресло-мышь

Пытались ли вы когда-нибудь научить свою бабушку пользоваться компьютером? Так, чтобы отчаяться спустя несколько часов и решить, что управление компьютером дано не каждому? Как бы не так.


Даже ваше кресло может управлять компьютером, особенно если это чувствительное кресло-мышь, спинку или сиденье которого покрывают датчики, определяющие ваше положение в кресле, смещение веса и другие параметры. Сигналы давления или распределения вами давления по спинке или сиденью кресла обрабатываются, и вы снова управляете компьютером, хотя и немного в непривычной форме.
Самоохлаждающаяся мышка

Гениальное в своей простоте изобретение. Эта компьютерная мышь имеет в своем корпусе отверстия, через которые с помощью вентилятора или насоса продувается воздух и охлаждает вашу руку. Пригодится, если вам иногда приходится так сильно нервничать за компьютером, что у вас потеют ладони.
Клавиатура с изменяющейся высотой клавиш

Чем меньше устройство, тем лучше. Так рассуждали создатели клавиатуры с изменяющейся высотой клавиш для переносных электронных устройств. В основании клавиатуры они расположили чувствительный элемент, который генерирует магнитный сигнал, когда крышка ноутбука опускается. Включается микронасос, который извлекает газ из эластомерной камеры клавишного блока: эластомер подвергается сжатой деформации и колпачок клавиши перемещается вниз — высота клавиатуры уменьшается. Если вы поднимаете крышку ноутбука, то процесс повторяется с точностью наоборот: клавиши на клавиатуре увеличиваются для более удобной работы с ними.
Это только небольшая часть интересных находок, которые можно обнаружить в списках запатентованных изобретений. Они могут быть какими угодно — гениальными, забавными или откровенно глупыми, — но все они определенно стоят того, чтобы о них было произнесено несколько слов.
Автор: Barrayar
