
Представьте ситуацию. Вас с коллегами собирает руководитель и говорит: «Ребята, я хочу создать за шесть месяцев устройство, которого до этого не существовало на рынке. Объём потенциального рынка — миллионы штук в год. Причём продукт должен быть построен на основе инновационной разработки, ещё не готовой к массовому выпуску. Выделяю на это 10% от всего оборота компании. Работайте, господа».
Неплохо так, да? Немного похоже на какое-то самодурство начальника, чтобы имитировать бурную деятельность. Но фокус в том, что этим начальником был директор Texas Instruments Патрик Хаггерти, который решил создать первое «карманное» радио на основе транзисторов еще в далеком 1954 году. И черт возьми, у него и инженеров компании это получилось.
Предыстория: Texas Instruments и Industrial Development Engineering Associates (IDEA)
Во время Второй мировой войны многие передовые технологические компании, которые в мирное время производили одну продукцию, переориентировались на выпуск совсем другой, направленной исключительно на военное применение. И именно такой симбиоз внес немалый вклад в дело победы над нацизмом.
Подобных примеров великое множество. Один из них — это техасская компания Geophysical Service Inc., или сокращенно GSI. Она была основана в 1930 году и занималась сейсморазведкой методом отраженных волн для поиска нефтяных месторождений. Но в 1941 году компания предложила свои услуги для исследования в области обнаружения подводных лодок и производства соответствующих приборов для кораблей ВМФ США.
Сразу после конца войны GSI нанимает на работу талантливого инженера Патрика Хаггерти — ветерана войны, отлично разбирающегося в электронике. Ему выделяют целое подразделение, которое занимается только разработкой схемотехнических решений для геологии. Работа была настолько успешной, что в 1951 году GSI меняет название на Texas Instruments, а Хаггерти становится директором компании и радикально меняет курс на производство только электроники.
Но на чем сосредоточить усилия? Ответ пришел сам собой. В 1948 году сотрудники Bell Labs Джон Бардин и Уолтер Браттейн, под руководством Уильяма Шокли создали первый в истории транзистор на основе германия. Это была настоящая революция, которая позволила бы заменить огромные электронные лампы и производить более компактные устройства, потребляющие меньше тока.
Однако первые модели были далеки от идеала. Например, не получалось:
-
создать чистый pn-переход с маленьким током утечки;
-
придумать надежный способ присоединения металлических выводов;
-
снизить зависимость от температуры — германиевые транзисторы имели предельную температуру 70 градусов;
-
улучшить характеристики из-за того, что ширина запрещенной зоны в германии составляет менее 0,8 эВ (для примера в кремнии этот показатель составляет 1,12 эВ).
Нужны были серьезные усилия для развития технологии и перехода к массовому производству. В 1952 году Bell Labs делает интересный ход: предлагает купить технологию за 25 000 долларов любой компании через Western Electric. Практически сразу этим воспользовались как гиганты индустрии вроде GE и RCA, так и фирмы поменьше — например, Texas Instruments.
Но TI не могла тягаться в бюджетах с гигантами. Поэтому Хаггерти организовал два подразделения: одно занималось разработками и исследованиями полупроводников и насчитывало всего несколько десятков человек, а другое — искало варианты, как можно создавать рыночные продукты на базе транзисторов. Чем больше будет продаж и прибыли, тем больше появится возможностей нарастить инвестиции в НИОКР.
И тут Хаггерти невероятно повезло: он разместил в газете New York Times объявление с вакансией директора по исследованиям, и этой позицией заинтересовался 22-летний Гордон Тил, бывший сотрудник Bell Labs. Тил участвовал в разработке первого германиевого транзистора, но быстро понял, что более практичным решением будет создание транзистора на основе единого выращенного кристалла кремния. Его инновационные идеи не нашли поддержки в Bell Labs, но Хаггерти оценил их по достоинству.
Для разработки требовался кремний высочайшей степени очистки, и его удалось приобрести у химического концерна Dupont, по цене 500 долларов за фунт.
Тил приступил к работе в январе 1953 года, и спустя 15 месяцев представил три варианта (!!!) кремниевого транзистора на Национальной конференции Института радиоинженеров (IRE) в Дейтоне. Его доклад «Некоторые последние разработки в области кремниевых и германиевых материалов и устройств» произвел фурор среди слушателей.
Кремниевые транзисторы с выращенным npn переходом показали себя как намного более устойчивые в работе, а главное — была возможность наладить их серийное производство со значительно большим процентом выхода готовой продукции, чем при производстве германиевых транзисторов.
Именно Texas Instruments стали поставщиком кремниевых транзисторов на несколько ближайших лет, поскольку конкуренция практически отсутствовала. Те же Bell Labs сделали ставку на производство германиевых транзисторов, хотя наработки по кремниевым транзисторам у них уже были. Первые контракты, как водится, были от военных — большая надёжность и широкий диапазон температур сразу пришлись им по душе, став отличной заменой электронным лампам.
Но как нарастить обороты? Хаггерти понимал, что на одних военных далеко не уедешь — объемы заказов были небольшими. 21 мая 1954 года он поставил рабочей группе задачу: создать радио, которое бы было построено на основе кремниевых транзисторов, и продавать его миллионами штук. Через неделю первый прототип, работавший на основе восьми транзисторов, был готов.
Но мы все знаем, что от образца типа «аналоговнет» до промышленного производства — огромный путь. Поэтому TI решила привлечь к работе подрядчика — Industrial Development Engineering Associates (IDEA).
Компания IDEA, как и Texas Instruments, появилась после Второй мировой войны. Ее основали бывшие сотрудники RCA Джо Уивер и Джон Пайз, и первоначально она задумывалась как производитель телевизоров. Но к 1950 году они смогли создать только десяток устройств, и тут же признали свое поражение перед RCA. Зато нашли другую нишу: начали производить усилители телевизионного сигнала для сельской местности, где прием был плохим.
В начале 50-х годов компания презентовала настоящий хит продаж — усилитель DB-520 под знаменитой маркой Silvertone в сотрудничестве с Sears. Позже появилось подразделение Regency Division и одноименная торговая марка.

Представители Texas Instrument и IDEA встретились в июне 1954 года, чтобы обсудить разработку нового устройства. Пэт Хаггерти предложил выделить на разработку 2 миллиона долларов (примерно 10% от дохода компании на тот момент), но нужно было представить первый транзисторный радиоприемник уже в октябре — аккурат к старту рождественских продаж. По договору TI поставляла бы электронные компоненты, а за производство и маркетинг отвечала бы IDEA под брендом Regency.
Разработка: когда планы совпали с реальностью
Хаггерти видел разработку AM-радиоприемника как трамплин для продаж кремниевых транзисторов. Это позволило бы нарастить производство, снизить себестоимость и закрепиться в качестве монополиста полупроводниковых технологий. Однако возникла проблема — наладить столь массовое производство кремниевых транзисторов к октябрю не получалось. Поэтому решили построить приемник на базе германиевых транзисторов, которые также производились TI в ограниченном количестве.
Но на тот момент цена транзистора составляла примерно 10-15 долларов за штуку. А задача была создать компактный радиоприемник с отпускной ценой не больше 50 долларов — это вдвое дороже ламповых моделей, но «за инновацию можно и раскошелиться». Если взять схему на базе восьми транзисторов, то вписаться в ТЗ явно не получилось бы.
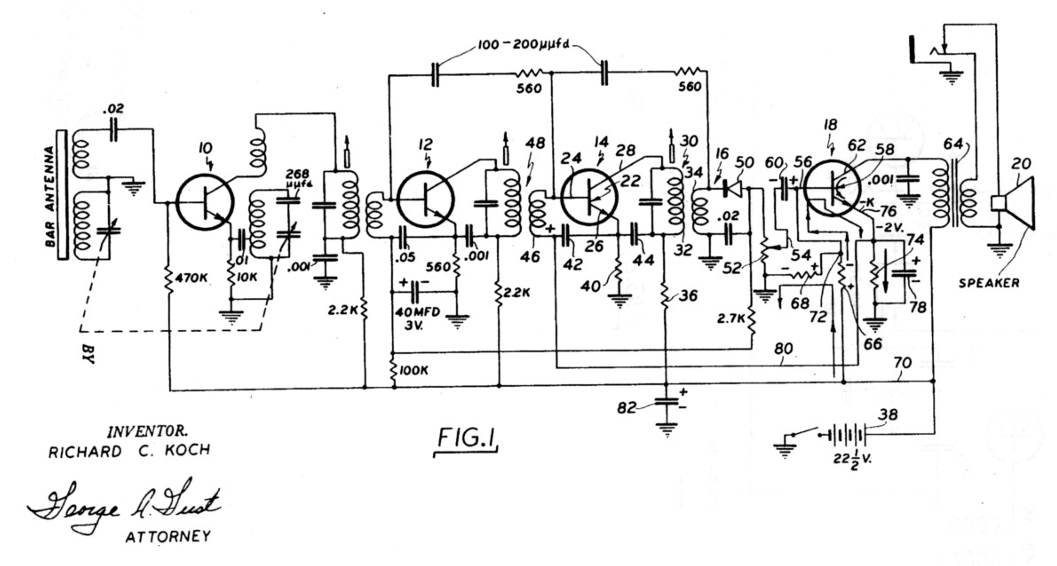
На встрече присутствовал главный инженер IDEA Ричард Кох. Он мало что понимал в транзисторах (и вообще, по его словам, впервые увидел их вживую именно на этой встрече), но зато прекрасно разбирался в схемотехнике. Поэтому сразу же предложил вариант, как можно снизить количество транзисторов до шести.
А через несколько дней предложил схему, как можно обойтись вообще четырьмя транзисторами: заменить детектор (который извлекает аудиосигнал из нужной радиочастоты) на германиевый диод и заодно заменить двухтранзисторый усилитель низкой частоты на однотранзисторный. На первых порах Ричард Кох ориентировался на гибридную схему приемника Emerson Model 838, в которой кроме транзисторов использовались еще и ламповые усилители.
Причем Кох через пару недель после встречи запатентовал схему транзисторного радиоприемника, что вызвало недовольство Texas Instruments. Но делать было нечего, сроки были слишком сжатыми.
Окончательная конструкция на основе четырех транзисторов представляла собой супергетеродинный радиоприемник. Если кратко, то в нем объединяются две частоты для получения промежуточной частоты, которую можно легко усилить. С учетом того, что TI удалось добиться стоимости по 2,5 доллара за транзистор за счет увеличения объема производства, по расчетам это уже позволило бы вписаться в отпускную стоимость радиоприемника в $50.
Однако выход готовых транзисторов на практике оказался крайне низким. И по воспоминаниям сотрудников Texas Instruments, годными с точки зрения коэффициента усиления было всего 10% продукции. Поэтому их приходилось отбирать вручную и тестировать буквально каждый перед поставкой IDEA.
Компактный радиоприемник должен был питаться от батареи 22,5 В и обеспечивать от 20 до 30 часов бесперебойной работы. Интересный факт: такие батареи использовались до этого только для слуховых аппаратов — одно из самых распространенных бытовых применений транзисторов на тот момент.
Более подробно разбор схемотехники TR-1 и ее недостатков можно почитать в этой статье. А также есть интересный обзор на Хабре.
Пока в течение четырех месяцев разрабатывалась и тестировалась схемотехника, параллельно решали еще одну непростую задачу: как сделать приемник настолько компактным, чтобы он помещался в карман рубашки? Времени было слишком мало, поэтому IDEA отдала этот вопрос на аутсорс чикагской фирме Painter, Teague и Petertil. Через несколько итераций подходящий корпус все-таки был разработан в четырех вариациях цветов: чёрного, слоновой кости, мандариново-красного и светло-серого. И надо признать — внешний вид действительно был потрясающим.
Отдельно в приемниках реализовали интересную особенность, которая должна была стать важной маркетинговой составляющей. Дело в том, что Холодная война была в самом разгаре, и простые американцы боялись ядерной атаки, как огня. На ручках настройки всех приемников были обязательно нанесены красными метками две частоты — 640 и 1240 кГц, по которым передавался бы сигнал Гражданской обороны (при этом все остальные радиостанции должны были прекратить вещание). С компактным TR-1 в карманах людей на улицах можно было быть уверенным, что большая часть людей успеет укрыться в бомбоубежище.
Несмотря на все сложности и работу в жуткой спешке, 18 октября 1954 года TI и IDEA объявили о начале выпуска первого транзисторного приемника TR-1. 25 октября, точно по плану, началось производство первой партии — речь шла о 100 000 штук. А 1 ноября стартовали продажи в специализированных магазинах Ньй-Йорка и Лос-Анджелеса. В декабре продажи распространились по всей стране.
При этом все остальные компоненты, помимо самих транзисторов, производились сторонними фирмами. Например:
-
диод — Raytheon;
-
конденсаторы — International Electronics, Erie Electronics и Centralab;
-
динамик — Jensen (к слову, их продукция использовалась в усилителях Fender и стала синонимом качества);
-
трансформаторы — Vokar.
TR-1 продавались неплохо, но недолго
Запланированная отпускная цена $49,95 в итоге получилась примерно равной себестоимости: ни Texas Instruments, ни IDEA практически ничего не зарабатывали на продажах TR-1. Ставка делалась на то, что с ростом спроса получится снизить себестоимость и выйти в прибыль, а заодно — популяризовать транзисторную технологию.
Главным маркетинговым столпом стала молодежь. Дело в том, что тогда в Америке началась очередная музыкальная революция: на смену эпохе джаза пришел рок-н-ролл. На радио вовсю крутили Shake, Rattle and Roll в исполнении Джо Тернера, Rock Around The Clock Билла Хейли и That's All Right Mama Элвиса Пресли. Вот что писали в обзоре в одном из журналов про TR-1:
«Теперь подростки могут слушать музыку где угодно, буквально из своего кармана. А это значит, что не нужно прятать „дикие ритмы“ от неодобряющих ушей их родителей»
Мимо TR-1 не прошел даже Стив Возняк. Вот что он позже вспоминал:
«Мне нравилось то, что он мог делать. Он приносил мне музыку, он открывал мне новый мир. Я мог спать с ним и слушать музыку всю ночь напролет».
Кстати, одним из первых клиентов Regency стал президент IBM Томас Дж. Уотсон-младший, купивший несколько сотен приемников для своих сотрудников. Уотсон поставил перед IBM цель — полностью перейти на транзисторы к 1 июня 1958 года. Каждый раз, когда он слышал возражения инженеров «старой закалки», он просто протягивал им TR-1 со словами: «Ну вот у них же получилось!».
Всего за первый год было продано больше 100 000 штук. Но возникло две большие проблемы, которые привели к тому, что через несколько лет и Texas Instruments, и IDEA отказались от дальнейшего производства AM-радиоприемников.
Причина 1 — плохие отзывы. Инженеры знали, что уменьшив количество транзисторов до четырех, шли на определенные компромиссы. Усилитель был построен на базе одного транзистора, поэтому даже отличные динамики Jansen не спасали ситуацию. Например, в журнале Consumer Reports отметили, что «речь звучит неплохо, а вот слушать музыку невозможно: много металлических призвуков и пронзительных „верхов“».
Ни в какое сравнение с ламповыми радиоприемниками того времени по качеству звучания TR-1 не шли. Количество обращений покупателей с нареканиями в работе доходило до 15-20 %.
Причина 2 — конкуренты. В 1955 году компания Tokyo Telecommunications Engineering Corp. (позже сменившая название на Sony) выпустила свой первый транзисторный приемник TR-55. Поначалу их продукция продавалась только в Японии, но в 1956 году на рынок США поступила шеститранзисторная модель TR-63 (в карманном форм-факторе) по цене $39,95 и сразу стала хитом. Причем в ней использовались транзисторы по технологии, лицензированной Bell Labs, уже на основе кремниевых кристаллов. Качество звука было на порядок лучше, чем в TR-1, а цена — ниже на 10 долларов.
Параллельно на рынок портативных транзисторных приемников вышли GE (model 677), а уже упоминавшийся Emerson представил model 888 Pioneer на базе восьми транзисторов. И все они были более качественными по звучанию и обладали большей надежностью, чем TR-1.
Конечно, Texas Instruments и IDEA сдались не сразу. В 1956 году вышла модель TR-4, тоже четырёхтранзисторная и очень похожая на TR-1, но с питанием от стандартной 9-вольтовой батарейки. TR-4 продавался по 29,95 долларов. В 1958 году появились модели TR-5C и TR-7, на базе семи кремниевых транзисторов. Но справиться прежде всего с японским импортом было уже невозможно, и в 1960 году производство AM-радиоприемников окончательно свернули.
После этого Texas Instruments сосредоточилась на других способах продвижения своей продукции. И как мы с вами знаем, преуспела в этом, до сих пор являясь одним из лидеров полупроводниковой промышленности во всем мире.
По ссылке можно ознакомиться с оригинальным руководством пользователя на TR-1.
Наследие TR-1: TI и IDEA открыли дорогу массовому распространению транзисторов
Назвать TR-1 коммерчески успешным продуктом вряд ли у кого-то повернётся язык. Проблемы были буквально во всём: от сжатого времени на выпуск и использования менее совершенных германиевых транзисторов до колоссального процента брака и плохих отзывов, которые стали следствием этого.
Но первопроходцам всегда тяжело: они первыми сталкиваются с трудностями и ошибками. Миллионные продажи следующего поколения радиоприёмников доказали, что концепция Хаггерти была удачной. Во многом благодаря TR-1 транзисторы вошли в повседневную жизнь, заменив громоздкие ламповые схемы, которые сохранились лишь как изысканная находка для аудиофилов.
А у вас был портативный радиоприемник?
НЛО прилетело и оставило здесь промокод для читателей нашего блога:
-15% на заказ любого VDS (кроме тарифа Прогрев) — HABRFIRSTVDS
Автор: klimensky
