
Здравствуйте читатели! Мне всегда были интересны всякие устройства, и еще больше была интересна возможность создавать их самому. И вот, однажды после очередной мысли блуждающей в голове была приобретена Arduino Mega 2560 и начались эксперименты. Как и большинство из тех кто становился обладателем Arduino, я, вдоволь помигав светодиодами, покрутив шаговые двигатели, решил двигаться дальше и создать что-нибудь более полезное. Когда идея о будущем устройстве сформировалась в голове я приступил к разработке. Успешная реализация идеи подразумевает решение нескольких комплексных задач. Одной из таких задач является создание удобного интерфейса для настройки.
Устройство имеет довольно большое количество параметров (несколько десятков) и в дальнейшем их количество скорей всего будет увеличиваться. Управлять таким количеством параметров отдельными кнопками и потенциометрами, как и контролировать точные значения параметров — невозможно, поэтому устройство оснащено дисплеем и клавиатурой, а управление параметрами осуществляется через меню. Для удобства настройки меню многоуровневое. Значения параметров имеют различный тип, это может быть как вкл/выкл, числовое значение, время и т. д. Так как у параметра может быть большое количество значений то имеется также возможность задания параметра путем удержания кнопки. Теперь подробней как это реализуется.
Клавиатура.
Обеспечение работы клавиатуры немного более сложная задача чем кажется на первый взгляд человеку никогда не имеющему дело с электроникой. Так как мы имеем меню то для управления нам понадобятся следующие кнопки:
«Вверх» (передвижение вверх по меню, выбор следующего значения для параметра)
«Вниз» (передвижение вниз по меню, выбор предыдущего значения для параметра)
«Вправо» (вход в подменю, начало редактирования параметра)
«Влево» (выход из подменю, выход из редактирования параметра)
дополнительно нам пригодится еще несколько кнопок, например:
«Старт/Стоп»
«Быстрое действие 1»
«Быстрое действие 2»
«Быстрое действие 3»
…
«Быстрое действие 100»
Я намеренно указал большое количество кнопок, так как устройство будет развиваться и, с большой вероятностью, по мере использования, настройка некоторых параметров будет вынесена на главную панель. Также на панель будут выноситься кнопки для выполнения быстрых действий. Из этого следует что использовать для каждой кнопки отдельный вход микроконтроллера будет неправильно так как нам может либо не хватить входов, либо мы будем тратить много времени на обработку этих входов. Но существует очень распространенное решение этой задачи, при этом понадобится лишь один аналоговый вход. Суть решения заключается в следующем:
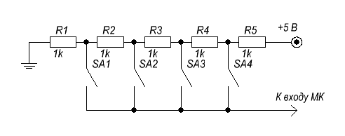
Клавиатура собирается из множества последовательно соединенных резисторов которые представляют из себя делитель напряжения. Один конец цепи подключается к земле, другой конец цепи подключается к +5 В. Далее все кнопки одним контактом подключаются к входу микроконтроллера а другим контактом к местам соединения резисторов. Схема такой клавиатуры выглядит следующим образом:
Таким образом в момент нажатия кнопки на вход микроконтроллера подается определенное напряжение которое зависит от нажатой кнопки. Микроконтроллер измеряя это напряжение с помощью АЦП понимает какая кнопка нажата.
Дребезг контактов.
Следующая задача заключается в решении проблемы дребезга контактов. Используя выключатели для света, различные кнопки, клавиатуры и т. д. мы часто не задумываемся о том, что происходит внутри этой кнопки. Складывается ошибочное впечатление что кнопка имеет два фиксированных состояния — включено/выключено. На самом же деле когда мы нажимаем на кнопку то замыкание цепи происходит не сразу. В течении короткого промежутка времени(короткого только для человека, но не для микроконтроллера осуществляющего миллионы операций в секунду) контакты вибрируют, искрят, шумят и т. д. и кнопка за этот промежуток времени может имитировать большое количество срабатываний (нажатий и отжатий). Таким образом если эта кнопка используется, например, для счетчика нажатий то без защиты от дребезга контактов при однократном нажатии наш микроконтроллер может подумать что кнопку нажали 3 раза, или 5, или 20 раз и т. д. Все зависит от качества кнопки, частоты опроса кнопки, от погоды на Марсе и т. д. В большинстве случаев проблема решается считыванием значения кнопки не сразу после нажатия а через некоторое время.
Программно защиту от дребезга контактов реализуют несколькими способами, и, к сожалению довольно часто, для этого используют функцию Delay(). Я бы не рекомендовал ее использовать так как в момент ее выполнения микроконтроллер гоняет балду вместо того чтобы заниматься делами которыми он должен заниматься, таким образом мы теряем часть производительности. Вместо использования Delay() я запоминаю время нажатия кнопки и сам факт того что было нажатие. В рабочем цикле loop проверяется было ли нажатие и если нажатие было то сравнивается время нажатия с текущим временем. Если разница выше определенного значения (определенной задержки за которое дребезг успевает устаканиться) то производится считывание значения нажатой кнопки.
Такая реализация заодно позволяет реализовать функционал «зажатой кнопки» т. е. если нам необходимо увеличить значение параметра, например, с 1 до 100, то нам не придется 100 раз нажимать кнопку. Мы просто нажмем и будет удерживать ее. В момент нажатия значение однократно изменится с 1 на 2 и через несколько секунд удержания кнопки значение начнет изменяться с большой скоростью. Запоминание времени позволяет также легко задать несколько зависимостей, например если мы держим кнопку 1 секунду то значение начинает изменяться каждые 500 миллисекунд. Если мы держим кнопку 5 секунд то значение начинает изменяться каждые 25 миллисекунд и т. д.
Дополнительно такая реализация также защищает от быстрого повторного срабатывания кнопки сразу после нажатия. Т. е. если кнопка, например, отвечает за съемку кадра фотоаппаратом, то при нажатии кнопки фотоаппарат не начнет строчить как из пулемета. Будет сделан первый кадр и повторные кадры начнут сниматься только через некоторое время.
//пин к которому подключена панель управления
int KeyButton1Pin=0;
//значение с панели управления
int KeyButton1Value=0;
//последнее время когда на панели не было нажатых кнопок
long KeyButton1TimePress=0;
//задержка перед считыванием состояния панели управления после нажатия
long KeyButton1Latency=100000;
//метка означающая что нажатие кнопки на панели было обработано
int KeyButton1WasChecked=0;
//время после которого удерживание кнопки начинает засчитываться как многократные быстрые нажатия
long KeyButton1RepeatLatency=1500000;
//вспомогательная переменная для обработки повторных нажатий
long KeyButton1RepeatTimePress=0;
//переменная для хранения времени между временем когда не было зажатых кнопок и временем проверки
long KeyButton1TimeFromPress=0;
//Переменные для обработки времени для обработки событий клавиатуры
long KeyBoardTime1=0;
long KeyBoardTime2=0;
long KeyBoardTimeInterval=25000;
void setup()
{
pinMode(KeyButton1Pin, INPUT);
}
void UpPress()
{
//действия при нажатии кнопки "вверх"
}
void DownPress()
{
//действия при нажатии кнопки "вниз"
}
void ButtonPress()
{
if ((KeyButton1Value>125) and (KeyButton1Value<135))
{
UpPress();
}
if ((KeyButton1Value>255) and (KeyButton1Value<262))
{
DownPress();
}
}
void KeyBoardCalculate()
{
//Часть отработки нажатия клавиши
KeyButton1Value=analogRead(KeyButton1Pin);
//если сигнал с кнопки нулевой то обнуляем метку обработки нажатия
if ((KeyButton1Value<=50) or (KeyButton1Value>=1000))
{
//Сохраняем время последнего сигнала без нажатой кнопки
KeyButton1TimePress=micros();
KeyButton1WasChecked=0;
KeyButton1RepeatTimePress=0;
}
KeyButton1TimeFromPress=micros()-KeyButton1TimePress;
//исключаем шумы
if ((KeyButton1Value>50) and (KeyButton1Value<1000))
{
//отработка первого нажатия
if ( ((KeyButton1TimeFromPress)>KeyButton1Latency) and (KeyButton1WasChecked==0))
{
KeyButton1Value=analogRead(KeyButton1Pin);
ButtonPress();
KeyButton1WasChecked=1;
KeyButton1RepeatTimePress=0;
}
//отработка повторных нажатий
if ( ((KeyButton1TimeFromPress)>(KeyButton1RepeatLatency+KeyButton1RepeatTimePress)) and (KeyButton1WasChecked==1))
{
KeyButton1Value=analogRead(KeyButton1Pin);
ButtonPress();
KeyButton1RepeatTimePress=KeyButton1RepeatTimePress+500000;
}
}
}
void loop() {
//проверка таймера для обработки нажатий клавиатуры
KeyBoardTime2=micros();
if ((KeyBoardTime2-KeyBoardTime1)>KeyBoardTimeInterval)
{
KeyBoardTime1=KeyBoardTime2;
KeyBoardCalculate();
}
}
Работает следующим образом:
В цикле loop постоянно запоминаем текущее время в переменную KeyBoardTime2 и сравниваем ее с переменной KeyBoardTime1. В случае если разница между данными переменными будет больше чем переменная KeyBoardTimeInterval то мы сохраняем в переменную KeyBoardTime1 переменную KeyBoardTime2 и запускаем процедуру для обработки нажатий KeyBoardCalculate(). Дальнейшая обработка нажатий проверяется в процедуре KeyBoardCalculate(). Такой механизм позволяет нам сократить количество проверок нажатия кнопки, и более менее фиксировать частоту проверок без использования Delay.
В процедуре KeyBoardCalculate() первым делом считывается уровень напряжения с делителя напряжения клавиатуры
KeyButton1Value=analogRead(KeyButton1Pin);
Функция analogRead в случае использования Arduino Mega 2560 кодирует аналоговое значения напряжения входа в цифровое 10-битное значение, т. е. если на входе мы будем иметь 5 В то значение будет равно 1023, если на входе 0 В то значение равно 0, если на входе 2.5 В то значение равно 512 и т. д. Таким образом в переменной KeyButton1Value хранится напряжение получаемое с клавиатуры. В моей клавиатуре в качестве рабочего диапазона я принял диапазон от 50 до 1000, т. е. в случае если на входе напряжение из этого диапазона то микроконтроллер думает что нажата одна из кнопок. Если значение не попадает в этот диапазон то микроконтроллер думает что нет ни одной нажатой кнопки.
После того как считано значение с клавиатуры программа определяет нажата ли хоть одна кнопка
if ((KeyButton1Value<=50) or (KeyButton1Value>=1000))
Если ни одна кнопка не нажата это условие выполнится и программа сохранит последнее время когда не была нажата ни одна кнопка в переменную KeyButton1TimePress, после чего обнулит переменную KeyButton1WasChecked, говорящую о том что есть необработанные нажатия и переменную KeyButton1RepeatTimePress, использующуюся при обработке повторных нажатий.
Далее в переменную KeyButton1TimeFromPress заносится разница между текущим временем и последним временем когда не была нажата ни одна кнопка.
Затем выполняется проверка нажатия кнопки:
if ((KeyButton1Value>50) and (KeyButton1Value<1000))
Если кнопка нажата то данное условие выполняется и мы проверяем факт первого нажатия кнопки
if ( ((KeyButton1TimeFromPress)>KeyButton1Latency) and (KeyButton1WasChecked==0))
Если время которое прошло с момента последнего нажатия кнопки больше чем время в течении которого устаканивается дребезг контактов (переменная KeyButton1Latency) и это нажатие мы еще не обработали (KeyButton1WasChecked==0) то запоминаем значение клавиатуры:
KeyButton1Value=analogRead(KeyButton1Pin);
запускаем процедуру ButtonPress() (которая определяет какое действие надо сделать для этой кнопки), запоминаем что обработали первое нажатие (KeyButton1WasChecked=1) и обнуляем переменную для обработки повторных нажатий (KeyButton1RepeatTimePress=0).
Если время которое прошло с момента последнего нажатия кнопки больше чем время после которого мы считаем что нажатие повторное+время следующей обработки повторного нажатия ((KeyButton1TimeFromPress)>(KeyButton1RepeatLatency+KeyButton1RepeatTimePress)) и первая обработка нажатия уже произошла (KeyButton1WasChecked==1) то сохраняем значение клавиатуры:
KeyButton1Value=analogRead(KeyButton1Pin);
запускаем процедуру ButtonPress() (которая определяет какое действие надо сделать для этой кнопки), увеличиваем время через которое будет снова обработано удерживание кнопки
KeyButton1RepeatTimePress=KeyButton1RepeatTimePress+500000;
Процедура выполнения соответствующего для кнопки действия выглядит так:
void ButtonPress()
{
if ((KeyButton1Value>125) and (KeyButton1Value<135))
{
UpPress();
}
if ((KeyButton1Value>255) and (KeyButton1Value<262))
{
DownPress();
}
}
т.е. проверяется какое напряжение выдает клавиатура и выполняется соответствующее действие, например, если измеренное напряжение имеет значение от 125 до 135 то нажата кнопка Вверх, если от 255 до 262 то кнопка Вниз и т.д. Количество кнопок и процедур их обрабатывающих ограничивается практически только вашей фантазией, уровнем шумов вашей клавиатуры и битностью АЦП.
Собственно вот и все что относится к обработке клавиатуры. Еще раз кратко. Если нажата кнопка — проверяем, если кнопка нажата первый раз то проверяем как давно, если недавно то работаем дальше пропустив обработку клавиатуры, если кнопка нажата уже достаточно долго и дребезга нет то запоминаем значение клавиатуры, обрабатываем действие для кнопки и запоминаем что первый раз нажатие уже обработано, если же первое нажатие кнопки уже обработано то проверяем наступило ли время повторной обработки кнопки, если наступило то обрабатываем нажатие и вычисляем время следующей повторной обработки.
Немного слов о том почему я использовал такую конструкцию в цикле loop, а не использовал прерывания. Дело в том что я не силен в работе прерываний микроконтроллеров и в моем устройстве уже используется одно прерывание которое должно работать с очень хорошей периодичностью, причем частота выполнения этого прерывания меняется со временем. Поэтому для избежания накладывания прерываний обработки клавиатуры на «важные» прерывания я решил отказаться от них, да и в моем понимании при неумении правильно «готовить» прерывания, они могут оказать негативный эффект, схожий с тем что возникает при использовании переходов GoTo.
Меню.
Теперь мы дошли до описания работы меню. Для реализации структуры меню я вспомнил курс информатики, динамические списки и графы. Если вкратце то динамические списки бывают разные. Самые простые из них, например однонаправленные и двунаправленные.
Однонаправленные выглядят так:

Изначально мы имеем адрес элемента 1. Зная его адрес мы можем перейти на сам элемент 1, получить его значение и узнать адрес следующего элемента. Таким образом мы можем последовательно проходить по списку, узнавать значения и адреса следующих элементов. Беда такого списка в том что он однонаправленный. Т. е. перейдя в элемент 5 мы не можем вернуться в элемент 4. Для этого нам придется пройти весь список заново. Эта проблема решена в двунаправленных списках:
Двунаправленные списки:

В таком списке находясь в элементе 5 нам известен адрес элемента 4 и мы можем без проблем перейти к этому элементу.
Для наглядности мы можем представить этот список в виде трех массивов, где массив Value[] хранит значения элементов. Массив Parent[] хранит индексы родителей либо 0 если родителей нет, и массив Child[] хранит индексы дочерних элементов и 0 если дочерних элементов нет. Таким образом двунаправленный список который был описан выше будет выглядеть так:
| N | Value | Parent | Child |
| 1 | 1 | 0 | 2 |
| 2 | 2 | 1 | 3 |
| 3 | 3 | 2 | 4 |
| 4 | 4 | 3 | 5 |
| 5 | 5 | 4 | 0 |
Если мы например хотим сделать этот список кольцом то он будет выглядеть так:
| N | Value | Parent | Child |
| 1 | 1 | 5 | 2 |
| 2 | 2 | 1 | 3 |
| 3 | 3 | 2 | 4 |
| 4 | 4 | 3 | 5 |
| 5 | 5 | 4 | 1 |
С этим думаю все понятно.
Давайте теперь представим что наша структура выглядит не как цепочка элементов а как дерево элементов. В таком случае элемент по прежнему может иметь одного родителя, но количество дочерних элементов теперь может быть любым. Такую структуру наши три массива уже описать не способны так как они хранят только два адреса. Эту проблему можно решить следующим образом — введем дополнительное условие. Пусть все дочерние элементы одного родительского элемента будут стоять строго по порядку. В дополнение к этому я изменю массив Child[] на массив ChildFirst[] и добавлю еще один массив ChildEnd[]. Пусть эти два массива хранят в себе индексы первого и последнего дочернего элемента соответственно и ноль если у элемента нет дочерних элементов.
Таким образом, например, если у нас есть один родительский элемент и три дочерних то структура будет выглядеть следующим образом:
| N | Value | Parent | ChildFirst | ChildEnd |
| 1 | 1 | 2 | 2 | 5 |
| 2 | 2 | 0 | 3 | 0 |
| 3 | 3 | 0 | 4 | 0 |
| 4 | 4 | 0 | 5 | 0 |
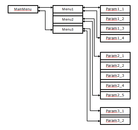
Или если изобразить графически то примерно так:

Теперь у нас есть возможность описывать деревья. Давайте также введем некий элемент номер ноль. Пусть он будет родителем всех элементов для которых значение Parent равно нулю. А теперь взглянем на небольшой пример:
Используя тот же принцип можно описать и другую структуру, например:
| N | Value | Parent | ChildFirst | ChildEnd |
| 0 | Main Menu | 0 | 1 | 3 |
| 1 | Menu1 | 0 | 4 | 7 |
| 2 | Menu2 | 0 | 10 | 14 |
| 3 | Menu3 | 0 | 8 | 9 |
| 4 | Param1_1 | 1 | 0 | 0 |
| 5 | Param1_2 | 1 | 0 | 0 |
| 6 | Param1_3 | 1 | 0 | 0 |
| 7 | Param1_4 | 1 | 0 | 0 |
| 8 | Param3_1 | 3 | 0 | 0 |
| 9 | Param3_2 | 3 | 0 | 0 |
| 10 | Param2_1 | 2 | 0 | 0 |
| 11 | Param2_2 | 2 | 0 | 0 |
| 12 | Param2_3 | 2 | 0 | 0 |
| 13 | Param2_4 | 2 | 0 | 0 |
| 14 | Param2_5 | 2 | 0 | 0 |
Графически это будет выглядеть примерно так:

Если мы нарисуем структуру которую описывают эти данные то получим основное меню Main Menu, состоящее из трех пунктов — Menu1,Menu2,Menu3. Каждый из этих пунктов включает в себя нескольких параметров ParamX_Y. Собственно это все. Мы получили меню с некоторым количеством параметров. Для возможности изменять параметры я добавил еще несколько массивов:
MenuTypeCode[]-массив содержит цифру которая показывает тип пункта меню. Например, если это пункт меню, а не параметр то значение равно 0, если это редактируемый параметр то для целого числа это будет цифра 1, для времени это цифра 2, для значений On|Off это цифра 3 и т. д. сколько душе угодно.
MenuValue[]-массив содержит значение конкретного параметра который мы настраиваем.
Таким образом добавив эти массивы к предыдущей структуре и заполнив их вымышленными данным получим структуру которая будет описываться так:
| N | Value | Parent | ChildFirst | ChildEnd | MenuTypeCode | MenuValue |
| 0 | Main Menu | 0 | 1 | 3 | 0 | 0 |
| 1 | Menu1 | 0 | 4 | 7 | 0 | 0 |
| 2 | Menu2 | 0 | 10 | 14 | 0 | 0 |
| 3 | Menu3 | 0 | 8 | 9 | 0 | 0 |
| 4 | Param1_1 | 1 | 0 | 0 | 1 | 50 |
| 5 | Param1_2 | 1 | 0 | 0 | 2 | 3600 |
| 6 | Param1_3 | 1 | 0 | 0 | 3 | 0 |
| 7 | Param1_4 | 1 | 0 | 0 | 1 | 120 |
| 8 | Param3_1 | 3 | 0 | 0 | 2 | 7200 |
| 9 | Param3_2 | 3 | 0 | 0 | 3 | 1 |
| 10 | Param2_1 | 2 | 0 | 0 | 1 | 8 |
| 11 | Param2_2 | 2 | 0 | 0 | 2 | 0 |
| 12 | Param2_3 | 2 | 0 | 0 | 3 | 1 |
| 13 | Param2_4 | 2 | 0 | 0 | 1 | 5 |
| 14 | Param2_5 | 2 | 0 | 0 | 2 | 60 |
В итоге получилось меню MainMenu где например в пункте Menu1 есть параметр Param1_2 имеющий значение MenuValue=3600. Так как мы знаем что значение MenuTypeCode для этого элемента равно 2 то мы трактуем это значение как время, т.е. например поделим на 3600 секунд и получим 1 час. Для элемента Param1_3 значение MenuTypeCode равно 3 и мы будем трактовать MenuValue=0 не как ноль, а как Off. Забегая вперед скажу что в итоге это будет выглядеть так:

Осталось лишь реализовать программно правильный вывод на дисплей и правильное редактирование параметров. Перед описанием кода еще пару слов о железе. В качестве дисплея я использовал дисплей JN12864J с контроллером Sitronix ST7920 (разрешение дисплея 128х64 как раз подходит для отображения меню). Для работы с дисплеем использовал библиотеку U8glib. Клавиатура подключена к входу A0.
Я постарался максимально подробно прокомментировать код. Часть функционала уже описана выше. Расскажу подробней как осуществляется вывод меню на экран, редактирование пунктов, передвижение по меню:
Ранее описано что после обработки нажатия кнопки запускается процедура ButtonPress(), которая в свою очередь определяет какая кнопка была нажата и в зависимости от нажатой кнопки запускает соответствующие процедуры:
Для кнопки «Вверх» — процедура UpPress(), используется для передвижения по меню вверх, в режиме редактирования увеличивает значение параметра.
Для кнопки «Вниз» — процедура DownPress(), используется для передвижения по меню вниз, в режиме редактирования уменьшает значение параметра.
Для кнопки «Вправо» — процедура RightPress(), используется для входа в меню либо для входа в режим редактирования параметра.
Для кнопки «Влево» — процедура LeftPress(), используется для выхода из дочернего меню либо для выхода из режима редактирования.
В самом начале работы программы мы формируем меню запуском процедуры MenuSetup() В этой процедуре полностью описывается вся структура меню. Также задается начальное положение в меню:
MenuNowPos=1;
Данная переменная хранит в себе индекс выделенного пункта меню.
Во время нажатия кнопок проверяется не находимся ли мы в режиме редактирования. Для этого используется переменная MenuEdit. Если данная переменная равна единице это означает что в данный момент времени мы редактируем значение параметра имеющего индекс MenuNowPos.
Таким образом если мы нажали кнопку Вверх или кнопку Вниз то производится проверка включен или нет режим редактирования. Если режим редактирования включен то проверяем тип элемента с индексом MenuNowPos и в соответствии с его типом меняем его значение. Для кнопки Вниз например:
//если находимся в режиме редактирования
if (MenuEdit==1)
{
//проверяем какого типа меню и проверяем соответствующие ограничения, также контроллируем в зависимости от значения приращение
//или уменьшение значения
if (MenuTypeCode[MenuNowPos]==1)
{
if (MenuValue[MenuNowPos]>0)
{
MenuValue[MenuNowPos]=MenuValue[MenuNowPos]-1;
}
}
//Если тип временной интервал
if (MenuTypeCode[MenuNowPos]==2)
{
if (MenuValue[MenuNowPos]>0)
{
MenuValue[MenuNowPos]=MenuValue[MenuNowPos]-1;
}
}
//Если пункт меню бинарный то инвертируем значение
if (MenuTypeCode[MenuNowPos]==3)
{
MenuValue[MenuNowPos]=(MenuValue[MenuNowPos]+1) % 2;
}
}
Если режим редактирования выключен то проверяем есть ли соседний дочерний элемент у выделенного, и, если такой элемент есть то передвигаемся на него вверх или вниз, в зависимости от того какая кнопка нажата. Например для кнопки Вверх:
//если не находимся в режиме редактирования то кнопка используется для передвижения по меню
if (MenuEdit==0)
{
//если текущая позиция в меню больше чем позиция первого элемента в этом меню то можно осуществлять передвижение.
if (MenuChildFirst[MenuParent[MenuNowPos]]<MenuNowPos)
{
//осуществляем передвижение по меню на 1 пункт
MenuNowPos=MenuNowPos-1;
//при движении вверх проверяем где расположен выделенный пункт меню на дисплее
//если выделенный пункт не упирается в край дисплея то также смещаем его на дисплее на 1 позицию
if (MenuDrawPos>0)
{
MenuDrawPos=MenuDrawPos-1;
}
}
}
Аналогичная операция производится при нажатии кнопок Влево и Вправо. Если нажимаем кнопку Влево то проверяем находимся ли в режиме редактирования, если да выходим из него:
if (MenuEdit==1)
{
MenuEdit=0;
}
есди нет то проверяем есть ли для текущего элемента родительский, и, если есть — переходим на него:
//если не находимся в режиме редактирования
if (MenuEdit==0)
{
//если пункт меню содержит ненулевой индекс родителя (т.е. мы находимся внутри другого меню)
if (MenuParent[MenuNowPos]>0)
{
//то переходим на индекс родительского пункта меню
MenuNowPos=MenuParent[MenuNowPos];
//установка позиции на экарне, если количество пунктов меньше чем влезает на экране то выделенный пункт будет в самом низу но не в конце
//иначе будет в самом конце
if (MenuChildEnd[MenuParent[MenuNowPos]]-MenuChildFirst[MenuParent[MenuNowPos]]<MenuDrawCount)
{
MenuDrawPos=MenuNowPos-MenuChildFirst[MenuParent[MenuNowPos]];
}
else
{
MenuDrawPos=MenuDrawCount-1;
}
}
}
Для кнопки Вправо алгоритм практически такой же. Проверяем есть ли дочерний элемент для текущего, и, если есть — переходим на него, если же нет и мы стоим на параметре то включаем режим редактирования:
void RightPress()
{
//если код типа элемента отличается от нуля (т.е. выделенный элемент является параметром) то включаем режим редактирования
if (MenuTypeCode[MenuNowPos]>0)
{
MenuEdit=1;
}
//если код типа элемента равен нулю значит в данный момент выделен пункт меню и мы можем войти в него
if (MenuTypeCode[MenuNowPos]==0)
{
//обнуляем позицию выделенного пункта на экране
MenuDrawPos=0;
//переходим на первый дочерний элемент для текущего элемента
MenuNowPos=MenuChildFirst[MenuNowPos];
}
}
Остается лишь вывести все на экран. Для этого используется процедуры Draw() и DrawMenu()
Процедура Draw() имеет стандартный вид для библиотеки U8glib. Запускает обновление экрана и завершает свое выполнение когда обновление завершено. Ее вызов происходит в цикле loop с некоторой периодичностью.
void Draw()
{
u8g.firstPage();
do
{
//прорисовка статуса калибровки
DrawMenu();
} while( u8g.nextPage() );
}
Процедура DrawMenu() отвечает непосредственно за вывод меню. Принцип прост — у нас есть несколько переменных:
MenuNowPos — индекс текущего выделенного элемента
MenuDrawPos — номер строки на экране в которой находится текущий выделенный элемент MenuNowPos
MenuDrawCount — максимальное количество отображаемых строк на экране.
Таким образом зная индекс выделенного элемента MenuNowPos мы можем определить его родительский элемент -MenuParent[MenuNowPos] а зная его родительский элемент мы можем определить все соседние элементы входящие в то же меню что и элемент MenuNowPos. Это элементы начина с MenuChildFirst[MenuParent[MenuNowPos]] и кончая MenuChildEnd[MenuParent[MenuNowPos]].
Таким образом не составит труда в любой момент времени вывести на экран либо все эти элементы если их мало, либо часть из них если их больше чем количество отображаемых на экране строк.
Так же не составит труда в процессе отображения этих элементов определить являются ли эти элементы параметрами:
if (MenuTypeCode[MenuNowPos]>0)
и, если являются то рядом с ними отобразить их текущее значение в зависимости от их типа, например, для бинарного типа:
if (MenuTypeCode[MenuNowPos]==3)
{
if (MenuValue[MenuNowPos]==0) {u8g.print("Off");}
else {u8g.print("On");}
Немного видео демонстрирующего работу меню. В видео есть и меню не помещающееся на экран, и разные типы параметров (цифры, время, On|Off) и многоуровневое меню (меню в меню в основном меню), и повторное срабатывание кнопки через некоторое время:
Полный код рабочей программы привожу ниже:
#include "U8glib.h"
//указание пинов для использования дисплея, не обязательно брать пины аппаратного SPI
U8GLIB_ST7920_128X64_1X u8g(36, 38, 39);
//переменные для работы с клавиатурой
//пин к которому подключена панель управления
int KeyButton1Pin=0;
//значение с панели управления
int KeyButton1Value=0;
//последнее время когда на панели не было нажатых кнопок
long KeyButton1TimePress=0;
//задержка перед считыванием состояния панели управления после нажатия
long KeyButton1Latency=100000;
//метка означающая что нажатие кнопки на панели было обработано
int KeyButton1WasChecked=0;
//время после которого удерживание кнопки начинает засчитываться как многократные быстрые нажатия
long KeyButton1RepeatLatency=1500000;
//вспомогательная переменная для обработки повторных нажатий, после каждого повторного срабатывания переменная увеличивается
//сдвигая тем самым време следующего повторного срабатывания зажатой кнопки
long KeyButton1RepeatTimePress=0;
//переменная для хранения времени между временем когда не было зажатых кнопок и временем проверки
long KeyButton1TimeFromPress=0;
//Переменные используются для периодической обработки нажатий клавиатуры
//время прошлой обработки клавиатуры
long KeyBoardTime1=0;
//текущее время
long KeyBoardTime2=0;
//период обработки клавиатуры
long KeyBoardTimeInterval=25000;
//Переменные отвечающие за меню
//Массив с названиями меню
char* MenuNames[50];
//Тип элемента меню
//0-родительское меню
//1-целое число
//2-временной интервал (h:m:s, целое число но отображается как время)
//3-Вкл/Выкл (целое число, но отображается как On/Off)
//4-Расстояние (cm, целое число, но отображается как 0.хх метров)
int MenuTypeCode[50];
//Значение элемента меню
int MenuValue[50];
//Текущая позиция в меню, вложенность не важна т.к. меню представляет из себя список с ссылками на родительские
//и дочерние пункты
int MenuNowPos=0;
//Режим редактирования (0-нет, просто выделен определенный параметр или пункт меню, 1-редактируем значение параметра)
int MenuEdit=0;
//номер элемента меню который является для данного родительским
//0-нет родительского элемента
int MenuParent[50];
//номер элемента меню который является для данного дочерним
//0-нет дочернего элемента
int MenuChild[50];
//Номер элемента дочернего меню который является первым
int MenuChildFirst[50];
//номер элемента дочернего меню который является последним
int MenuChildEnd[50];
//позиция меню в которой находится выделенный пункт на экране (например на экране отображается 3 пункта при этом выделен второй)
int MenuDrawPos=0;
//максимальное количество отображаемых на экране пунктов
int MenuDrawCount=4;
//переменные для таймера перерисовки
//время последней перерисовки
long DrawTime1=0;
//текущее время
long DrawTime2=0;
//интервал для перерисовки экрана
long DrawTimeInterval=200000;
void MenuSetup()
{
//Настройка меню
//задаем начальное положение в меню
MenuNowPos=1;
//Массив с названиями меню, индексами родительских элементов меню, начальными и конечными индексами дочерних элементов меню
//также задаем начальные значения параметров элементов и их тип
MenuNames[0]="Main Menu";
MenuTypeCode[0]=0;
MenuValue[0]=0;
MenuParent[0]=0;
MenuChildFirst[0]=1;
MenuChildEnd[0]=3;
MenuNames[1]="Menu1";
MenuTypeCode[1]=0;
MenuValue[1]=0;
MenuParent[1]=0;
MenuChildFirst[1]=4;
MenuChildEnd[1]=9;
MenuNames[2]="Menu2";
MenuTypeCode[2]=0;
MenuValue[2]=0;
MenuParent[2]=0;
MenuChildFirst[2]=10;
MenuChildEnd[2]=11;
MenuNames[3]="Menu3";
MenuTypeCode[3]=0;
MenuValue[3]=0;
MenuParent[3]=0;
MenuChildFirst[3]=12;
MenuChildEnd[3]=15;
MenuNames[4]="Param1_1";
MenuTypeCode[4]=1;
MenuValue[4]=0;
MenuParent[4]=1;
MenuChildFirst[4]=0;
MenuChildEnd[4]=0;
MenuNames[5]="Param1_2";
MenuTypeCode[5]=2;
MenuValue[5]=0;
MenuParent[5]=1;
MenuChildFirst[5]=0;
MenuChildEnd[5]=0;
MenuNames[6]="Param1_3";
MenuTypeCode[6]=3;
MenuValue[6]=0;
MenuParent[6]=1;
MenuChildFirst[6]=0;
MenuChildEnd[6]=0;
MenuNames[7]="Param1_4";
MenuTypeCode[7]=1;
MenuValue[7]=0;
MenuParent[7]=1;
MenuChildFirst[7]=0;
MenuChildEnd[7]=0;
MenuNames[8]="Param1_5";
MenuTypeCode[8]=2;
MenuValue[8]=0;
MenuParent[8]=1;
MenuChildFirst[8]=0;
MenuChildEnd[8]=0;
MenuNames[9]="Param1_6";
MenuTypeCode[9]=3;
MenuValue[9]=0;
MenuParent[9]=1;
MenuChildFirst[9]=0;
MenuChildEnd[9]=0;
MenuNames[10]="Param2_1";
MenuTypeCode[10]=3;
MenuValue[10]=0;
MenuParent[10]=2;
MenuChildFirst[10]=0;
MenuChildEnd[10]=0;
MenuNames[11]="Param2_2";
MenuTypeCode[11]=3;
MenuValue[11]=0;
MenuParent[11]=2;
MenuChildFirst[11]=0;
MenuChildEnd[11]=0;
MenuNames[12]="Param3_1";
MenuTypeCode[12]=1;
MenuValue[12]=0;
MenuParent[12]=3;
MenuChildFirst[12]=0;
MenuChildEnd[12]=0;
MenuNames[13]="Param3_2";
MenuTypeCode[13]=3;
MenuValue[13]=0;
MenuParent[13]=3;
MenuChildFirst[13]=0;
MenuChildEnd[13]=0;
MenuNames[14]="Param3_3";
MenuTypeCode[14]=3;
MenuValue[14]=0;
MenuParent[14]=3;
MenuChildFirst[14]=0;
MenuChildEnd[14]=0;
MenuNames[15]="Menu3_4";
MenuTypeCode[15]=0;
MenuValue[15]=0;
MenuParent[15]=3;
MenuChildFirst[15]=16;
MenuChildEnd[15]=17;
MenuNames[16]="Param3_4_1";
MenuTypeCode[16]=2;
MenuValue[16]=0;
MenuParent[16]=15;
MenuChildFirst[16]=0;
MenuChildEnd[16]=0;
MenuNames[17]="Param3_4_2";
MenuTypeCode[17]=3;
MenuValue[17]=0;
MenuParent[17]=15;
MenuChildFirst[17]=0;
MenuChildEnd[17]=0;
}
void setup()
{
//настройка порта для клавиатуры
pinMode(KeyButton1Pin, INPUT);
//настройка дисплея
u8g.setHardwareBackup(u8g_backup_avr_spi);
if ( u8g.getMode() == U8G_MODE_R3G3B2 ) {
u8g.setColorIndex(255);
}
else if ( u8g.getMode() == U8G_MODE_GRAY2BIT ) {
u8g.setColorIndex(3);
}
else if ( u8g.getMode() == U8G_MODE_BW ) {
u8g.setColorIndex(1);
}
else if ( u8g.getMode() == U8G_MODE_HICOLOR ) {
u8g.setHiColorByRGB(255,255,255);
}
//формирование меню
MenuSetup();
}
void DrawMenu()
{
//временные переменные для отображения временных параметров
int DrawHours=0;
int DrawMinutes=0;
int DrawSeconds=0;
u8g.setFont(u8g_font_fixed_v0);
//вывод названия родительского меню вверху экрана
u8g.setPrintPos(5, 9);
u8g.print(MenuNames[MenuParent[MenuNowPos-MenuDrawPos]]);
u8g.drawLine( 0, 10, 123,10);
//переменная для вывода пунктов меню на экран
int DrawI=0;
//цикл для вывода пунктов меню на экран
for(DrawI=0; DrawI<MenuDrawCount;DrawI++)
{
u8g.setPrintPos(5, 21+10*DrawI);
if ((MenuChildFirst[MenuParent[MenuNowPos]]<=(MenuNowPos-MenuDrawPos+DrawI)) and
(MenuChildEnd[MenuParent[MenuNowPos]]>=(MenuNowPos-MenuDrawPos+DrawI)))
{
u8g.print(MenuNames[MenuNowPos-MenuDrawPos+DrawI]);
u8g.setPrintPos(80, 21+10*DrawI);
//Если целое число
if (MenuTypeCode[MenuNowPos-MenuDrawPos+DrawI]==1)
{
u8g.print(MenuValue[MenuNowPos-MenuDrawPos+DrawI]);
}
//Если тип временной интервал
if (MenuTypeCode[MenuNowPos-MenuDrawPos+DrawI]==2)
{
DrawHours=MenuValue[MenuNowPos-MenuDrawPos+DrawI] / 3600;
DrawMinutes=(MenuValue[MenuNowPos-MenuDrawPos+DrawI] % 3600) / 60;
DrawSeconds=(MenuValue[MenuNowPos-MenuDrawPos+DrawI] % 3600) % 60;
u8g.print((String)DrawHours+":"+(String)DrawMinutes+":"+(String)DrawSeconds);
}
//Если пункт меню бинарный
if (MenuTypeCode[MenuNowPos-MenuDrawPos+DrawI]==3)
{
if (MenuValue[MenuNowPos-MenuDrawPos+DrawI]==0) {u8g.print("Off");}
else {u8g.print("On");}
}
}
}
//если параметр сейчас не редактируется то отображение рамки вокруг выделенного пункта меню
if (MenuEdit==0)
{
u8g.drawLine( 3, 12+10*MenuDrawPos, 70, 12+10*MenuDrawPos);
u8g.drawLine(70, 12+10*MenuDrawPos, 70,22+10*MenuDrawPos);
u8g.drawLine( 3,22+10*MenuDrawPos, 70,22+10*MenuDrawPos);
u8g.drawLine( 3, 22+10*MenuDrawPos, 3,12+10*MenuDrawPos);
}
//если параметр сейчас редактируется то отображение рамки вокруг значения параметра
if (MenuEdit==1)
{
u8g.drawLine( 75, 12+10*MenuDrawPos, 122, 12+10*MenuDrawPos);
u8g.drawLine(122, 12+10*MenuDrawPos, 122,22+10*MenuDrawPos);
u8g.drawLine( 75,22+10*MenuDrawPos, 122,22+10*MenuDrawPos);
u8g.drawLine( 75, 22+10*MenuDrawPos, 75,12+10*MenuDrawPos);
}
}
void Draw()
{
u8g.firstPage();
do
{
//прорисовка статуса калибровки
DrawMenu();
} while( u8g.nextPage() );
}
//при завершении редактирования пункта меню происходит обновление настроек
void UpdateSettings()
{
//здесь происходит обновление настроек
//допустим мы имеем программу которая мигает лампочкой с частотой speed
//допустим этот параметр speed задается в элементе с индексом 4 тогда нам надо написать такой код:
/*if (MenuNowPos==4) {
Speed=MenuValue[MenuNowPos]
}
*/
}
//Процедура для обработки нажатия кнопки "вверх"
void UpPress()
{
//если не находимся в режиме редактирования то кнопка используется для передвижения по меню
if (MenuEdit==0)
{
//если текущая позиция в меню больше чем позиция первого элемента в этом меню то можно осуществлять передвижение.
if (MenuChildFirst[MenuParent[MenuNowPos]]<MenuNowPos)
{
//осуществляем передвижение по меню на 1 пункт
MenuNowPos=MenuNowPos-1;
//при движении вверх проверяем где расположен выделенный пункт меню на дисплее
//если выделенный пункт не упирается в край дисплея то также смещаем его на дисплее на 1 позицию
if (MenuDrawPos>0)
{
MenuDrawPos=MenuDrawPos-1;
}
}
}
//Если находимся в режиме редактирования
if (MenuEdit==1)
{
//проверяем какого типа меню и проверяем соответствующие ограничения, также контроллируем в зависимости от значения приращение
//или уменьшение значения
//Если тип целое число то максимального ограничения нет (добавить потом чтоб бралось максимальное значение из меню)
if (MenuTypeCode[MenuNowPos]==1)
{
MenuValue[MenuNowPos]=MenuValue[MenuNowPos]+1;
}
//Если тип временной интервал
if (MenuTypeCode[MenuNowPos]==2)
{
MenuValue[MenuNowPos]=MenuValue[MenuNowPos]+1;
}
//Если пункт меню бинарный то инвертируем значение
if (MenuTypeCode[MenuNowPos]==3)
{
MenuValue[MenuNowPos]=(MenuValue[MenuNowPos]+1) % 2;
}
}
}
//Процедура для обработки нажатия кнопки "вниз"
void DownPress()
{
//если не находимся в режиме редактирования
if (MenuEdit==0)
{
//проверяем не является ли текущий пункт последним дочерним элементом
if (MenuChildEnd[MenuParent[MenuNowPos]]>MenuNowPos)
{
//если не является то двигаемся на 1 пункт вниз
MenuNowPos=MenuNowPos+1;
//проверяем упираемся ли мы в край экрана. максимальное число элементов меню на экране задано переменной MenuDrawCount
if ((MenuDrawPos<MenuDrawCount-1) and (MenuDrawPos<MenuChildEnd[MenuParent[MenuNowPos]]-MenuChildFirst[MenuParent[MenuNowPos]]))
{
//если в край экрана не упираемся то также сдвигаем позицию на экране на 1 пункт вниз
MenuDrawPos=MenuDrawPos+1;
}
}
}
//если находимся в режиме редактирования
if (MenuEdit==1)
{
//проверяем какого типа меню и проверяем соответствующие ограничения, также контроллируем в зависимости от значения приращение
//или уменьшение значения
if (MenuTypeCode[MenuNowPos]==1)
{
if (MenuValue[MenuNowPos]>0)
{
MenuValue[MenuNowPos]=MenuValue[MenuNowPos]-1;
}
}
//Если тип временной интервал
if (MenuTypeCode[MenuNowPos]==2)
{
if (MenuValue[MenuNowPos]>0)
{
MenuValue[MenuNowPos]=MenuValue[MenuNowPos]-1;
}
}
//Если пункт меню бинарный то инвертируем значение
if (MenuTypeCode[MenuNowPos]==3)
{
MenuValue[MenuNowPos]=(MenuValue[MenuNowPos]+1) % 2;
}
}
}
//Процедура для обработки нажатия кнопки "влево"
void LeftPress()
{
//если не находимся в режиме редактирования
if (MenuEdit==0)
{
//если пункт меню содержит ненулевой индекс родителя (т.е. мы находимся внутри другого меню)
if (MenuParent[MenuNowPos]>0)
{
//то переходим на индекс родительского пункта меню
MenuNowPos=MenuParent[MenuNowPos];
//установка позиции на экарне, если количество пунктов меньше чем влезает на экране то выделенный пункт будет в самом низу но не в конце
//иначе будет в самом конце
if (MenuChildEnd[MenuParent[MenuNowPos]]-MenuChildFirst[MenuParent[MenuNowPos]]<MenuDrawCount)
{
MenuDrawPos=MenuNowPos-MenuChildFirst[MenuParent[MenuNowPos]];
}
else
{
MenuDrawPos=MenuDrawCount-1;
}
}
}
//если находимся в режиме редактирования то выключаем режим редактирования
if (MenuEdit==1)
{
MenuEdit=0;
//запускаем процедуру для обновления настроек. это необходимо для того чтобы параметры меню которые мы поменяли начали действовать
//в программе для которой мы используем это меню
UpdateSettings()
}
}
//Процедура для обработки нажатия кнопки "вправо"
void RightPress()
{
//если код типа элемента отличается от нуля (т.е. выделенный элемент является параметром) то включаем режим редактирования
if (MenuTypeCode[MenuNowPos]>0)
{
MenuEdit=1;
}
//если код типа элемента равен нулю значит в данный момент выделен пункт меню и мы можем войти в него
if (MenuTypeCode[MenuNowPos]==0)
{
//обнуляем позицию выделенного пункта на экране
MenuDrawPos=0;
//переходим на первый дочерний элемент для текущего элемента
MenuNowPos=MenuChildFirst[MenuNowPos];
}
}
void ButtonPress()
{
//130
if ((KeyButton1Value>125) and (KeyButton1Value<135))
{
UpPress();
}
//258
if ((KeyButton1Value>255) and (KeyButton1Value<262))
{
DownPress();
}
//65
if ((KeyButton1Value>60) and (KeyButton1Value<70))
{
LeftPress();
}
//195
if ((KeyButton1Value>190) and (KeyButton1Value<200))
{
RightPress();
}
}
void KeyBoardCalculate()
{
//Часть отработки нажатия клавиши
KeyButton1Value=analogRead(KeyButton1Pin);
//если сигнал с кнопки нулевой то обнуляем метку обработки нажатия
if ((KeyButton1Value<=50) or (KeyButton1Value>=1000))
{
//Сохраняем время последнего сигнала без нажатой кнопки
KeyButton1TimePress=micros();
KeyButton1WasChecked=0;
KeyButton1RepeatTimePress=0;
}
KeyButton1TimeFromPress=micros()-KeyButton1TimePress;
//исключаем шумы
if ((KeyButton1Value>50) and (KeyButton1Value<1000))
{
//отработка первого нажатия
if ( ((KeyButton1TimeFromPress)>KeyButton1Latency) and (KeyButton1WasChecked==0))
{
ButtonPress();
KeyButton1WasChecked=1;
KeyButton1RepeatTimePress=0;
}
//отработка повторных нажатий
if ( ((KeyButton1TimeFromPress)>(KeyButton1RepeatLatency+KeyButton1RepeatTimePress)) and (KeyButton1WasChecked==1))
{
ButtonPress();
//различная скорость обработки повторений, если держим кнопку меньше 5 секунд то повторная обработка кнопки раз в 0.4с,
//если кнопка удерживается дольше 5 секунд то время следующего повторного срабатывания не увеличивается и происходит максимально быстро
if (KeyButton1TimeFromPress<(KeyButton1RepeatLatency+5000000)) {
KeyButton1RepeatTimePress=KeyButton1RepeatTimePress+400000;
}
}
}
}
void loop()
{
//проверка таймера для обработки графики, аналогично с обработкой клавиатуры
//обновление графики происходит не чаще заданного интервала DrawTimeInterval
DrawTime2=micros();
if ((DrawTime2-DrawTime1)>DrawTimeInterval)
{
DrawTime1=DrawTime2;
Draw();
}
//проверка таймера для обработки нажатий клавиатуры
//обработка нажатий происходит не чаще заданного интервала KeyBoardTimeInterval
KeyBoardTime2=micros();
if ((KeyBoardTime2-KeyBoardTime1)>KeyBoardTimeInterval)
{
KeyBoardTime1=KeyBoardTime2;
KeyBoardCalculate();
}
}
P.S. В дополнение к тому что уже описано добавлю что довольно легко ввести новые типы данных, сделать индивидуальный шаг для каждого параметра меню, индивидуально задать максимальное и минимальное значение для каждого параметра, ввести возможность блокировки пунктов при установке определенных значений для других параметров, настроить различную скорость изменения параметров и многое многое другое.
Автор: kumbr_87

Великолепная статья! Спасибо, воспользуюсь!
Единственное, я бы поправил пару строк:
8: int KeyButton1Pin=A0; // явно укажем вход
212: pinMode(KeyButton1Pin, INPUT_PULLUP); // подтянем к плюсу
без этого, контроллер сам гуляет по меню :)
Спасибо за статью – очень помогла!
Но возник вопрос: Вы используете массив с указателями для названий меню. А вот как присвоить значение, на которое ссылается указатель? Если делать это явно, с использованием оператора присвоения и явного написания названия, то все отлично (например MenuNames[10]=”Param2_1″;). А если необходимо автоматизировать этот процесс, то как быть? Например MenuNames с 10 по 20 должен заполнится в цикле, где каждому элементу присваивается определенное название? Третий день не могу решить проблему….
Хорошая статья, спасибо!
Я бы сделал небольшую оптимизацию, В частности, использовал const byte вместо int для назначения пинов.
Спасибо! Искал как работать с кнопками без delay. Здесь нашел отличное решение.
но, вопросы есть: переменная KeyBoardTime2 объявлена long. а micros это (unsigned long). Через 35 минут работы Ваш KeyBoardTime2 начнет выдавать отрицательные значения и результат непонятен…
Вопрос 2: Если Вы джедай, то micros Вам подходит! Но, простые человеки пользуют millis()! И нолей меньше.
Защита от дребезга обычно не более 5-10 мс. Смотрим: вход в Calculate (следующий через 25 мс), защита от дребезга long KeyButton1Latency=100000; 100мс!!! Реально 125-150мс и на видео это видно! Меню ВЯЛОЕ, переключения МЕДЛЕННЫЕ!
Взял такой же LCD 128x64B V2 загрузил код все работает но столкнулся с такой проблемой – параметр время 0:00:00 секунды и минуты выставляются а вот часы таким способом не выставить даже не знаю сколько придется жать на кнопки чтоб установить часы. Может можно как то программно установить предварительно задав?
Автору спасибо и респект! Код мне очень пригодился.
Позволю себе пару замечаний:
1) Чтобы рисовать рамку вокруг активного пункта меню не обязательно рисовать 4 отрезка. Команда u8g.drawBox(x, y, w, h) в данном случае будет изящнее.
2) При редактировании параметров мне показалось, что нет никакого смысла в выделении НАЗВАНИЯ параметра в левой части экрана, т.к. изменения значения происходят при выделении ЗНАЧЕНИЯ параметра.
Кнопки работают некоректнно , как исправить ? Прочитал комментарии , всё равно не выходит . Не получается
Схема некорректное, если ни одна кнопка не нажата, вход МК в неопределенном состоянии – Z состояние когда нет стабильного уровня напряжения на входе.