Информация далее, возможно, будет интересна тем, кто использует астериск, получает на него номер 8-800 и имеет абонентов в офисах, которые расположены в нескольких городах РФ.
Мое решение классической задачи астерискера-телефониста: бизнес хочет, чтобы на звонки Дальнего Востока отвечал офис во Владивостоке, звонки Урала и Сибири — офис в Новосибирске, а на все остальные — офис в Москве.
Можно воспользоваться вариантом, представленным ранее на Хабре в статье, но я решил сделать решение немного более универсальным. Далее детали реализации и видео-инструкция.
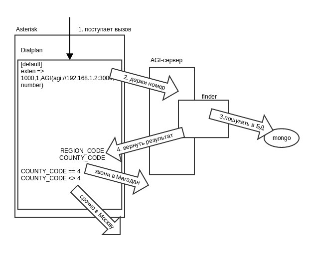
Решение такое: вынести работу с определением региона по номеру телефона за рамки диалплана астериска. Т.е. мы реализуем логику определения кода региона по номеру звонящего на стороне AGI-сервера. Астериск не имеет понятия каким образом работает AGI-сервер, где он берет данные, на каком языке он написан, но получает в результате запроса код региона, и уже далее продолжает обрабатывать звонок по диалплану.
Схема работы

Как реализован AGI-сервер?
AGI-сервер — в нашем случае, это nodejs-приложение, которое, получив запрос с номером, обращается в MongoDB, находит соответствие и устанавливает необходимое значение переменной диалплана REGION_CODE.
Какой получается диалплан?
Диалплан использования AGI-сервера получается примерно такой:
[incoming]
exten => 88001234567,1,AGI(agi://localhost:3000,${CALLERID(num)})
exten => 88001234567,n,GotoIf($[${REGION_CODE}=24]?outbound,krasnoyarsk,1:)
exten => 88001234567,n,GotoIf($[${REGION_CODE}=50]?outbound,moscow,1:outbound,other,1)
Для каждого региона необходимо указывать свою проверку?
Если у вас есть офисы в каждом регионе РФ (а их у нас 85), то, вероятно, стоит настроить проверку каждого кода. Но обычно требуется менее детальное деление РФ, поэтому также устанавливается переменная COUNTY_CODE — номер федерального округа (а их у нас всего 9).
Т.е. диалплан может выглядеть следующим образом:
[incoming]
exten => 88001234567,1,AGI(agi://localhost:3000,${CALLERID(num)})
exten => 88001234567,n,GotoIf($[${COUNTY_CODE}=5]?outbound,krasnoyarsk,1:)
exten => 88001234567,n,GotoIf($[${COUNTY_CODE}=1]?outbound,moscow,1:outbound,other,1)
Или, конечно, в комбинированном режиме. Логику построения диалплана на основе установленных переменных COUNTY_CODE и REGION_CODE каждый может определить сам.
Как это можно реализовать в пользовательском интерфейсе?
Например, у меня в пользовательском интерфейсе настройка маршрутизации по номеру звонящего выглядит так

Данные с кодами и названиями можно взять в npm russian-codes и использовать в выпадающих меню.
А откуда данные в MongoDB для AGI-сервера?
Данные, обычно, расположены на сайте Федерального агентства связи в разделе "Открытые данные". Как мы скачиваем и преобразуем в JSON я уже писал на Хабре. Но в текущем формате данных numcap регион указан строкой с названием региона, а не его кодом, что не очень удобно.
Поэтому, используя npm numcap-regions (который в свою очередь использует npm'ы numcap и russian-codes) мы можем получить большой JSON-файл с емкостью операторов РФ с указанием кодов регионов.
А нужно ли обновлять базу с данными по кодам регионов?
Можно загрузить один раз и так и использовать. Но утилиты в указанных npm можно использовать для регулярного обновления данных.
Федеральное агентство связи регулярно вносит изменения в реестр нумерации, поэтому несложно всегда иметь достаточно актуальную базу данных. Хотя, конечно, номера телефонов вряд ли резко сменят регион (а по операторам необходимо провести дополнительную обработку данных). Данные в numcap я обновляю примерно раз в месяц.
Итак, что мне сделать, чтобы у меня заработала маршрутизация по номеру и коду региона?
1. Установить agi-number-archer-app (Установка подробно описана в репозитории agi-number-archer-app, его можно клонировать, записать свои конфиги, скрипты деплоя).
2. Загрузить данные в MongoDB (для загрузки данных воспользуйтесь numcap-regions, использование также описано в репозитории).
Надеюсь, что кому-нибудь это пригодится и позволит реализовать более удобный и качественный сервис для своих клиентов.
Вопросы, пожелания, критические замечания приветствуются.
P.S. Видео с пошаговой настройкой сервиса.
Автор: antirek
