Прошедший год был примечателен различными событиями, связанными с патентами, но применительно к видеоиграм отдельного внимания заслуживает патент 5,718,632, а точнее, факт истечения его срока действия. Этому событию было уделено достаточно внимания в игровом сообществе, а на сайте Фонда электронных рубежей была опубликована статья, посвященная этому, перевод которой и представлен ниже.
В 1998 году Бюро по патентам и товарным знакам США зарегистрировало патент 5,718,632 на метод, позволяющий избежать «бесполезную трату времени» в видеоиграх. То, что произошло за 17 лет, может быть описано наилучшим образом именно как бесполезная трата времени.
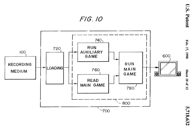
Патент компании Namco охватывает «вспомогательные игры», в которые игрок может сыграть, пока загружается основная игра. Патент истек 27 ноября, что вызвало бурю эмоций в игровом мире, и даже был проведен Loading Screen Jam, на котором разработчики создавали свои собственные игры для экранов загрузки.
Среди всех этих эмоций стоит уделить минутку на то, чтобы задаться вопросом, действительно ли патент 5,718,632 следовало изначально выдавать. Подобное является знаковой проблемой для многих патентов, в частности, в отношении программного обеспечения.
Как были изобретены игры для экранов загрузки

В 1994 году была представлена первая Sony PlayStation. Ее графические возможности оставляли далеко позади таких предшественников, как Sega Genesis и Super Nintendo, но имелся один большой недостаток. Игровые картриджи предыдущего поколения были заменены CD-ROM'ами. Когда загружалась игра на PlayStation, вы должны были ждать, пока игровые данные загрузятся из диска в собственную память приставки. И. Приходилось. Ждать. Каждый раз. Просмотр экрана загрузки было делом скучным, особенно когда вы привыкли к моментальным загрузкам игр на картриджах.
Игра Ridge Racer компании Namco была предназначена решить проблему путем включения в нее второй игры — классики 80-х Galaxian. Для PlayStation практически не требовалось времени для загрузки Galaxian. И внезапно, игроку уже не надо думать о том, насколько скучно ожидать, пока игра загрузится; он мог наслаждаться игрой в Galaxian, пока консоль загрузит Ridge Racer. Если успеть пройти Galaxian до загрузки Ridge Racer, игрок будет награжден в Ridge Racer некоторыми внутриигровыми бонусами.
Должны ли быть патентоспособными игры для экранов загрузки?
В чем фишка? Namco первой придумала игры для экранов загрузки, поэтому они оформили патент, верно? Что ж, давайте взглянем на то, как закон США определяет патентоспособное изобретение.
В соответствии с законом, лицо не может получить патент, если заявленное изобретение уже существует, когда заявка была подана, или является очевидным для любого, кто обладает квалификацией в соответствующей технологической сфере. Идея играть в мини-игру, пока загружается основная, была распространенной в течение длительного времени. В 1987 году, за много лет до того, как Namco подала свою патентную заявку, Ричард Эплин (Richard Aplin) создал Invade-a-Load, утилиту для разработчиков, которые создавали игры для компьютера Commodore 64. Как игровой разработчик, вы могли Invade-a-Load встроить в вашу игру; пока игроки ожидали загрузку игры, они могли сыграть в мини-игру, похожую на Space Invaders. С учетом широты заявки Namco, это является очень серьезным аргументом к тому, что ее заявка должна была быть отклонена как ранее предвиденная или очевидная в свете наличия Invade-a-Load.

Содействует ли инновациям патент на игры для экранов загрузки?
Целью всех патентов, как закреплено в Конституции США, является содействие инновациям. Изобретатели получают в награду временную монополию на свои изобретения в обмен на разглашение информации о принципах работы изобретений.
Верховный Суд постановил, что патенты должны выдаваться только в отношении «тех изобретений, которые не были бы раскрыты или придуманы, но которые стимулированы патентом». Другими словами, если изобретатель не предоставляет действительно ценную информацию в обмен на патент, это плохой патент. К сожалению, многие патенты на ПО как раз такие. Они не предлагают какой-либо реальной информации о том, как внедрить особенность, они вместо этого расплывчато описывают саму особенность. В суде расплывчатость зачастую преобладает над специфичностью, кода истцы растягивают границы своих изобретений, чтобы ими были охвачены продукты ответчиков.
Что касается патента о вспомогательных играх, он просто описывает идею загрузки отдельной игры, пока игрок ожидает загрузку основной игры. Namco не предоставила значимой информации в обмен на свою монополию на вспомогательные игры.
В прошлом году Верховный Суд отменил патент за то, что в его описании не было ничего, за исключением абстрактной идеи, выполняемой на компьютере. Если Namco подала бы иск к кому-либо по поводу своего патента, это вполне могло бы привести к утрате ею своего патента. Но это не главное: даже существования подобных, низкокачественных с точки зрения права, абстрактных патентов на ПО достаточно, чтобы удерживать многих изобретателей.
Исправление патентной системы означает исправление патентов
На данный момент на рассмотрении в Конгрессе находятся два законопроекта по патентной реформе: PATENT Act и Innovation Act. Фонд электронных рубежей поддерживает оба законопроекта, и мы надеемся, что вы найдете время на то, чтобы посодействовать вашим конгрессменам в поддержке ими этих же законопроектов.
Хотя эти законопроекты в большей степени о судебных процессах по патентным спорам. Если мы действительно желаем сделать патентную систему средством инноваций, как это предписано Конституцией, мы должны решить проблему качества патентов.
Прямо сейчас патенты на ПО являются экраном загрузки мира интеллектуальной собственности. Они не добавляют никакой ценности к игре. Они только обязывают каждого сидеть и ждать, прежде чем сделать что-нибудь.
Автор: Nutterix
