Представьте: вот вы пилот, летите, никого не трогаете, примус починяете, и решаете набрать высоту. Для этого надо немного ускориться и параллельно чуть увеличить тангаж, что вы, собственно, и делаете. Увеличивая тягу РУДом, вы параллельно немного тянете рычаг управления на себя. Все идёт хорошо первые несколько минут, но тут рычаг полностью самостоятельно и с огромной силой уходит в положение "на себя" до упора и там замирает. Поздравляю вас, вы познакомились с явлением, именуемым "перекомпенсация руля высоты". Пока вы лихорадочно пытаетесь оттолкнуть рычаг в нормальное положение, а ваш самолёт переходит в устойчивый штопор, у как раз вас есть несколько минут падения до земли, так что давайте познакомимся с этим явлением поближе.
Предварительно нужно определиться с такой штукой, как центр давления. Википедия говорит, что для крыла самолёта (а руль высоты это почти крыло) центр давления это точка, где пересекаются линия действия аэродинамической силы и плоскость хорд крыла. То есть такая точка на профиле крыла, куда, условно, действует аэродинамическая сила (равнодействующая всех сил, которые вы нарисуете летящему в воздухе самолёту). В общем случае центр давления умеет двигаться, и он меняет свое положение в зависимости от скорости самолёта и угла атаки (давайте сохраним остатки рассудка и не будем разбирать его движение).

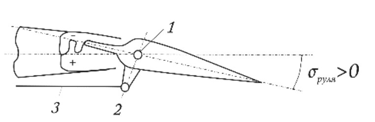
Вторая штука, необходимая для понимания происходящего, это шарнирный момент. В авиации это момент, который действует на орган управления (руль высоты в нашем случае) относительно его оси вращения и который создаётся аэродинамической силой. В норме, шарнирный момент направлен против отклонения руля и стремится вернуть руль в нейтральное положение. То есть, руль высоты отклонен в балансировочное положение, отклонен вокруг центра вращения, в котором он закреплён и вокруг которого он крутится. Где-то на руле есть центр давления, куда действует аэродинамическая сила. Если центр давления и центр вращения НЕ совпадают, то сила создаст шарнирный момент. Этот момент стремится вернуть руль в нейтральное положение. Если ничего не понятно, не отчаивайтесь, это нормально, я в конце картинку поставлю. И ещё один важный, но не всегда очевидный нюанс: шарнирный момент зависит от угла отклонения руля и скорости полета (вообще там скоростной напор, но нафиг нам такие сложности), чем больше угол и больше скорость, тем больше шарнирный момент.
Продолжаем наше вступление. На заре авиации самолёты были маленькие, и летали медленно. Шарнирные моменты на рулях были маленькие, и среднестатистический пилот мог спокойно их пересилить просто мощью своих мускулов (картинка накачанного пилота в летной форме 18+ без смс и регистрации разблокирована). В те старые добрые времена все рули были связаны с рычагом управления и педалями (да, у пилотов есть педали, почти как на машине) механически, системой тяг и качалок, то есть тупо тросиками, и все усилия с рулей пилот ощущал напрямую руками/ногами. Но время шло, аппетиты людей росли, скорости полета тоже. Настал момент, когда усилия на рулях выросли настолько, что даже тяжелоатлет не смог бы удержать рычаг управления. В систему управления самолётом вошли сначала бустеры (гидроусилители), а потом электроника. Довольно быстро выяснилось, что скорости полета (и величины шарнирных моментов) растут сильно быстрее мощности гидроприводов. И даже если привод достигает необходимой мощности, чтобы держать руль в необходимом положении на сверхзвуке (сорокатонные приводы руля высоты с Сушек одобряют), они тупо становятся слишком огромными. И приходится выбирать: либо мощный привод = тяжелый самолёт = хреново разгоняется, либо маленький привод = маленькая мощность = не сможет удержать руль, надо ограничивать скорость. Два стула, и оба плохие.
Вы ещё тут? Продолжим. Инженеры не собирались мириться с двумя плохими стульями, они сделали третий, хороший: изобрели способы компенсации шарнирных моментов на рулях. Их есть аж несколько: осевая, роговая, внутренняя компенсация, сервокомпенсация и использование триммера. Кратко пробежимся по этим методам.
Осевая компенсация состоит в том, что ось вращения расположена не на конце руля, а немного дальше, так, что часть руля остается вереди оси вращения. Тогда при отклонении руля передняя часть руля как бы отклоняется в другую сторону, и на ней создается момент противоположного знака. Снискала всеобщую любовь за легкость конструктивного исполнения и хорошую аэродинамику.

Роговая компенсация похожа на осевую, но тут впереди оси вращения остается меньший кусок площади, похожий на рог, откуда и пошло название. Этот кусок и создает компенсирующий момент. Так же прост в исполнении, но ухудшает аэродинамику, особенно на больших углах отклонения руля.
Внутренняя компенсация распространена большей частью на элеронах. В этом случае кусок профиля, примыкающий к оси вращения руля остается пустым и делится гибкой герметичной перегородкой (диафрагмой) на две полости. В полостях возникает разность давлений, действующая на диафрагму и создающая компенсирующий момент. Не вносит никаких возмущений в поток, что особенно ценится на сверх- и гиперзвуке, но ограничивает диапазон отклонений руля, особенно на тонком профиле.
Сервокомпенсация это использование небольших отклоняемых поверхностей на задней кромке основного руля. Этакий руль на руле. Компенсация триммером ‒ один из видов сервокомпенсации, он отличается тем, что применяется на установившихся режимах полета и полностью обнуляет шарнирный момент (все остальные виды компенсации его только уменьшают, но не убирают полностью).

Итак, мы добрались. У осевой компенсации есть один интересный и крайне опасный побочный эффект: если по каким-либо причинам центр давления уползет на компенсатор (та самая часть перед осью вращения), начнется треш.
Во-первых, руль (и рычаг управления тоже) моментально улетает в крайнее положение.
Во-вторых, сразу же возникает обращение знака усилий на рычаге управления. Теперь, чтобы перевести рычаг из положения «на себя» в нейтральное, надо его ТОЛКАТЬ, тогда как в норме рычаг сам стремится туда и его надо ТЯНУТЬ. Это очень сильно осложняет управление и может привести к катастрофе.
И в-третьих, пока летчик все это сообразит, самолет уже выйдет на критические режимы (штопор - земля - гроб - кладбище).
Поздравляю, вы познакомились с госпожой перекомпенсацией. А руль, соответственно, стал перекомпенсированным. Перекомпенсация это крайне опасная хрень, и ее стараются избегать всеми возможными и невозможными методами. Как когда-то я слышала на лекциях (за надежность инфы не ручаюсь), что на самолеты Сухого ставят охрененно мощные привода, способные пересилить возможную перекомпенсацию, а вот МиГ хитрее, они строят рули так, что на малых скоростях (и малых шарнирных моментах) они перекомпенсированы, но тогда они легко пересиливаются, а вот на больших скоростях рули становятся уже нормальными. Такая схема позволяет ставить более слабые и легкие приводы. В идеале, конечно, лучше перекомпенсацию вообще не допускать, но тут уж как повезет. Полет истребителя ‒ штука непредсказуемая.
Приятной вам посадки.
Автор: Лиза Гладышева
Автор: CatScience
