В предверии Олимпийский игр в Сочи, компания ОАО «РЖД» зарядила в свою обойму новый вид технологической радиосвязи – GSM-R (GSM-Railway). В рамках подготовки к олимпиаде на полигоне Северокавказской железной дороги была введена в штатную эксплуатацию сотовая сеть на основе самого популярного в мире стандарта подвижной связи – GSM, дополненного специальными функциями в соответствии со спецификациями проекта EIRENE (European Integrated Railway Radio Enhanced Network).

В виду своей профессиональной деятельности, постоянно сталкиваюсь с оборудованием и прилегающей инфраструктурой цифровой сети GSM-R, а в «великом и могучем» интернете кроме теории, описания какой либо действующего проекта — отсутствует. Возникло желание поделиться с публикой информацией о том, как зарекомендовала себя технология GSM-R, пока еще «темная лошадка» в отечественной телекоммуникационной отрасли.
Свою сагу начну с экскурсии на базовую станцию сети радиодоступа.
Частотный диапазон GSM-R расположен по соседству с E-GSM. Такой симбиоз неблагоприятно сказывается на железнодорожном стандарте. Мешающие явления в лице интермодуляционных помех попортили нам много нервных клеток.

В полосе 4 МГц особо не разгуляешься, приходится предъявлять более жесткие требования к частотно-территориальному планированию сети (ЧТП). Частотный спектр выделен на вторичной основе. До этого частоты использовались аэронавигационным оборудованием, и действующая таблица радиочастот 876-880 МГц и 921-925МГц не предусматривала возможности использования средствами сухопутной подвижной радиосвязи. Решением государственной комиссии по радиочастотам (ГКРЧ) от 22.08.2012 были внесены изменения в распределение полос для создания системы железнодорожной связи стандарта GSM. Выделенный частотный ресурс в нашем распоряжение вплоть до 2022 года.
Карта радио-покрытия построена таким образом, чтобы обеспечить покрытие вдоль железнодорожных путей, да еще с двойным перекрытием. На бумаге это выглядит примерно так:
Участок «Туапсе-Сочи-Адлер-Роза Хутор» включает порядка 70 базовых станций. Всем этим хозяйством управляет контроллер базовых станций (BSC6000), вендором, как многие догадались, является компания Huawei. В нашем случае управление географически распределено между двумя центрами коммутации, Москва-Адлер, аппаратная часть которых полностью себя резервирует.
Перевозочный процесс на железной дороге дело не шуточное, и параметры живучести и отказоустойчивости цифровой сети должны быть на высоком уровне. Пользовательский трафик и сигнальная информация от BTS стекается в опорную сеть (Core Network) состоящую из коммутаторов (GTSOFTX3000), медиа шлюзов (UMG8900), регистров домашних абонентов (HLR9820), а также узлов доступа пакетной передачи данных (SGSN9810 и GGSN9811).
Место установки BTS именуют сайтом/площадкой/аппаратной, на языке железнодорожников принято называть модуль связи или модуль GSM-R. Периодически приходится выполнять график технологического процесса включающего в себя обслуживание подсистемы базовых станций, систем электропитания, транспортной сети, охранно-пожарной сигнализации, антенно-мачтовых сооружений (АМС), а также фидерного тракта. А теперь по порядку.
Система электропитания состоит из вводного щита.
На РЖД, почти все основные узлы резервируются, причем по несколько раз.
Яркий тому пример: питание (трехфазное) подается по двум независимым фидерам на ВРУ. Главным или действующим принято считать первый кабель. При пропадании питания, магнитный пускатель коммутирует электрическую цепь на резервный фидер.
Вводный щит. Приоритет первого фидера.
Щит состоит из счетчиков электроэнергии (на каждый фидер свой прибор учета), автоматов различного номинала для потребителей электроэнергии: кондиционеров, ламп рабочего и аварийного освещения, систем газового пожаротушения, вытяжной вентиляции, источника бесперебойного питания (ИБП).
На случай отказа двух фидеров одновременно предусмотрено подключение мобильного дизель генератора.
Вид модуля связи со входа.
Два шкафа слева не имеют отношения к базовой станции, представляют собой аппаратуру аналоговой радиосвязи кв/укв диапазона. Правая стойка – сердце базовой станции. Именно она виновница нашего рассказа, все внимание на нее.
BTS — модуль обработки основной полосы частот, BBU3900 (Base Band Unit). Все управление ведется исключительно через этот блок. Система распределенная. Более корректно называть наш сайт не BTS, а DBS (distributed base station), приёмопередатчики (Tx/Rx) они же модули RRU вынесены из аппаратной на мачту, соединены с BBU оптическими патчкордами через интерфейсы CPRI. Данная реализация позволяет избежать длинного фидерного тракта диаметром 7/8, сократив потери до минимума.
Многомодовые бронированные патчкорды подключают два блока RRU3004. Данная технология DBS3900 довольно гибкая, с возможностью наращивания дополнительной емкости и увеличения ресурса соты путем подключения до 6 RRU. Насколько я знаю для всех стандартов (GSM, UMTS, LTE) аппаратная часть одинакова, отличается только лишь программное обеспечение. Возможно в далеком будущем появится и LTE-R. Транковый порт (DB 44), служит для подключения интерфейса A-bis, (3 Е1/T1) потоков:
1. Основной — BSC Адлер;
2. Резервный — BSC Москва;
3. Поток на соседнюю BTS. Кольцевая топология.
Терминальный мультиплексор (MUX) СМК-30, отечественной разработки. Довольно простая железка, без волнового уплотнения (xWDM). Нагрузкой для нее служит синхронный транспортный модуль первого порядка (STM-1). На сайте происходит выделение/ввод/транзит двухмегабитный потоков. Немного ниже мультиплескора располагается кросс с сплинтами (DDF).
Возникает вопрос: 3 E1 потока не мало ли для базовой станции? Поясняю: более высоким приоритетом в стандарте GSM-R обладает голос, под пакетные данные (GPRS) выделено два статических тайм-слота (PDTCH). Используются они для передачи различной телеметрии от электропоездов «Ласточка» до диспетчерских центров. Помимо систем работающих с коммутацией пакетов, сеть GSM-R поддерживает архаичную технологию коммутации каналов, (CSD) аналог WAP. Используется она в узлах, работающих в режиме реального времени.
Не буду приводить подробные описания работы данных систем, в будущем станет темой нового поста на Хабре.
Важнейшие элементы сети радио доступа запитаны от сети постоянного тока с напряжением (-48 В). В случае пропадания электроэнергии по двум фидерам, резервирование идет от аккумуляторных батарей (АКБ).
Преобразованием переменного тока в постоянный и содержанием АКБ отвечает источник бесперебойного питания Eltek.
На дисплее видим выходное напряжение 53,13 В, ток заряда 0 А.
Выпрямители. 5 штук рассчитано на потребляемую мощность до 3.4 кВт.
Температура на стеллаже АКБ составляет 25 градусов по Цельсию (термодатчик необходим для термокомпенсации содержания АКБ).
Вид аппаратной с противоположной стороны. Кондиционер, вытяжка, система газового пожаротушения.
Главная шина заземления (ГШЗ).
Кабель рост и короб приточной вентиляции.
Кабельный ввод герметично изолирован от атмосферных влияний.
Модуль связи GSM-R
Антенно-мачтовая опора. Высота подвеса 20м.
Внешний кабель рост с антигололедной защитой.
Лестница с защитным ограждением. Нам наверх!
Как я упоминал ранее, карта радио-покрытия GSM-R ориентирована строго вдоль железнодорожных путей. Система антенно-мачтовых сооружений (АМС) и антенно-фидерных устройств (АФУ) состоит из двух со направленных секторов. Каждый сектор включает в себя по две антенны с диаграммой направленности в 65 градусов и вертикальной поляризацией. Такая реализация попадает под строгие нормативы разнесенного приема: расстояние между антеннами в секторе должно удовлетворять условию 10 λ. Длина волны для частоты 900 Мгц равна 30 см, следовательно 10 λ равно 3 м. делается это для устранения межсимвольной интерференции связанной с многолучевым распространением электромагнитной волны.
Чертеж антенного узла GSM-R

На всей сайтах соблюдается правило разнесенного приема. К радио-покрытию предъявляются очень жесткие требования по надежности. Ограниченность частотного ресурса в 19 РЧ каналов подразумевает повторное использование частот, с высокой периодичностью. Как известно виновниками 80% всех разрывов соединений в GSM являются хэндоверы (Handover).
Оптимизаторам сети пришлось сильно постараться, дабы свести число дропов к нулю.
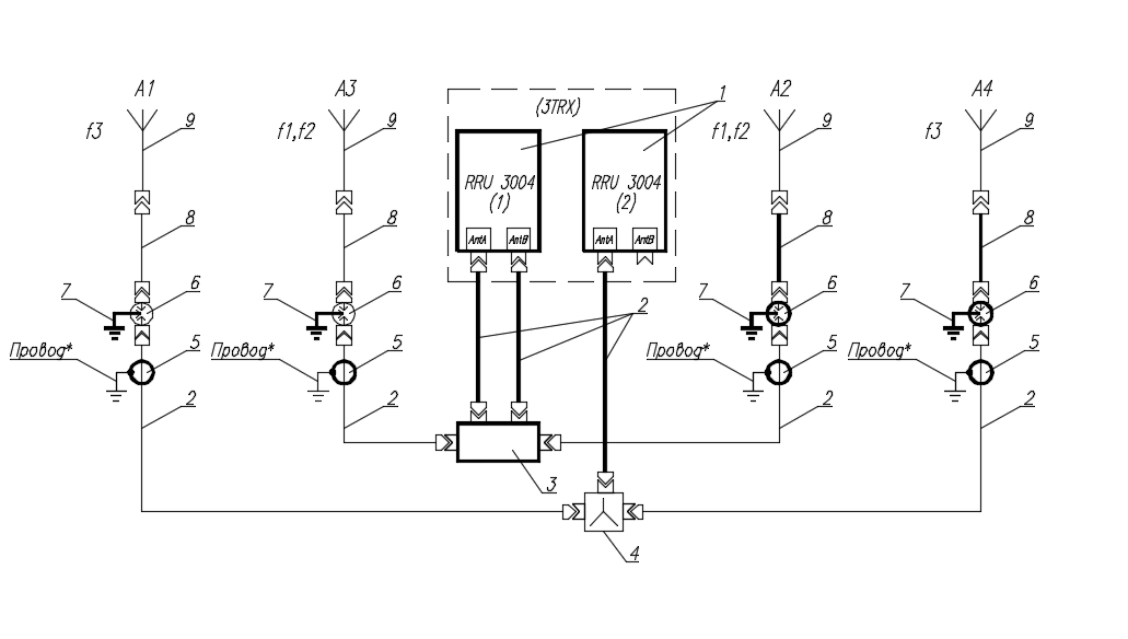
Для лучшего наглядного понимания работы BTS, приведу структурную схему АФТ.

1. RRU 3004. Выносной радиоблок;
2. Кабельная вставка, (jumper) диаметр 1/2;
3. Комбайнер (сумматор), Hybrid Combiner 2:2;
4. Делитель мощности (сплиттер);
5. Комплект заземления;
6. Грозоразрядник.
Пары антенн А1/А2 и А3/А4 диаметрально противоположны друг другу. См. чертеж АМС.
Оба направления движения поезда засвечены базовой станцией равномерно. Радио часть состоит из двух RRU и 3 TRX: 2 Tx/Rx на первой радио голове (RRU) и один Tx/Rx на второй. Почему так? Для увеличения канальной емкости bts. По сути мы имеем 3 несущие частоты (f1,f2,f3), разнесенные на четыре антенны. Как известно, под термином «сота» понимают географическую зону действия одного канала BCCH (широковещательный канал управления) по которому мобильная станция получает всю информацию о сети). Для уменьшения числа хэндоверов канал BCCH раздают на оба сектора. Устройство позволяющее агрегировать две несущие в один суммарный поток называется комбайнер (сумматор).
Комбайнер Huawei, 4-ех портовый и схема подключения.


Комбайнером замешиваем две несущие (f1,f2) с BCCH-каналом в агрегатный радиосигнал и джамперами (1/2) подводим к антеннам двух секторов. В итоге получаем одну соту с одним параметром Сell Id и одним каналом управления, исключаем дропы по вине хэндоверов. С двумя несущими разобрались, как быть с третьей? Делителем мощности (сплиттер) радиосигнал c третьего TRx разносим на оставшиеся антенны А1/А4. Описанное исполнение антенно-фидерного тракта используется на всех сайтах GSM-R.
RRU 3004 c одним Tx/Rx
Крепление антенны к трубостойке
Азимутальные показатели статичны, использование системы дистанционного изменения угла наклона антенн (RET) не предусмотрено.
Второй блок RRU 3004 c двумя приемопередатчиками.
Сплиттер используется для разноса сигнала по АФТ на антенны А1/А4
Комбайнер с грозозащитой на задней фоне
Секторная антенна Kathrein
Вид на олимпийский парк
Резюмирую свой рассказ скриншотами консоли контроллера базовых станций BSC6000.
Конфигурация BTS следующая:

Канал трафика TCH/F — Full rate канал с максимальной скоростью до 22,8 Кбит/с;
BCCH — Broadcast Control Channel (широковещательный канал служебной информации). Передает основную информацию о базовой станции, такую как способ организации служебных каналов, количество блоков, зарезервированных для сообщений предоставления доступа;
SDCCH — Stand-alone Dedicated Control Channel. Данный канал используется для аутентификации мобильного телефона, обмена ключами шифрования, процедуры обновления местоположения (location update), а также для осуществления голосовых вызовов и обмена SMS-сообщениями. Канал передачи данных GPRS — PDTCH.
Надеюсь этот небольшой фотоотчет покажет Вам как построена базовая станция GSM-R и как, примерно, все реализовано в железе.
В будущем постараюсь охватить другие вопросы стандарта GSM-R, изложив информацию в очередной статье. До новых встреч.
Автор: klait8848
