
Радиоконструктор «Старт 7176» появился в продаже весной 1985 года. Набор можно было заказать через Посылторг наложенным платежом и получить в своём почтовом отделении за 16 рублей.
Электронными часами уже тогда удивить кого-либо было трудно, но это были часы на СБИС, сверхбольшой интегральной схеме. Это давало радиолюбителям возможность прикоснуться к современнейшим технологиям и получить от этого чувство глубокого удовлетворения.
Далее я расскажу, как запустил найденные на «развале» часы из набора «Старт 7176».
Осмотр на месте
Часы мне достались в хорошем состоянии, но у них не было блока питания. На печатной плате часов было распаяно семь кнопок управления. Какой-либо инструкции или паспорта в наличии не было.

В найденном на просторах Интернета скане руководства по эксплуатации на схеме электрической принципиальной количество кнопок управления – шесть.

На печатной плате конструктора – четыре посадочных места под кнопки. В комплекте поставки набора кнопок только две.

Согласно руководству по эксплуатации конструктор «Старт 7176» можно использовать или в качестве электронных часов, когда две кнопки из комплекта поставки подключаются как S1 (установка минут) и S2 (установка часов), или в качестве секундомера с подключением кнопок как S3 (индикация секунд) и S5 (фиксация показаний).
Для установки точного времени в режиме часов нужно было подключить отсутствующую в комплекте поставки третью кнопку S6. Для возврата из режима секундомера в режим электронных часов нужно было подключить кнопку S4.
Напомню, что на печатной плате установочных мест под кнопки – четыре. В принципе, с четырьмя кнопками можно было организовать следующий функционал: установка текущего времени в формате «ЧЧ: ММ» кнопками S1 и S2, переключение в режим индикации текущего времени в формате «ММ: СС» кнопкой S3, возврат к индикации текущего времени в формате «ЧЧ: ММ» кнопкой S4. Если включить питание часов с такой конфигурацией незадолго до передачи сигналов точного времени, то точное время можно было бы установить, нажав и отпустив любую из кнопок S1, S2 или S4 в начале шестого сигнала, а затем установить текущее время.
Это уже лучше, чем просто часы, но всё ещё недостаточно: помимо установки и индикации текущего времени используемая в наборе СБИС позволяла устанавливать время срабатывания двух будильников, а также могла работать в режиме таймера.
Читаем журнал «Радио»
Это несоответствие формы и содержания породило целую волну народного творчества. В журналах «Радио» №6 и №7 за 1986 год был опубликован своеобразный «дайджест» из писем в редакцию по доработке часов из набора «Старт 7176».
Очень важно, что был опубликован полный функционал часов на СБИС К145ИК1901:

Добавлением нескольких кнопок скромные часы из набора превращались во многофункциональное устройство, не побоюсь этого слова – в «гаджет».
На двух выходах СБИС при срабатывании будильников или таймера появлялся сигнал низкого уровня. К этим выходам можно было подключить формирователь звуковых сигналов:

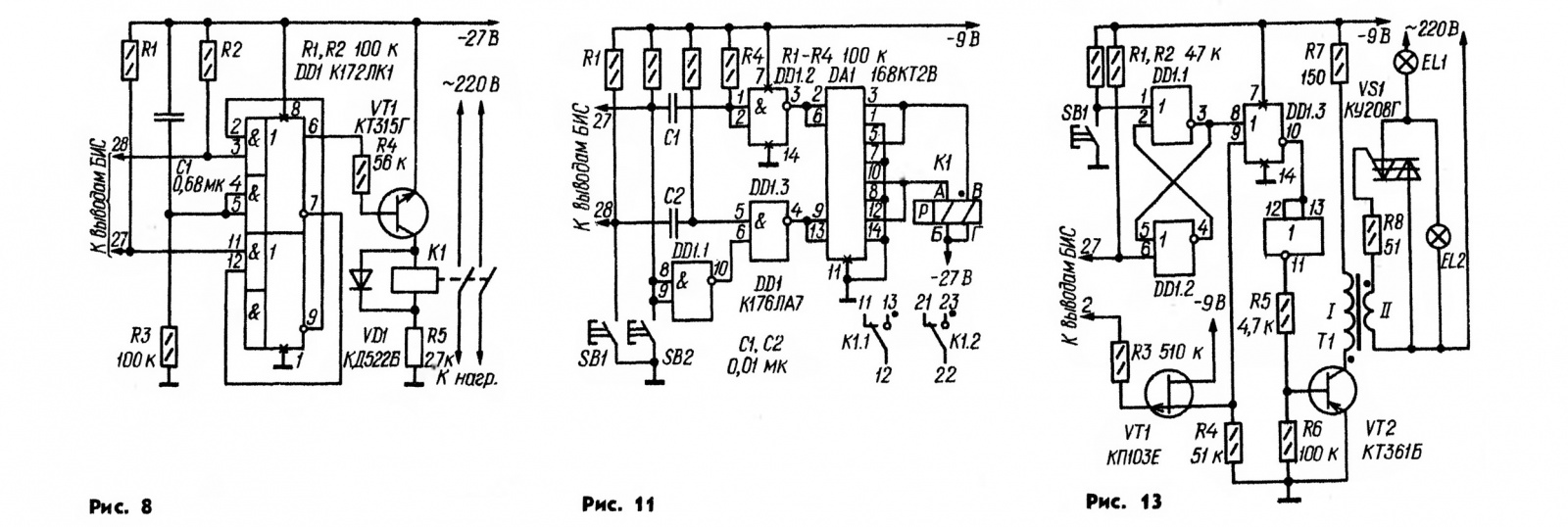
Подключением к часам вместо формирователя звуковых сигналов устройства управления нагрузкой, например, лампой фотоувеличителя, можно было превратить часы из набора в «мечту фотолюбителя»:

Существенным доработкам подвергалась схема питания часов. Предлагалась замена однополупериодного выпрямителя на диодный мост, подключение средней точки обмотки накала через стабилитрон и т.п.

Наличие звукового сигнала и светящийся в темноте индикатор делали часы из набора очень удобным будильником. Схема автоматической регулировки яркости индикатора, приведённая на рис. 20, делала этот будильник ещё удобней.
Наиболее ценной в публикации, на мой взгляд, была информация о том, как подключить к выходам СБИС не только микросхемы серии К172, которых уже тогда было не достать, но и доступные даже сейчас микросхемы серий К176 и К561, имеющие многочисленные зарубежные аналоги. Не менее важной была информация о том, что к выводу 48 СБИС можно подключить резервную батарею напряжением 18 В для сохранения работоспособности часов (естественно, без индикации времени) при отключении питания.
Восстановительные работы
Оригинальный блок питания содержал сетевой трансформатор с вторичными обмотками на 27 и 5 В. От обмотки 27 В питалась сама схема часов, а от обмотки 5 В – накал люминесцентного индикатора. Скорее всего, там использовался трансформатор Т19-220-50, специально разработанный для применения в электронных часах с электролюминесцентными индикаторами ИВЛ1-7/5 и им подобными. Мощность трансформатора – 5 Вт, габаритные размеры – 40х35х38 мм. Такие трансформаторы уже не выпускаются.
В принципе, можно было бы запитать цепи накала индикатора постоянным током от зарядного устройства USB, а минус 27 В получить от повышающего преобразователя DC-DC, но практика показывает, что для обеспечения равномерной яркости свечения цифр индикатора накал должен питаться переменным током, причём накальная обмотка должна иметь отвод от середины. Кроме того, в документации на индикатор ИВЛ1-7/5 прямым текстом указано, что питание накала постоянным током значительно снижает ресурс.
Решено было искать замену трансформатору Т19-220-50. Похожий по характеристикам трансформатор нашёлся, им оказался ТП121-14. Первичная обмотка этого трансформатора рассчитана на напряжение 220 В, вторичные обмотки – 21,8 и две по 2,0 В. ТП121-14 имеет максимальную мощность 4,5 Вт. Габаритные размеры трансформатора – 43х36х33,3 мм.
Блок питания на основе ТП121-14 был собран по схеме на рис. 14а, опубликованной на стр. 29 журнала «Радио» №7 за 1986 год. После подключения блока питания часы заработали сразу, что меня очень сильно порадовало.
Проверяем функционирование
Теперь попробуем разобраться с кнопками управления. Таблица с назначением кнопок у нас есть, схема электрическая принципиальная – тоже.
Назначение кнопок управления было установлено путём «прозвонки» соединений. Картина получилась следующей:

В такой конфигурации часов можно выставить точное время кнопками «Ч», «М» и «К», а также включить индикацию текущего времени в формате «ММ: СС» кнопкой «С» и вернуться к индикации в формате «ЧЧ: ММ» кнопкой «В».
Кнопкой «Т» включается обратный отсчёт таймера. Установленное по умолчанию значение – 55 минут 55 секунд (55:55). Установку таймера можно изменить в диапазоне от 00:00 до 59:59 кнопками «Ч» и «М» после нажатия кнопки «Б1». Возврат из режима установки – по кнопке «Т».
Нужно отметить, что если установить таймер в пределах от 00:00 до 23:59 в минутах и секундах, то в соответствующее время в часах и минутах сработает будильник 1, поэтому при доработках возможность отключения звуковых сигналов в таких часах просто необходима.
Краткие выводы
Итак, найденные на «барахолке» электронные часы из набора «Старт 7176» снова работают. Чтобы не быть голословным, представляю видеоролик работы этих часов. Приятного просмотра:
Радиоконструктор «Старт 7176» по вызванному резонансу и популярности можно, несомненно, считать «народным» конструктором.
Конструктор дал возможность советским радиолюбителям поработать со СБИС, но предлагаемая разработчиками набора схема электронных часов не раскрывала всех возможностей применённой в нём микросхемы К145ИК1901.
Ситуация была исправлена публикацией в журнале «Радио» многочисленных доработок часов из конструктора, предлагаемых читателями журнала.
Конструктор из публикации был выпущен в 1985 году. Спустя 36 лет, часы из этого набора всё ещё работают.
Автор: Korean Pilot
