Помните дирижабль Amazon?
Конечно, это был фейк. Но от истины здесь может быть недалеко. Amazon и правда хочет построить такую махину. Огромный аэростат, из которого во все стороны разлетаются дроны, как пчелы из улья. Компания ближе к реализации такого проекта, чем можно подумать. И она не одна.
В комментариях в посте о дирижаблях у Милфгарда разгорелась дискуссия, сможет ли такая махина доставлять грузы, или это чересчур нерентабельная, сложная и опасная задача.
Так вот, Amazon (и многие другие, в том числе китайское правительство и Walmart) думают, что вполне сможет. Только не совсем так, как сейчас работают фуры или контейнеровозы. Например, спускаться на землю такой гигант должен только в экстренной ситуации, не чаще раза в полгода. А висеть в воздухе он может на высоте стратосферы.
Склад над городом
82 года назад крушение «Гинденбурга» положило конец эпохе крупных аэростатов, которые доминировали в воздухе в начале XX века. Увидев, какую опасность дирижабли могут представлять для общественности и своих пассажиров, власти и производители окончательно сделали ставку на самолеты. В 1938 году производство цеппелинов было прекращено.
Но уже в скором будущем (по плану – буквально 10-20 лет) они могут вернуться. И воздух мегаполисов снова будут медленно бороздить огромные летающие суда. Размерами не меньше «Гинденбурга».
Они не будут доступны для пассажирских перевозок, вы вряд ли сможете забраться в них и полетать над городом. Но, благодаря последним технологиям, они могут стать выгодным и экологически безопасным способом доставки грузов. Особенно в больших городах вроде Нью-Йорка, где быстро перемещаться из точки в точку становится всё сложнее, и, наоборот, в местах с неразвитой инфраструктурой, куда обычным способом не так-то просто доехать.

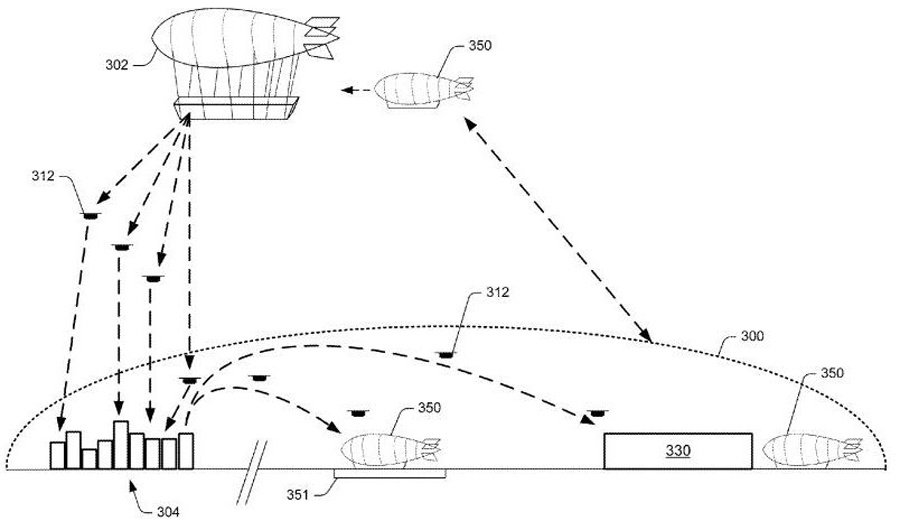
Патент работы аэростата Amazon
В 2016-м Amazon запатентовала проект летающего склада – airborne fulfillment center (AFC). Огромного дирижабля, медленно циркулирующего над городом на высоте до 14 000 метров. Заполненного гелием, куда более безопасным, чем водород, который погубил «Гинденбург».
Летающий склад, по плану, будет хранить самые востребованные и не сильно тяжелые товары. Когда клиент совершает покупку, автономный дрон слетает с неба и доставляет её по нужному адресу. Amazon говорит, что это потребует минимум энергии, потому что большую часть пути дрон будет просто планировать вниз. В отличие от любого наземного склада, ему не придется подниматься с земли с грузом. А учитывая, что поддержание аэростата в воздухе тоже требует очень немного энергии, такая система скоро начинает окупать себя.
Патент Amazon также предлагает несколько других вариантов использования такого склада-цеппелина. Например, во время футбольного матча покупатели могут захотеть приобрести напитки, еду или мерч. Дирижабль с нужными товарами заранее приплывет и припаркуется над полем. Ваши заказы будут обрабатывать прямо во время игры, и дроны будут доставлять их к вам в руки. А еще на такой махине будет полно места для рекламы, которую будет видно по всему городу. Если вдруг появился новый популярный товар (новый айфон или, скажем, колонка Echo) – покажите его на дисплее. У покупателя с земли создается впечатление, что каждый вылетающий из дирижабля дрон несет именно его, а он что-то упускает.

По патенту, аэростат будет очень большим – сотни метров в длину. С такими габаритами это просто выгоднее. Он сможет переносить несколько сотен тонн товаров. Его размеры и грузоподъемность будут выше, чем у самого большого самолета в истории – советского транспортника Ан-225 «Мрия», который может перевозить до 209 тонн.
Но главным плюсом всего проекта для пользователей Amazon будет скорость доставки. Компания и так сейчас тратит десятки миллиардов долларов в год, чтобы сократить её до двух дней по территории США. Это одно из её главных конкурентных преимуществ. А если склад летает в нескольких километрах над городом, доставка к любой точке мегаполиса дроном сокращается до «нескольких минут».

Предполагается, что такой гигант всегда будет оставаться в воздухе, чтобы не тратить энергию. Пополнение топлива и запасов на борту будет осуществляться менее крупными «шаттлами». Похожими дирижаблями, только на порядок меньшими, и со способностью регулярно садиться и подниматься.
Более поздний патент объясняет, что дроны компании также будут частично подзаряжаться в воздухе, от энергии, генерируемой воздушной турбиной машины. А чтобы посылка не дай бог не пострадала при приземлении, они планируют создать довольно необычную штуку, специальный кожух, который принимал бы посылку. Он спускается с дрона когда тот прибыл к вам под дверь и разворачивается в стиле аккордеона. Затем пакет аккуратно спускается, отталкиваясь внутри от его стен.
От своего главного конкурента в США не отстает и Walmart. В 2017-м она получила патент на «газонаполненную систему воздушного транспортника для запуска беспилотных авиационных систем для доставки продуктов». По сути, та же штука, только в профиль. Летающий склад товаров, с большим баллоном для газа, жестким каркасом, силовой установкой и местами для парковки дронов, которые принимают товары на выдаче и спускаются с ними вниз.

Только если амбиции Amazon стремятся в стратосферу (причем буквально), Walmart хочет, чтобы её дирижабль летал гораздо ниже, примерно на уровне шпиля Эйфелевой башни. Размер аэростата тоже поскромнее: как пять-шесть грузовиков, стоящих в ряд. В целом проект компании выглядит реалистичнее, но с другой стороны – у Amazon уже есть готовая система доставки дронами в виде Prime Air. Ей осталось только построить дирижабль, с которого их можно было бы запускать. Технология, которая была реализована в 1850-х, вряд ли станет чем-то непостижимым для Безоса.
Летающие киты
О потенциальном возрождении дирижаблей думают не только главные американские гиганты продаж. Например, китайская госкомпания вложилась в проект французской фирмы Flying Whales. Всего проекту от Франции и Китая уже перепало больше $300 млн, при том что по сути у него пока есть только идея и план.
Сборку цеппелинов будут проводить в Центральном Китае, в районе Цзиньмэня, а также во Франции и Марокко. Первый тестовый «летающий кит» длиной 150 метров по плану собираются пустить вплавь в 2021 году. Он тоже никогда не будет приземляться, в тихую погоду держась в воздухе без затраты горючего. По итогу в Китае в районах со слабой инфраструктурой должны будут курсировать десятки гигантских дирижаблей, каждый в длину более чем в два раза больше Boeing 747. Себастьян Бугон, СЕО Flying Whales, рассчитывает построить больше 150 машин до 2032 года.

Проект появился в 2012 году в Лесном управлении Франции. На юге и востоке у страны есть районы, богатые (по меркам Европы) лесными ресурсами. Но их разработка сильно затруднена из-за отсутствия нужной инфраструктуры. Если прокладывать тысячи километров дорог и строить аэродромы для транспортировки древесины, проект будет окупаться очень долго. Поэтому французы задались вопросом: есть ли способ дешевле и проще?
Дирижабль мог бы приземляться на месте вырубки, или не приземляться вообще, а использовать подъемник. Ему не нужны дороги, он может перевозить товар огромного веса с относительно небольшими затратами. И даже если что-то пойдет не так, и случится катастрофа масштабов «Гинденбурга» – в лесах от этого пострадают только вороны и белки.
Компания Flying Whales представила французскому правительству проект LCA60T – дирижабль, заполненный гелием, и приводимый в действие семью электрическими моторами, отвечающий всем спецификациям. Как видно из названия, он рассчитывается на перевозку 60 тонн груза. Для сравнения, большая фура обычно перевозит до 22 тонн.

Есть надежды, что транспортировать лес будут слегка по-другому
Аэростаты планируют использовать не только для расширения территории лесозаготовок. В дизайне закладывают возможности для транспортировки электрических опор, ветряных турбин и даже модульных зданий. Быстро осваивать любые территории, строить инфраструктуру там, где от неё до этого не было и следа.
Китайская GAIGA уже инвестировала в проект порядка $200 млн, получив четверть доли в фирме. Всего же Flying Whales оцениваются в более чем $1 млрд, хотя даже работающего прототипа у компании пока нет.
Почему дирижабли
По задумке китайцев, аппарат должен помочь стране решить несколько актуальных проблем.
Во-первых, транспортировка больших грузов из труднопроходимых регионов. Например – из нефтяных и газовых месторождений Арктики (для этого также уже заказали гибридные дирижабли LMH-1 у Lockheed Martin). Арктика открывается, в связи с глобальным потеплением там появляется все больше возможностей, и большое преимущество окажется у тех, кто сможет первой их эксплуатировать.

Дирижабли Flying Whales смогут путешествовать на скоростях до 100 км/ч и по цене менее 5% от стоимости работы грузовых вертолетов. Длина грузового отсека – целых 75 метров, половина самого цеппелина. В аэростате можно перевозить что угодно, не только саму нефть и газ, но и запчасти, и даже членов команды. Они могут стать важным звеном сложных логистических цепочек.
Во-вторых, дирижабли могут помочь в развивающихся странах Африки и Азии, на которые у Китая тоже есть свои претензии. Во многих местах хороших дорог нет и (за счет коррумпированного правительства) даже не предвидится. А здесь – можно взять всё в свои руки. Перевозить генераторы, солнечные панели. Быстро отправлять товары в неразвитые области. Для этой же задачи дирижабли-грузовики могут пригодиться и России. С ними можно полететь в любое бездорожье, и доставить большой груз, не затратив на это огромные деньги.
В-третьих, вопросы экологии. Самолеты и вертолеты очень неприятны в плане выбросов CO2. В 2010 году Международная ассоциация воздушного транспорта призвала отказаться от тяжелых грузовых самолетов. Boeing 747 использует 7840 кг авиационного топлива для взлета, полета и посадки на 250 км. И по 10 кг для каждого последующего километра в идеальных условиях. Небольшое путешествие от Москвы до Петербурга производит порядка 45 тонн СO2. Те же выбросы в атмосферу на таком путешествии произвели бы 350-400 машин.
Дирижабли выбрасывают в атмосферу на 80-90% меньше вредных газов. И за счет небольшой высоты полета (в случае с Flying Wales и проекта Walmart) не оставляют инверсионных следов, способствующих парниковому эффекту. Китайский рынок грузоперевозок один из самых больших в мире, и даже если небольшую его часть перевести на дирижабли, темпы загрязнения можно было бы значительно сократить.

Goodyear – одна из немногих компаний, производящих дирижабли сейчас. Используются для рекламы компании на матчах американского футбола
Конечно, дирижабли не идеальны. Они медленнее вертолетов и самолетов (хотя и быстрее грузовых кораблей). А их огромные размеры делают их уязвимыми для сильных ветров и других неблагоприятных погодных явлений. Ну и – стигма от одной из самых зрелищных катастроф XX века, пожара «Гинденбурга», пока еще остается. Люди могут не принять огромные аэростаты, курсирующие в небе над ними, с большим радушием.
Amazon дирижабли нужны для мегаполисов. Китаю – для освоения территорий. А кому-то они нужны для души. В апреле 2017 года стало известно, что сооснователь Google Сергей Брин тоже занялся разработкой дирижаблей. Работы ведутся во втором ангаре Исследовательского центра Эймса NASA в Калифорнии.
Проект Брина – некоммерческий. В перспективе его дирижабли (длина около 200 метров, грузоподъемность до 80 тонн) будут использоваться в гуманитарных операциях, в частности, при доставке медикаментов и продуктов питания в самые отдаленные и труднодоступные регионы. Все работы по проектированию дирижабля ведутся исключительно на средства самого Брина. По предварительной оценке, проектирование и постройка такого воздушного судна обойдутся IT-магнату в $100-150 млн.
А как вам, готовы к приходу дирижаблей, или лучше уж по старинке, как мы, самолётами?
P. S. Почтой.ком выгодно доставляет вам посылки из любых интернет-магазинов США. В Россию – от $12 (и за 4-8 дней!), в Украину – от $8 (в любое отделение «Новой Почты»). Посылки страхуются, хранение в США до 70 дней – бесплатно. Читателям Хабра скидка 7% на доставку после регистрации с кодом HABR. И бесплатный выкуп товаров из магазинов («Полное сопровождение») по тому же коду.
Автор: Pochtoycom

