
Когда увидели свет NES и SNES Classic Mini, автор этих строк высказввал в комментариях предположения, что Game Boy — следующий. И вот в этом направлении что-то зашевелилось, но никто не предполагал, что задачу решат так (ссылка на патент).
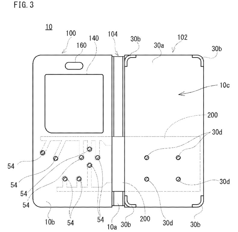
Чехлы, изображающие Game Boy, уже известны, но они надеваются на телефон сзади и либо являются декоративными, либо содержат начинку от стандартной игры Brick Game. Этот же чехол будет выполнен в виде книжки с вырезом на «обложке», как у некоторых моделей Samsung, только ещё и с кнопками, и задействует дисплей и сенсор смартфона. Работать он сможет в паре с приложением — обычным эмулятором, только официальным, элементы UI которого подогнаны по размерам и расположению к «дисплею» и кнопкам чехла. Последние выполнены рельефными и имитируют прикосновение за счёт подключения при нажатии проводника большой площади к небольшим проводящим же «пятачкам», прижатым к экрану смартфона. Поперечное сечение механизма кнопки для наглядности показано как в отжатом, так и в нажатом положении.


Проводник соединён с большой сенсорной пластиной на тыльной стороне чехла, за которую его держит пользователь. Так всё это выглядит отдельно:

А так — в составе чехла:
Чтобы ответить на входящий звонок, придётся сначала открыть «книжку».
Патентование — не гарантия, что товар будет выпущен. Иногда корпорации, патентуя что-нибудь, действуют по принципу «собаки на сене». Иногда — нет. Время покажет.
Автор: tormozedison
