
Производители видеоигровых консолей не любят, когда нарушаются правила. Но это всё равно происходит. Технически одарённые люди неизбежно стремятся подчинить платформы своей воле, несмотря на опасность судебных тяжб и на желание владельцев этих платформ защитить свои масштабные инвестиции. Существует множество примеров таких ситуаций, самым печально известным из которых стало дело Game Genie. (На самом деле, недавно в Канаде Nintendo выиграла тяжбу о копирайте у продавца «флеш-картриджей» и других устройств для модификации.) Но стоит заметить, что, не будь подобных случаев, игровая индустрия была бы сейчас совершенно другой. И сегодня мы объясним, почему.
«Мы были первыми сторонними разработчиками видеоигровых картриджей, и знали, что открываем совершенно новую бизнес-нишу. Мы не просто оказались в нужное время в нужном месте. Мы создали необходимые технологии, сражались с юристами и отбивали попытки Atari перекрыть каналы продаж нашего продукта».
Дэвид Крейн, один из основателей Activision, обсудил с Gamasutra сложности, созданные компанией Atari после выпуска их продукта в 1979 году. Activision была сформирована группой разработчиков Atari, чувствовавших, что компания не отдаёт должное их работе. Atari потратила много лет на юридические битвы с Activision, но ей так и не удалось добиться закрытия компании. Этот шаг был правильным для Activision, которая до сих пор с нами, но привёл к переизбытку разработчиков игр на Atari 2600. Многие из них не понимали, чем занимаются. Нехватка контроля качества в отрасли привела к обвалу рынка видеоигр в 1983 году.

Официальная лицензированная версия игры Gauntlet компании Tengen рядом с нелицензионной версией. (источник: True Viral News)
История компании Tengen, нарушившей все правила
Корпоративная история Atari довольно хаотична и состоит из множества ошибочных ходов и тупиковых решений.
За годы работы компания и её побочные проекты совершили кучу ошибок. Возможно, величайшая из них — плохая работа с противоречивой политикой лицензирования Nintendo, компании, многому научившейся из злоключений Atari с консолью 2600.
Nintendo of America, видя огромное количество низкосортных продуктов, выпущенных на Atari 2600, плохой контроль качества и даже порнографические игры, применила гораздо более строгий подход к лицензированию. Создатель NES под управлением Ховарда Линкольна ограничивал количество игр, которые могла создать одна компания, управлял распространением картриджей и забирал себе солидную часть выручки.
Естественно, Tengen, подрядчика дочерней компании Atari под названием Atari Games, раздражали эти стандарты, потому что ограничивали возможности выпуска игр для консоли. В начале она имела успех, её самой известной игрой стала RBI Baseball, но в декабре 1988 года компания начала антимонопольную тяжбу против Nintendo, обвиняя ту в антиконкурентном поведении.
(Усложняло ситуацию то, что среди всего прочего, Tengen выпустила в США версию Tetris, не получив на это прав из СССР. Nintendo сама приобрела права на эту игру, что привело к ещё одной юридической битве и дальнейшему ухудшению отношений между двумя компаниями.)
Во многих смыслах Atari Games в этом деле имела преимущество, потому что если бы Nintendo выиграла, то, как заметил во время тяжбы автор Chicago Tribune Деннис Линч, под угрозой оказалась бы вся игровая отрасль.
«На чьей стороне будет обычный потребитель? Очевидно, что Atari Games», — писал Линч. «Если она выиграет, пользователям будет доступно больше игр и картриджей. Если выиграет Nintendo, негативные последствия для компьютерной отрасли будут угрожающими».
Однако здесь была проблема. Atari Games совершила шаг, который в лучшем случае можно считать непреднамеренной ошибкой, а в худшем — мошенничеством. Тайна контроля Nintendo над рынком игр заключалась в добавление защитного чипа 10NES, который не позволял нелицензированным создателям игр делать игры для консоли.

Чип 10NES компании Tengen, созданный благодаря чертежам, полученным из Бюро авторского права США.
Это была эффективная защита, но создатели игр всё равно нашли способ её обойти. Другие нелицензированные создатели картриджей, такие как Color Dreams и Camerica, обходили чип с помощью скачков отрицательного напряжения. Однако Atari Games применила гораздо более спорный подход: она обратилась в Бюро авторского права США и под вымышленным предлогом запросила код 10NES.
Это давало обоснования позиции Nintendo в судебном деле, которое в результате рассматривалось в 1992 году в аппеляционном суде США.

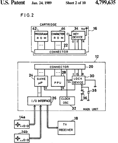
Схема защиты Nintendo из патента
«Получив копию кода из Бюро авторских прав, Atari создала промежуточные копии программы. Atari сделала фотокопии документов из Бюро, проанализировала чипы и вручную скопировала объектный код 10NES из проанализированного чипа», утверждалось в анализе дела. «Затем Atari вставила этот скопированный код 10NES в компьютер, который помог разобраться в схеме программы. Окружной суд постановил, что это промежуточное копирование нарушило авторские права Nintendo».
Это было совершенно не похоже на обратную разработку в «чистой комнате», и ударило по Atari Games — то, что казалось выигрышным делом, превратилось в привычный пример наружения авторского права.
К счастью, решение по ещё одному делу примерно в то же самое время, ответило на многие похожие вопросы дела Atari Games Corp. против Nintendo of America Inc.
«Это было одно из первых крупных дел, в котором лицензиат выступал против Nintendo, и оно имело эффект лавины. …Atari подала на Nintendo в суд по тому же делу, Федеральная торговая комиссия начала расследование против Nintendo, [и] это на самом деле вынудило Nintendo ослабить требования к лицензированию».
Норман Карузо, создатель The Gaming Historian, рассказал The Register о влиянии антимонопольного иска Tengen против Nintendo на права лицензирования. Даже несмотря на то, что Tengen с треском проиграла и была фактически отстранена от создания игр для NES, за политику Nintendo вынесли предупреждение и она в результате изменила стандарты лицензирования.

Нелицензированная игра Ishido: the Way of Stones компании Accolade для Sega Genesis. (Museum of Play)
Как Sega безуспешно пыталась «прижать» создателей нелицензированных игр, ловя их на лжи
Примерно в то время, когда Федеральный аппеляционный суд пытался выяснить подробности дела Atari Games, Апелляционный суд девятого округа США пытался разобраться в проблеме с правами сторонних лицензиатов.
И занимался он этим на примере очень похожего дела, связанного с Sega Genesis, а не NES, но почти все обстоятельства были теми же.
Разработчик видеоигр Accolade, работавший со множеством консолей и вычислительных платформ начала 90-х, не хотел становиться эксклюзивным лицензиатом Genesis. Но именно этого требовала Sega в те времена. Как и Atari Games, компания Accolade попыталась обойти защитные системы создателя консоли. В отличие от Atari Games, Accolade преуспела в этом, если не считать разразившуюся бурю.
Accolade была способна разобраться в обратной разработке консоли с помощью всего нескольких игр и версии Genesis. Компания превратила сторонний код в своего рода комплект разработки.
Благодаря реверс-инжинирингу обнаружилась очень куцая защита от копирования. Sega беспокоило пиратство на тайваньском рынке и она добавила собственные средства безопасности, чтобы защититься от пиратских картриджей. В консоли использовалась патентованная Sega система под названием TMSS (trademark security system, система защиты торгового знака). Она была установлена в Genesis III, которая на то время была последней версией консоли.

Bubsy in Claws Encounters of the Furred Kind, одна из самых известных игр Accolade для Genesis. Эта версия — нелицензированная.
TMSS была буквально минимальной мерой защиты. В отличие от физического чипа, использовавшегося в каждом картридже Nintendo, TMSS — это простой код инициализации, длиной примерно 20-25 байт, содержащий буквы S-E-G-A. При добавлении в картридж этого кода он выводил на экран сообщение, говорящее пользователю, что картридж был «произведён или лицензирован Sega Enterprises Ltd».
С точки зрения управления цифровыми правами, эта система должна была ловить нарушителей на лжи, что является довольно странным способом защиты.
«По правде говоря, TMSS была ужасной реализацией DRM, даже по и без того низким стандартам в этой отрасли», — написали Аарон Пежановски и Джейсон Шульц в своей недавней книге The End of Ownership.
Этот небольшой огрызок кода и выводимое на экран сообщение стали основанием дела Sega Enterprises Ltd. против Accolade Inc., которое рассматривалось в Апелляционном суде девятого округа США всего месяц спустя дела Atari Games Corp. против Nintendo of America Inc.
Здесь возникло несколько вопросов: был ли этот код настолько значимым, что его кража могла бы считаться нарушением авторских прав? Нарушил ли процесс, выполненный Accolade для получения этого кода, авторские права Sega? Не ввела ли Accolade в заблуждение пользователей, добавив не соответствующее истине сообщение о лицензировании игры компанией Sega? Нижестоящий суд встал по этому делу на сторону Sega, но Апелляционный суд принял совершенно иное решение, особенно в отношении дизассемблирования. Важная цитата:
В отношении видеоигровых программ, содержащихся в игровых картриджах Accolade, нет никаких свидетельств в том, что Accolade стремилась избежать творческого труда. Большинство игр, выпущенных Accolade для консоли Genesis, было изначально разработано для других аппаратных систем. Более того, Accolade не стремилась избежать стандартной оплаты и не копировала код Sega. Она написала собственные процедуры на основании того, что узнала при дизассемблировании. В целом эти факты говорят, что, хотя конечной целью Accolade был выпуск для продажи совместимых с Genesis игр, непосредственной целью копирования кода Sega, то есть непосредственного использования защищенного авторским правом материала, было изучение функциональных требований совместимости с Genesis для изменения уже существующих игр.
Решение суда открыло очень важные возможности для компьютерной отрасли. Оно признало, что «когда есть законная причина получения такого доступа, с точки зрения закона дизассемблирование является добросовестным использованием защищённой авторским правом работы». Другими словами, решение фактически сделало законным обратную разработку в целях обеспечения совместимости консолей.
А как насчёт проблем с торговым знаком и подделкой маркировки, указанных компанией Sega? Суд пришёл к выводу, что Sega, а не Accolade, несёт ответственность за возникший конфликт, потому что в конечном итоге код имел функциональное применение.

Версия Bubsy для Genesis, лицензированная Sega.
Это была большая победа для Accolade, которая привела к хорошей сделке с Sega по лицензированию игр и внесла важные изменения в компьютерную отрасль.
В наше время сторонние разработчики игр имеют большую власть над отраслью видеоигр, вплоть до того, что их присутствие на консоли может повлиять на её успех или провал. Но эти два случая стали хорошим напоминанием о том, что так было не всегда.
Дело Atari Games, несмотря на тайную эксплуатацию Бюро авторских прав для реверс-инжиниринга чипа защиты, всё равно можно было бы выиграть, не пойди Atari Games на мошенничество.
К счастью, в то время это было не единственное дело, касавшееся данной проблемы, иначе состояние рынка было бы довольно печальным. Как замечают авторы The End of Ownership, дело Accolade сильно повлияло на законодательство в целом и привело к созданию «правил дорожного движения» — Audio Home Recording Act (AHRA) и Digital Millennium Copyright Act (DMCA).
И хотя Accolade с Atari Games уже не существуют, остался ещё один разработчик игр для Genesis, повторивший то же, что сделала Accolade. Этот создатель игр для PC выполнил обратную разработку платформы Sega и превратил свой успех на Genesis в козырную карту. Благодаря ей состоялась выгодная для него сделка, которой ему никогда бы не удалось добиться у Nintendo.
Этой компанией была Electronic Arts, ставшая в наши дни крупнейшим издателем.
Автор: PatientZero
