
«Посредник» — предлагаемый Microsoft новый компонент Windows 10. Возможно, он будет выглядеть именно так
Последняя операционная система от Microsoft, Windows 10, занимает все большую долю рынка ОС. Частично это вызвано тем, что Windows 10 получила одобрение многих пользователей. А частично — тем, что корпорация Microsoft старается активно продвигать свой продукт. За прошедший год методы продвижения Windows 10 ее создателями много раз становились предметом обсуждения в СМИ.
Еще один нюанс — это передача Windows 10 большого количества пользовательских данных на сервера компании. Телеметрия в «десятке» беспокоит большое количество пользователей, которые пытались узнать, зачем Microsoft столько данных. Корпорация в ответ заявляла, что получаемая информация обезличена и служит только для улучшения качества ее программных продуктов. Но пользователям все это не слишком нравится. Сейчас редмондская компания рискует вызвать новую волну недовольства. Дело в том, что Microsoft подала заявку на патент для способа слежения за пользователем при помощи нового компонента ОС.
Патент называется "Query Formulation Via Task Continuum”. В нем описывается способ, упрощающий обмен данными между отдельными приложениями в режиме реального времени. По мнению разработчиков этой технологии, она увеличит эффективность работы пользователя с приложениями и всей операционной системой.
Microsoft считает, что текущая модель работы программного обеспечения, когда каждое приложение предоставлено само себе и мало взаимодействует со своим окружением, не слишком эффективна. «Вследствие того, что отдельные программы практически не связаны друг с другом, вычислительная система не представляет, что требуется пользователю в конкретный момент времени», — говорится в патентной заявке.

В качестве примера корпорация приводит случай, когда пользователь делает заметки в OneNote по теме танцев. Одновременно этот пользователь ищет при помощи Internet Explorer информацию о танцевальных стилях в Сети. Это два приложения обычно не связаны друг с другом и не обмениваются информацией, но корпорация предлагает это исправить.
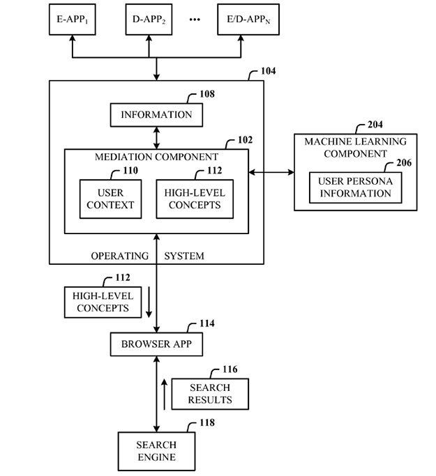
Разработчики компании предлагают улучшить взаимодействие отдельных приложений при помощи «промежуточного компонента» или «Посредника» (Mediator). Этим компонентом отдельную программу, которая будет следить за действиями пользователя, передавая собранные данные остальным приложениям и устройствам этого же человека. «Компонент» будет следить не только за текстом, который вводит пользователь, но и за другими его действиями. Например, за поиском песен в Сети или работой с картинками, которые хранятся на жестком диске. Кроме того, «промежуточный компонент» будет собирать данные таких приложений, как Word, Skype, Edge.
«Поисковый сервис использует контекстное ранжирование для настройки оценки предполагаемых элементов поиска. Это делается для улучшения релевантности предполагаемого поискового запроса. Операционная система, играя роль промежуточного компонента, отслеживает все текстовые данные, которые показываются пользователю любыми приложениями, и выполняет анализ данных для определения намерений пользователя», — говорится в патентной заявке.
Корпорация утверждает, что этот метод позволит ускорить работу пользователя с ПК и поисковыми сервисами. Конечно, для некоторых пользователей этот метод будет выглядеть как попытка Microsoft официально добавить в свою ОС «большого брата». «Посредник» действительно будет отслеживать все действия, которые вы выполняете на своем компьютере, собирать эту информацию и передавать дамп данных в Bing в режиме реального времени.
Microsoft в очередной раз утверждает, что система будет передавать только обезличенные данные, но вряд ли это успокоит тех пользователей, кто уделяет внимание своей анонимности в сети и считает, что личные данные должны оставаться личными.

В патентной заявке подробно описывается то, как все это будет работать в экосистеме продуктов Microsoft: «Например, в экосистеме устройств с Windows ОС, которая может включать два или больше таких устройства, как, например, Windows Phone, планшет Surface Pro, Xbox, операционная система будет собирать и отслеживать данные сторонних приложений, работающих на этих же гаджетах, а также взаимодействовать с операционными системами других устройств. Это делается для того, чтобы ОС на каждом конкретном девайсе „знала“ все о том, что происходит с другими устройствами экосистемы. Разрозненные данные будут собраны в единое целое».
Microsoft предлагает сделать «Посредника» опциональным модулем, который может быть установлен в среде ОС Window 10 или же встроен в структуру операционной системы.
То, что Windows 10 собирает подробные данные о своих пользователях, известно давно. В 2014 году Microsoft опубликовала новое заявление о конфиденциальности, где говорилось о том, то корпорация может собирать информацию об использованных программах ПК и ноутбуков с установленной Windows 10, а также самих устройствах и сетях, где они работают. Такие данные могут быть объединены с идентификатором пользователя. Собирается и информация о предпочтениях конкретного человека, местоположении, его интересах.
Активнее всего собирает данные голосовой помощник Cortana. Список серверов, на которые отправляются данные, обширен. Правда, если есть такая необходимость, то можно отключить телеметрию в Windows 10.
В случае создания «Посредника» сбором и отправкой данных на сервера корпорации будет именно он. Вероятно, информации будет отправляться ещё больше. Ну, а решать, работать с «Посредником» или нет, придется пользователям. Скорее всего, после появления нового компонента ОС специалисты по информационной безопасности быстро найдут способ отключения телеметрии.
Автор: marks
