
Привет! Меня зовут Сергей! Я отвечаю за игровое направление в М.Видео и Эльдорадо. Постараюсь регулярно делиться последними новостями из мира игр и игровых устройств. Буду рад знакомству и общению в комментариях. А пока давайте поговорим про дополненную реальность и игровые устройства.
Когда Sony выпустила свою гарнитуру PlayStation VR в 2016 году, она уступала конкурентам, таким как HTC Vive и Oculus Rift, из-за низкой производительности и менее впечатляющей графики. Тем не менее, у PlayStation VR было одно важное преимущество, а именно низкая (в то время) цена на гарнитуру, позволяющая геймерам испытать новую технологию без больших затрат.
Через год после запуска PS VR, Sony выпустила новую версию гарнитуры, в которую внесли изменения: упрощённый метод подключения гарнитуры к PS4, а также встроенные наушники. И хотя эта аппаратная VR определённо была лучше предыдущей, сегодня Sony пора уже выпустить полноценную PS VR2.

Сравнение первого и нового
PlayStation VR уже на момент выхода была устаревшей технологией. Достаточно поиграть в последние выпуски, такие как Hitman 3, чтобы понять, насколько далеко впереди другие VR-гарнитуры. И в настоящее время они продаются по гораздо более выгодным ценам, а это означает, что ценовой барьер уже не так важен для тех, кто хочет окунуться в VR. Хотя PS VR при запуске была встречена неоднозначно, это не помешало разработчикам создавать игры для системы, и теперь PS VR может похвастаться довольно солидной линейкой как собственных, так и сторонних игр.
В начале 2020 года было продано 5 миллионов единиц PS VR. Сейчас это число, вероятно, намного выше, что побудило Sony дать зелёный свет гарнитуре второго поколения. В 2021 году компания продемонстрировала контроллеры, которые будет использовать PS VR 2, и заявила, что в 2022 году будет начато его производство. PS VR всё ещё поддерживается, так как Sony недавно анонсировала несколько игр, включая продолжение Moss.
Первое и, пожалуй, самое важное отличие гарнитуры PS VR от будущей новой модели — это разрешение. Гарнитура PS VR имела разрешение 1920x1080, а новая модель — 2000x2040. Хотя это всё ещё далеко от HTC VIVE Pro 2 с разрешением 4896x2448, можно надеяться, что это позволит сохранить доступную цену.
Экраны в новой гарнитуре также OLED, но теперь предлагают функции 4K HDR, технология которая улучшает цвет на экране, и фовеальный рендеринг, чтобы обеспечить высокое качество изображения. Новая модель сохраняет ту же частоту обновления, что и оригинал, 90–120 Гц. Поклонники виртуальной реальности могут быть немного разочарованы этим, поскольку современные гарнитуры, как правило, строго придерживаются частоты обновления 120 Гц. Также PlayStation VR2 предлагает немного более широкое поле зрения, чем оригинальная гарнитура, 110 градусов, а не 100 как у оригинала.
Нельзя просто так подключить гарнитуру PS VR к PlayStation 5 и заставить её работать. Любителям виртуальной реальности приходится заказывать у Sony адаптер PS VR, чтобы использовать свою гарнитуру на новой консоли. И хотя Sony отправит адаптер бесплатно, это всё равно неудобно, так как приходится полагаться на PlayStation Camera.

Но, безусловно, самое большое отличие PlayStation VR2 — это спаривание кабелей. Теперь требуется только один кабель USB-C между PlayStation и гарнитурой, в отличие от нескольких кабелей, подсоединяемых как к консоли, так и к кабелю. Точно так же PlayStation Camera больше не требуется для виртуальной реальности, поскольку новая гарнитура имеет четыре встроенные камеры.
Наряду с улучшенными характеристиками PS VR2 также имеет несколько интересных новых функций, которые потенциально могут изменить ландшафт VR. Первая — технология отслеживания взгляда. Это повлияет на то, как NPC реагируют на игроков в определённых играх, когда они инициируют диалог или взаимодействие, когда игрок смотрит в их сторону. Это не совсем оригинальная концепция, так как VIVE Pro Eye имеет аналогичную технологию отслеживания взгляда, но если PlayStation VR2 окажется доступной, это поможет привлечь больше внимания к технологии.
К одним из лучших нововведений PlayStation VR2 можно отнести контроллеры Sense. Они заменят довольно неудобные джойстики PlayStation Move в PS VR и дадут игрокам два аналоговых джойстика, а также некоторые важные лицевые кнопки и триггеры. Эти контроллеры также используют технологию DualSense PS5 со встроенной тактильной обратной связью вместе с адаптивными триггерами. Хотя поклонники виртуальной реальности ещё не видели гарнитуру в действии, за исключением короткого трейлера Horizon Call of the Mountain, эти улучшения могут сделать её достойным обновлением для нынешних владельцев.

PS VR 2 Sense сочетает в себе отслеживание взгляда, обратную связь с гарнитурой, 3D-аудио и инновационный контроллер для создания невероятно глубокого ощущения погружения. Обратная связь с гарнитурой — это новая сенсорная функция, которая усиливает ощущения от игровых действий. Sense создан с помощью одного встроенного двигателя с вибрациями, которые добавляют интеллектуальный тактильный элемент, обеспечивая глубокое погружение в VR.
Например, геймеры смогут почувствовать учащённый пульс персонажа в напряженные моменты, движение объектов, проходящих близко к голове персонажа, или тягу транспортного средства, когда персонаж мчится вперед. Кроме того, Tempest 3D AudioTech на PS5 оживляет звуки вокруг игрока, добавляя новый уровень погружения.
PlayStation VR 2 может поддерживать технологически более продвинутые возможности виртуальной реальности на PS5, а также давать фанатам доступ ко многим играм PS VR, выпущенным для PS4 на протяжении прошлых лет. Сюда входят VR-игры с самым высоким рейтингом, такие как Astro Bot Rescue Mission.
Ниже приведен список официальных спецификаций.
Технические характеристики PlayStation VR2:
-
Метод отображения OLED;
-
Разрешение панели 2000 x 2040 на каждый глаз;
-
Частота обновления панели 90 Гц, 120 Гц;
-
Разделение линз Регулируемое;
-
Поле зрения прибл. 110 градусов;
-
Датчик движения: шестиосевая система обнаружения движения (трёхосевой гироскоп, трёхосевой акселерометр);
-
Датчик крепления: ИК-датчик приближения;
-
4 камеры для отслеживания гарнитуры и контроллера;
-
ИК-камера для слежения за каждым глазом;
-
Обратная связь: Вибрация на гарнитуре;
-
Связь с PS5: USB Type-C;
-
Аудиовход: Встроенный микрофон;
-
Выход: разъём для стереонаушников.
Игры для VR
Несмотря на относительно медленный старт, виртуальные игры все больше закрепляют свои позиции в игровой индустрии. Отчасти это произошло благодаря нескольким успешным VR-играм, выпущенным в последние годы. Сюда входят Half-Life: Alyx от Valve и Resident Evil 4 VR.
Sony инвестировала в VR-игры через PS VR, а также в эксклюзивные игры, выпущенные для неё. Игра в WipEout Omega Collection и Astro Bot Rescue Mission в виртуальной реальности, дарит совершенно иные ощущения.
Sony продемонстрировала краткий тизер Horizon Call of the Mountain, VR-мира, действие которого происходит во вселенной Horizon: Zero Dawn. Хотя этот проект сам по себе захватывающий, возникает вопрос, какие другие известные франшизы PlayStation также могут быть в разработке для PS VR2. Основываясь на жанре и стиле, следующие игры хорошо подходят для демонстрации технологий в новой технологии Sony.
В последний раз игроки видели франшизу Killzone при запуске PlayStation 4 ещё в 2013 году. Killzone: Shadow Fall, хоть и являла собой неплохую демонстрацию аппаратного обеспечения в то время, была встречена неоднозначно по сравнению с её предшественниками на PS3. Несмотря на это, франшиза по-прежнему обладает большим потенциалом, а её более взвешенный и жёсткий подход к перестрелкам от первого лица получил высокую оценку как критиков, так и фанатов.
Подобно Killzone, серия Resistance от Insomniac в какой-то момент была популярным приложением для PS3. Однако, как только это поколение игр закончилось, франшиза, казалось, угасла. В настоящее время Insomniac не занимается играми, но обязанности по разработке могут быть переданы другой студии под флагом Sony. Захватывающий экшн и даже темы хорроров Resistance могут создать по-настоящему захватывающий опыт виртуальной реальности.
Шутеры от первого лица являются наиболее очевидным выбором для виртуальной реальности, но альтернативы всегда приветствуется. Tearaway был отмечен как красочное приключение, не похожее ни на что другое. Первоначально являясь эксклюзивом для PSVita, Tearaway нашёл способы использования множества мультимедийных функций этого портативного устройства для ещё более увлекательного опыта.
Основываясь на этом, компания Media Molecule, вероятно, сможет найти способ превратить это в игру в VR, позволяющую игроку увидеть блестящий созданный мир, разворачивающийся прямо у него на глазах.
Insomniac проделал фантастическую работу, воссоздав внешний вид и ощущение того, каково это крутиться по Нью-Йорку в качестве веб-головы. Однако PS VR2 показывает возможность сделать всё это с совершенно новой точки зрения. Единственное, что было бы более захватывающим, чем основная игра, — это увидеть мир глазами Человека-паука. Прыгать с высоких крыш и вручную стрелять паутиной из каждой руки было бы, несомненно, весело. Iron Man VR тоже намекнул на возможность примерить костюм Тони Старка.

Недостатком VR-игр является то, что они могут иногда вызывать укачивание. Есть игроки более склонны к этому, чем другие, но проблема затрагивает достаточное количество людей. Считается, что укачивание вызывается смешанными сигналами, поступающими в . Гарнитура виртуальной реальности сообщает
Есть некоторые лайфхаки для устранения этой проблемы, например, можно направить вентилятор на лицо или заранее принять средство от тошноты, но в идеале должно быть решение от аппаратного обеспечения или самих игр. Одно из них — дать игрокам возможность глубокой индивидуальной настройки, до тех пор, пока укачивание не уменьшится или полностью не исчезнет. Возможность настраивать FOV и размытие способствует уменьшению укачивания. На аппаратном уровне уменьшить укачивание можно, также, минимизировав задержку.
Планы и проблемы
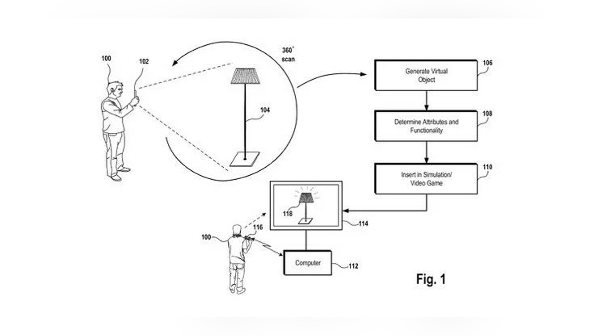
Сразу после демонстрации на выставке CES 2022, где были подробно описаны технические характеристики PS VR2, Sony обновила патент на целый перечень новых технологий виртуальной реальности. Например, разработана функциональность, позволяющая игрокам сканировать предметы реального мира в виртуальную реальность, делая что-либо интерактивным в виртуальном пространстве.

Этот патент на самом деле не является чем-то новым, поскольку Sony подала его 23 июня 2021 года, однако патентное ведомство не согласилось с некоторыми из своих претензий, требуя от технологического гиганта переработать некоторые детали и повторно подать заявку.
Важно отметить, что Sony ещё не получила патент и что он всё ещё обрабатывается, поэтому фанатам не следует ожидать, что эта технология появится в играх в ближайшее время.
Не все хорошие идеи имеют шанс на успех. В игровом мире это, пожалуй, наиболее болезненно наблюдалось с PS Vita. На бумаге устройство было идеальной портативной игровой консолью. Это было техническое чудо для своего времени, графически насыщенные игры и надёжное мультимедийное устройство. Элегантный гаджет, на который так же приятно смотреть, как и играть.
К сожалению, он не оправдал ожиданий, связанных с ним, и Sony в конечном итоге сократила срок службы устройства, прежде чем отказаться от него. В процессе было потеряно много игрового потенциала, и хотя Vita чудесным образом удалось сохранить небольшой культ благодаря постоянному выпуску JRPG и визуальных новелл от сторонних студий, ей так и не удалось полностью расправить крылья.
PS VR2 может оказаться в том же положении, что и Vita. Это нишевое устройство, и пока ещё не всем нравится идея VR-игр. Однако это не означает, что PS VR2 следует рассматривать как побочный проект. Благодаря постоянной поддержке со стороны Sony, устройство может иметь большой успех, который удовлетворит как Sony, так и геймеров. Создание базы игроков для системы также потребует от Sony разумной цены на PS VR2. Если что-то пойдет не так, геймеры могут остаться с довольно дорогой повязкой на глазах и с небольшим количеством игр.
Геймеры привыкли к переносам, ремейкам и ремастерингам. Это может быть хорошим признаком, потому что даёт многим играм второй шанс. Однако количество выпускаемых неоригинальных игр может иногда вызывать лишь досаду.
PS VR2 не должна служить платформой для портирования существующих игр. Скорее, стать катализатором для выпуска новых и инновационных игр. Простые порты никогда не смогут использовать преимущества VR-игр так, как это может сделать игра, созданная для платформы с нуля. Такие игры, как Astro Bot Rescue Mission, продемонстрировали, насколько впечатляющими могут быть виртуальные игры, когда студия уделяет платформе внимание, которого она заслуживает, и создает что-то, чтобы использовать все сильные стороны и уникальные возможности, которые предлагает виртуальная игра.
С недавним приобретением Sony компании Firesprite, студии с большим опытом в VR-играх, PlayStation может вскоре получить несколько хорошо продуманных VR-игр. Это хорошее предзнаменование для PS VR2.
PS VR в настоящее время доступен для PS4 и PS5, а выпуск PS VR2 ожидается в 2022 году.

Автор: Сергей
