
Архив за 15 июля 2018
Официальный постер подтверждает емкость аккумулятора и размер экрана Xiaomi Mi Max 3
2018-07-15 в 23:28, admin, рубрики: НовостиКомпания Xiaomi опубликовала рекламное изображение, на котором указана емкость аккумулятора и размер экрана смартфона Xiaomi Mi Max 3.

Как известно, 31 мая был представлен смартфон Xiaomi Mi 8 Explorer Edition с «прозрачной» задней крышкой, оснащенный дактилоскопическим датчиком, встроенным в экран, и системой трехмерного сканирования лица, построенной на использовании «структурированного» света.
На прошлой неделе появилась информация, что аппарат, которым Xiaomi отметила свое восьмилетие, оценен в 550 долларов, а его продажи начнутся в конце июля. Источник уточнил эти сведения, назвав точную дату начала продаж.
Компания Rolls-Royce объявила о намерении выпустить летающее такси. Предназначенный для сервиса аппарат будет отличаться от тех, что разрабатывают Airbus и Uber, поскольку он будет представлять собой самолет с вертикальным влетом и посадкой. Эта концепция получила название EVTOL (Electric Vertical Take Off and Landing).

Как сообщается, при помощи методов микроскопии ученые смогли обнаружить в организме Эци остатки ядовитого папоротника, свежего или высушенного козьего мяса, оленя и злаков.
«У него, видимо, была диета с огромным содержанием жира», — пишут исследователи. Животный жир составил 46% найденного содержимого желудка Эци. По мнению ученых, такой выбор питания был связан с необходимостью постоянно восполнять энергию для охоты.

Согласно его данным, останки обнаружил фермер из города Л`Иль-ан-Донон еще в 2014 году. Мужчина не хотел, чтобы ему мешали трудиться, поэтому несколько скрывал находку. Однако в 2017 году он сообщил об обнаруженном черепе ученым из парижского Музея естественной истории.
Указатели C как лингвистический парадокс
2018-07-15 в 20:19, admin, рубрики: C, c++, указатели, указательНедавно один знакомый, которого я знаю через совсем не программистские круги, попросил помочь ему с лабораторной по C++. В коде было примерно следующее:
void do_something(MyObj *input[], int count)
{
MyObj **copy = new MyObj*[count];
for (int i = 0; i < count; ++i)
*copy[i] = *input[i];
...
}
Этот случай напомнил о том, что тема указателей является едва ли не основным источником ошибок у изучающих язык студентов, а заодно — своеобразным перевалом, преодоление которого сопряжено с «щелчком» в голове, вызывать который, увы, умеют не все преподаватели. Надеюсь, предложенная ниже лингвистическая аналогия поможет нынешним студентам постигнуть эту концепцию, а их преподавателям или друзьям — донести до них это знание.
Лет десять назад на одном форуме была загадана детская, вроде, загадка:
Для чего еду обеда
Людоедоедоеда
Пригласила на обед
Людоедоедовед?
Я хочу показать, что эта загадка имеет самое прямое отношение к C/C++, поскольку тема указателей легко может быть разобрана по аналогии.Читать полностью »
Электромобиль Pininfarina сможет разгоняться до 400 км/ч
2018-07-15 в 20:18, admin, рубрики: НовостиКомпания Pininfarina рассказала немного подробнее о своем электромобиле PF0, первое упоминание о котором прозвучало в марте. Как утверждается, болид, который должен появиться на рынке в 2020 году, сможет разгоняться до 100 км/ч менее чем за 2 с, а его максимальная скорость составит 400 км/ч.
МИС. Шаблоны исследований
2018-07-15 в 19:59, admin, рубрики: Блог компании Inobitec, визуализация данных, Здоровье гика, инобитек, медицина, медицинская информационная система, МИС, Программирование, Софт
В прошлый раз было описано, какие базовые сущности используются для хранения медицинских данных в МИС Нумеди. Сегодня же предлагаем окунуться в мир шаблонов для протоколов исследований.
Протокол исследования – документ, выдаваемый пациенту на руки. Что же представляет собой шаблон? Красивые картинки и цветные буквы – лишь фасад, а фундамент – структура, хранящаяся в базе данных. По большому счету можно выбрать любой формат описания абстрактных данных, который бы позволил сохранить иерархическую структуру. Мы же остановились на XML.
Шаблоны – это не статические данные, которые заносятся в поле таблицы один раз и забываются. Со временем структура шаблона может измениться. Например, не хватает каких-то измерений, или они, наоборот, лишние, и врач их не заполняет, ставя прочерки или оставляя пустые места. Ещё один случай изменения структуры – расширение функциональных возможностей системы шаблонов или переосмысление старых. Независимо от причины изменений для старой версии шаблона указывается время, до которого он действует, а для нового, в свою очередь, – с какого времени он вступает в силу. Таким образом, все старые протоколы не теряют и не приобретают какие-либо части, и остаются в том виде, в котором были отданы пациенту.
В целом, в системе используется более 15 тегов, и у каждого имеется свой набор атрибутов. С помощью основных тегов, описанных ниже, можно создать шаблон для любого протокола исследования.
Читать полностью »
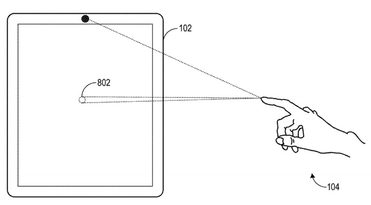
В Microsoft изобрели систему бесконтактного управления для планшетов
2018-07-15 в 18:55, admin, рубрики: Гаджеты и устройства для гиков 
Управление США по патентам и торговым маркам (USPTO) выдало корпорации Microsoft патент на так называемую систему бесконтактного ввода (Touchless input).
Речь идёт об использовании технологии, которая позволит владельцам планшетов взаимодействовать со своими устройствами, не прикасаясь к сенсорному экрану. Выполнять определённые действия и отдавать команды можно будет при помощи жестов в воздухе.
