Мы завершаем августовский мини-цикл (1, 2) об американских самолётах с крылом малого удлинения 1930-40-х гг. Талантливый инженер-аэродинамик Чарльз Циммерман придумал оригинальную концепцию вертикально взлетающего "блинчика" и долго её "пробивал", сумев заинтересовать ей руководство фирмы "Чанс-Воут" и Военно-морского флота. Казалось, уже скоро на американских транспортах, линкорах, а то и крейсерах появятся маленькие полётные палубы, с коих на перехват "Кондорам" и "Бетти" взовьются истребители, удивительные как своим внешним видом, так и характеристиками. Но рождалась невиданная машина куда медленнее, чем требовал прогресс авиации того времени.
Созданию одного из самых необычных истребителей Второй Мировой войны предшествовали долгие теоретические исследования и полёты легкомоторного прототипа V-173.

Прежде чем переходить к долгожданному боевому самолёту, давайте подумаем, как же всё-таки Циммерман собирался взлетать совсем без разбега. Первое, что приходит на ум — «теилситтер» — аппарат, который взлетает и садится при вертикальном положении фюзеляжа. Никаких тебе сложных поворотных узлов, и даже переходный режим довольно прост (хотя спецы по динамике полёта могут громко и матерно не согласиться), но испытания таких машин, как Х-13, XFV-1 и XFY-1 показали, что в этой простоте хватает подводных камней.
Рассмотрим случай неподвижного висения «блинчика» в вертикальном положении, т. е. при угле тангажа 𝛝=90°. Поскольку скорости нет, то нет и скоростной системы координат, и пользоваться такими привычными понятиями, как угол атаки и подъёмная сила мы не можем. Остаются связанная и земная системы — ось Ох первой совпадает с осью Оуg второй, вдоль них вверх направлена сила тяги двигателей T, а вниз — вес mg. Очевидно, висеть аппарат будет, если эти две силы равны, а других либо нет, либо они друг друга компенсируют. Но суть изобретения Циммермана именно в том, что поток от винтов своей вихревой составляющей Uв(r) создаёт на крыле индуктивную нормальную силу Yi, которая потащит самолёт в сторону фонаря кабины. То есть, висеть строго вертикально «блин» не может.

Силу Yi можно «отыграть» отклонением руля высоты — оно даст силу Yр, и кабрирующий момент. По всей видимости, постоянный кабрирующий момент будет давать и индуктивная нормальная сила. Во всяком случае, это благоприятно для балансировки в горизонтальном полёте. При таком сочетании сил и моментов очень сомнительно наличие точки балансировки летательного аппарата в вертикальном положении: при отклонённом на кабрирование руле он будет заваливаться на спину, а при попытке отработать это вращение – скользить в сторону фонаря. Есть архивные кадры с вертикальным полётом V-162 – неподвижного висения там нет и в помине, моделька постоянно мотыляется и мотает управляемой задней кромкой крыла.

Скомпенсировать Yi можно и вектором тяги винтов. Чтобы у него появилась горизонтальная составляющая, необходимо вывести самолёт на некий угол тангажа 0<𝛝<90°. Это также даст вертикальную составляющую силы Yi, которая, складываясь с тягой двигателей, «потащит» самолёт вверх. Можно даже предположить, что он будет висеть при тяговооружённости меньше единицы — просто-таки мечта, ведь в горизонтальном полёте не нужна единичная тяговооружённость, и дополнительная масса двигателей становится паразитной. С этой точки зрения «наклонный блинчик» куда более многообещающая штука, нежели классический «теилситтер». Но переход от аналитики «на пальцах» к конкретике запросто может похоронить радужные надежды. Какая нужна тяговооружённость? На каком угле тангажа можно висеть? Ответы на эти вопросы определяются сложным взаимодействием закрученных струй винтов с крылом. В докомпьютерную эпоху исследовать его можно было только экспериментом в аэродинамической трубе.

Что там наэкспериментировал Циммерман, мне найти не удалось, а из направления его практических работ можно сделать противоречивые выводы. Модель V-162 летала вертикально. Эту линию продолжила заявка на патент, поданная в 1945 г., когда уже полным ходом разрабатывался истребитель. Внешний облик не поменялся – крыло малого удлинения с «вертолётными» винтами по краям. Но объектом патентования был не он, а громоздкое шасси, которое обеспечивало два стояночных угла: «самолётный», как у V-173, должен был использоваться для короткого взлёта с повышенной массой, а «вертолётный», при котором корпус стоял под почти прямым углом к горизонту, обеспечивал вертикальный взлёт. В патенте особо подчёркивалась тяговооружённость более единицы. И в нём же приводился предельный вариант «стабилизирующего закрылка», испытанный на V-162: наверх отклонялась вся задняя часть корпуса вместе с килями.
С другой стороны, в патенте 1935 года, где явно говорилось о возможности вертикального взлёта, шасси было обычным, на V-173 и истребителе – тоже. Либо Циммерман отрабатывал сразу две методики вертикального взлёта, либо в какой-то момент понял, что висение при наклонном положении фюзеляжа невозможно или неэффективно и, опять-таки, поделил работу на два направления: вертикальный взлёт в виде «теилситтера» и короткий взлёт по «классике».
Долгожданный истребитель

Циммерман вообще охотно патентовал свои идеи, что позволяет проследить их эволюцию. Он разработал сразу несколько вариантов «стабилизирующего закрылка», в том числе со сложной системой триммеров, отклонявшихся в разные стороны в зависимости от того, находятся они в потоке от винтов или нет. Подпружинивая триммеры в различных комбинациях изобретатель рассчитывал, что «стабилизирующий закрылок» будет автоматически отклоняться на определённые углы на посадке, при высокоскоростном полёте и на других сложных режимах. Он превращался в переставной стабилизатор, который должен был без вмешательства лётчика обеспечивать аппарату оптимальные моментные характеристики. Пожалуй, эту систему можно назвать далёким предком «электронной устойчивости» современных истребителей.

Рассматривались и различные компоновки двигательной установки. В самой экзотической моторы располагались под углом около 45° к оси симметрии машины. Это позволяло укоротить синхронизирующий вал и несколько упростить редукторы, ведь линия передачи мощности «ломалась» не под прямым углом, а под тупым, и количество приводных валов уменьшалось до двух на каждый винт.

В проект боевой машины вошла наименее радикальная часть наработок. ВМФ одобрил её создание в конце 1941 г., когда V-173 ещё только испытывался в аэродинамической трубе. Размеры палубного истребителя XF5U-1 (VS-315) соответствовали V-173 за исключением профиля NACA 0016 с увеличенной до 16% относительной толщиной. Изменилась форма цельноповоротных элевонов и «стабилизирующего закрылка». Нормальная взлётная масса выросла до 7621 кг, максимальная – 8581 кг. Нагрузка на крыло достигла 191 кг/м2. Самолёт тяжелел из-за новых двигателей, оборудования, вооружения, бронирования, 988 л топлива. Свою лепту вносила и технологичная конструкция с силовым набором из алюминиевых сплавов, обшитым «металлитом» – «сэндвичем» бальсы и алюминиевых листов. На основные стойки шасси смонтированы зацепы для катапульты, а на верхнюю поверхность задней части крыла – посадочный гак.
Мощность двигателей пришлось наращивать непропорционально весу – энерговооружённость V-173 и близко не соответствовала истребителю. F5U проектировался под двухрядные звездообразные двигатели «Пратт-Уиттни» R-2000-2D «Твин Уосп» по 1600 л.с., с которыми он имел бы нагрузку на мощность 2,27 кг/л.с. – на 16% лучше, чем у самых «энерговооружённых» серийных истребителей флота F4U и F8F. Расчётная максимальная скорость составила 740 км/ч, а минимальная – всего 32 км/ч! Но разработка моторов затянулась, и на первом экземпляре пришлось довольствоваться R-2000-7 в 1350 л.с. Впрочем, даже с ними энерговооружённость самолёта была непревзойдённой. Несмотря на возросшие по сравнению с «Континенталами» габариты, двигатели «утонули» в крыле, лишь осесимметричные воздухозаборники заметно выступали вперёд. Винты также планировали модернизировать, сделав крепление лопастей шарнирным, как на вертолётах – маховым движением предполагали снизить вибрации.

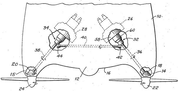
Как и на V-173, мощность с каждого двигателя передавалась посредством трёх валов: вал мотора вращал поперечный вал, а тот, в свою очередь, вал винта. Оба двигателя были идентичными, включая одинаковое направление вращения, что упрощало ремонт. Винты же крутились в противоположные стороны за счёт разной установки угловых шестерней между валом мотора и поперечным валом. Двигатели соединялись синхронизирующим валом, который выравнивал мощности и частоты на обоих винтах. Они даже управлялись одним рычагом. Чтобы винтомоторная группа эффективно работала во всём диапазоне полётных режимов, редукторы понадобилось сделать двухскоростными. Их передаточные числа обеспечивали частоту вращения винтов на взлёте 1088 оборотов в минуту, а на скоростном крейсерском режиме – 416 оборотов в минуту. Переключение скоростей осуществлялось гидромуфтами, они же автоматически отсоединяли отказавший двигатель от трансмиссии, дабы он не мешал оставшемуся отдавать мощность на оба винта.

Основные ноги шасси стали немного короче, чем у V-173, так что на земле истребитель стоял под углом «всего» 18°. На законченном к июню 1943 г. макете XF5U были гнёзда под шесть пулемётов калибра 12,7 мм; рассматривалась возможность их замены четырьмя пушками калибра 20 мм. На внешней подвеске самолёт мог нести две бомбы по 454 кг или сбрасываемые топливные баки.
Лебединая песня

15 июля 1944 г. «Чанс-Воут» получил контракт на постройку истребителя, которому предстояло совершить первый полёт с огромной полосы а/б «Мюрок» (ныне «Эдвардс») уже в декабре. Но программа сразу споткнулась о громоздкую трансмиссию, которая нуждалась в долгой и кропотливой доводке. Не были готовы и штатные винты, и чтобы получить хоть какие-то данные по поведению редукторов и длинных валов, пусть не в полёте и даже не на рулёжках, а хотя бы просто на месте, опытную машину оснастили пропеллерами одностороннего вращения от «Корсара» F4U.

Создать винты диаметром 4,9 м с полностью шарнирным креплением лопастей не удалось, и это грозило похоронить проект.

Циммерман обратился к опыту фирмы «Белл», чей очень удачный вертолёт Bell 47 имел двухлопастной несущий винт с креплением лопастей к втулке через общий горизонтальный шарнир – они совершали маховое движение совместно, наклоняясь на один и тот же угол: наступающая лопасть вверх, а отступающая – вниз. Четырёхлопастные винты XF5U-1 получили по два горизонтальных шарнира, которые попарно связали их лопасти. Одновременно со взмахами шаг наступающей лопасти автоматически уменьшался, а отступающей увеличивался, снижая амплитуду махового движения. Управление общим шагом винтов, как и мощностью двигателей, осуществлялось синхронно, одной ручкой. Пропеллеры с широченными лопастями делались силами самого «Воута» из фанеры, пропитанной под высоким давлением термореактивной смолой (pregwood). Винты были готовы лишь к концу 1946 г., когда судьба проекта была уже, по сути, решена.

3 февраля 1947 г. самолёт начал рулёжки по заводскому аэродрому, в ходе которых выявились очередные проблемы с трансмиссией. Бун Гайтон отваживался на подлёты, но лётные испытания всё же предполагались на базе «Мюрок» – даже самым отъявленным оптимистам было очевидно, что двигательная установка преподнесёт ещё не один сюрприз, и необъятные просторы высохшего озера для вынужденной посадки подходят гораздо лучше густонаселённых окрестностей Стратфорда.

Крыло XF5U-1 неразъёмное, в габарит железной дороги он не вписывается, поэтому везти его в Калифорнию можно только морским путём аж через Панамский канал. А это очередная задержка для скоростного самолёта, который и так уже всюду опоздал. 17 марта военные аннулировали контракт и остановили все работы.

«Чаунс-Воут» попытался спасти проект, предложив проект VS-341 с турбовинтовыми двигателями – предположительно, General Electric T31 мощностью 2200 л.с. Они довели бы максимальную скорость до 885 км/ч, позволили бы самолёту зависать, взлетать и садиться вертикально. Но характеристики уже не удовлетворяли заказчика. На пороге стояла реактивная авиация, с которой дорогой и технологически сложный «блинчик» не мог конкурировать.
Ряд источников утверждает, якобы Циммерман задумал перевести своё детище на реактивную тягу. Встречаются даже реконструкции «реактивного блинчика», однако их достоверность вызывает большие сомнения. У лишённого винтов на концах дисковидного крыла сохраняются отличные срывные свойства, но уж очень дорога цена – большое индуктивное сопротивление не позволило бы ему конкурировать по скорости и дальности с «нормальными» самолётами.
В отечественной литературе часто встречаются утверждения, что XF5U-1 летал и даже разгонялся до 811 км/ч. К сожалению, это не так. Новенький прототип истребителя сдали на слом, так и не познакомив его с небом. Самолёт разрушили шар-бабой и «добили» автогеном. Прочная конструкция успешно сопротивлялась ударам бабы, сломавшись лишь после того, как её прицельно уронили между силовыми элементами. А когда сверкающая машина превратилась в груду лома, заказчик вспомнил, что в механизмах редукторов содержалось серебра на общую сумму $6000, и захотел его обратно. Охранники и инженеры «Чанс-Воута» начали-было колупаться в стылой заснеженной куче, но руководство фирмы решило, что проще возместить потерю деньгами, а остатки самолёта продать, как «грязный» лом цветметаллов. Приёмщики обнаружили серебро и возомнили себя победителями лотереи. Они пошли к ювелиру, а тот отблагодарил их звонком в полицию и ФБР. История одного из самых необычных истребителей, не успев толком начаться, закончилась курьёзным скандалом.

Мечта или разочарование?
Эксперт фирмы «Белл Хеликоптерс Текстрон» Томми Томасон, разбирая в 1992 г. проект XF5U для монографии, предположил, что поднимись он в небо, мы не вспоминали бы о нём с таким умилением:
Концепция будет жить как несбывшаяся мечта, а не как разочарование, которым она, вероятно, стала бы
Фатальным недостатком машины инженер считал переусложнённую трансмиссию, в которой каждый вал передачи мощности дважды «ломался» под прямым углом. Его слова как будто подтверждала неудача Джека Нортропа с межконтинентальным бомбовозом ХВ-35 – на этом гигантском «летающем крыле» трансмиссия была попроще, но всё равно вибрации длинных валов вынудили упростить винтомоторную группу, ухудшив характеристики самолёта, но так и не были устранены до конца.

И у Циммермана, и у Нортропа, и на других проектах «чистых» винтовых «летающих крыльев» двигатели располагались в районе максимальной толщины профиля, на 25…40% хорды – только так их можно «утопить» в крыле. Винты же нужно выносить за контур несущей поверхности (у XF5U – ещё и на её концы), что делает длинные валы просто-таки неизбежными. На больших самолётах их длина достигает нескольких метров, а передаваемая мощность – тысяч лошадиных сил. Сделать эдакую машинерию надёжной, долговечной, более-менее лёгкой и эффективной – задача действительно непростая. Впрочем, создатели одновинтовых и соосных вертолётов с чем-то подобным справлялись, так что я бы не стал однозначно предсказывать инженерам «Воута» провал.

Тем более, даже при полной катастрофе с трансмиссией, проект можно было спасти. Например, электрической передачей, как на мощных тепловозах. Система, когда тепловой двигатель работает на генератор, питающий тяговые электродвигатели, которые непосредственно вращают винты, позволяет размещать маршевый двигатель и пропеллеры где удобно, а электрические машины, в силу своей компактности, проблем с компоновкой практически не добавляют. На «классических» самолётах такая трансмиссия проигрывает «механике» по весу, но при длинных и сложных путях передачи большой мощности становится конкурентоспособной. Это подтвердили, например, исследования, которые велись на протяжении 50-х гг. в Московском авиационном институте и Всесоюзном электротехническом институте под руководством Б. Н. Юрьева, И. П. Братухина и А. Г. Иосифьяна.
В конце концов, можно было вынести двигатели на концы крыла – форма «летающего крыла» потеряла бы «чистоту», зато проблема с трансмиссией таким образом отпадала начисто. Правда, ценой превращения истребителя в пикировщик и разведчик – огромный поперечный разнос масс сделал бы манёвренные качества в боковом канале совершенно безнадёжными.

Так или иначе, проблема с трансмиссией, на мой взгляд, не была неразрешимой. В отличие от другой, похоронившей немало скоростных «летающих крыльев» конца 40-х. Толстый профиль на приличном угле атаки уже при относительно небольших скоростях попадёт в режим волнового кризиса с образованием скачков уплотнения сначала на верхней, а затем и на нижней поверхности. Фокус при этом сильно уползает назад, затягивая самолёт в пике, которое на заре реактивной авиации нередко становилось смертельным. Возможно, необычная аэродинамическая схема XF5U и смягчила бы грозное явление, но чего ей точно было не избежать, так это резкого уменьшения аэродинамического качества, то есть, скорости и дальности. Это, кстати, окончательно обессмысливало идею перевести «блинчик» на реактивную тягу. До появления суперкритических профилей идея околзвукового «летающего крыла» действительно была утопичной, но длинные валы и сложные редукторы тут ни при чём.
А дело его живёт

Имя Чарльза Циммермана нередко мелькает в публикациях, посвящённых необычным летательным аппаратам. После «шумовок» он занимался «летающими ботинками», «летающими платформами» и конвертопланами – страсть конструктора к вертикальному взлёту очевидна. В 50-х Циммерман входил в группу экспертов, которая обосновывала целесообразность космических полётов, а затем стал одним из руководителей программы «Меркурий». В 1962…1967 гг., когда Штаты постепенно настигали Советский Союз в «космической гонке», он был директором штаб-квартиры NASA по аэронавтике.
О «шумовках» долгие годы вспоминали лишь моделисты. Однако в 2008 г. рекламный проспект фирмы «Dragonfly Pictures», посвящённый тактическому беспилотнику DP-11 Bayonet, показал, что и «серьёзные люди» о них не забыли. Производитель беспилотных вертолётов предложил довольно крупное по меркам «дронов» «летающее крыло» трапециевидной формы с двумя большими винтами и «плавающими» элевонами. Путевая устойчивость обеспечивается длинным центральным килём. Взлетает и садится DP-11 в вертикальном положении на три пяты, расположенные на концах киля и элевонов. Взлётный вес составляет 56,7 кг, «дрон» приспособлен к переносу расчётом из двух человек. Модульные полезные нагрузки включают станцию оптического наблюдения, миниатюрную РЛС с синтезированной апертурой, лазерный целеуказатель и другую аппаратуру. При крейсерской скорости 126 км/ч DP-11 способен улететь на 887 км.

Фирма предлагала беспилотник флоту и корпусу морской пехоты, но по всей видимости, до «железа» работы так и не дошли. Схема Циммермана вновь не получила своего шанса, и на мой взгляд, всё ещё не ясно, была она бесперспективным «первым блином» талантливого инженера или ей ещё предстоит найти свою нишу.
Список литературы:
-
Airplane of low aspect ratio. Патент США №2431293
-
Control device for airplanes. Патент США №2438309
-
Aircraft propulsion means. Патент США №2452281
-
Single or multiengined drives for plural airscrews. Патент США №2462824
-
Automatic declutching means for multiengine drives. Патент США №2462825
-
Aircraft, having extensible landing gear, positionable for horizontal and vertical take-off. Патент США №2481379
-
S. Ginter. Chance Vought V-173 and XFU-1 Flying Pancakes // Naval Fighters №21. Simi Valley, CA: Steve Ginter Publishing. 1992
-
Д. А. Соболев. Столетняя история «летающего крыла». М., РУСАВИА, 1998
-
Wikimedia Commons и flickr (иллюстрации)
Автор: Иван Конюхов
Автор: Cat.Cat
