
Ультразвуком называются различные волновые колебания, частота которых находится выше слышимости человеческого слуха (15/16 кГц, а по некоторым источникам — 20 кГц).
Природа всех звуковых колебаний одинакова, и, по большому счёту, звук и ультразвук отличаются только тем (с точки зрения человека), может ли он слышать такой диапазон звуков или нет.
В этой статье мы рассмотрим ряд довольно любопытных излучателей ультразвука, некоторые из которых могут быть незнакомы широкой публике.
Под звуковыми колебаниями в физике понимают упругие колебания среды, которые могут распространяться как в газах, так и в жидких и твёрдых средах. При этом такие распространяющиеся колебания представляют собой чередующиеся зоны сжатия и разрежения среды, где амплитуда зон сжатия равна амплитуде зон разрежения, а частота чередования таких зон соответствует частоте колебаний звуковой волны.
В окружающей среде встречаются звуки разных частотных диапазонов, одним из которых является и ультразвук, но стоит отметить, что в природе интенсивность таких колебаний весьма мала. Известно, что интенсивность таких колебаний может доходить до громкости человеческой речи или звуков, которые может расслышать человек. Скажем, для ориентира тут можно отметить, что интенсивность громкого разговора человека составляет около 1-9 .
Но, естественно, это касается только природных звуков. Если же излучателями ультразвука являются искусственные источники, то тут мощность может быть весьма большой и достигать даже многих киловатт, и на каждый поверхности будут приходиться сотни ватт.
При этом эксперименты показывают, что использование мощного излучателя имеет свои особенности одним из которых является не только приведение им в колебательное состояние прилегающих к нему сред, но и смещение среды, формирующееся в виде непрерывного потока, который называется звуковым ветром.
При этом наука не может ещё полностью объяснить природу возникновения такого ветра несмотря на то, что сам факт его возникновения вызывает существенный интерес, так как использование этого эффекта может быть весьма полезным в промышленности для применения, в частности, в качестве средства перемешивания сред.
Ещё одним интересным эффектом, но уже касающимся именно ультразвука, является тот, где при распространении ультразвука в жидкой среде он является причиной возникновения кавитации. Причиной возникновения такого явления являются свойства жидких сред, так как они характеризуются, как правило, хорошей устойчивостью к сдавливающим воздействиям, и, в то же время, очень слабой устойчивостью к растягиванию, разрежению.
Поэтому когда звуковая волна проходит через жидкость, при попадании в зону разряжения в ней начинает возникать большое количество разрывов жидкости в виде пузырьков, которые возникают в тех местах в жидкости, где она наиболее ослаблена — присутствуют пузырьки газа, посторонние примеси и т. д.
Время существования таких кавитационных пузырьков очень мало и после первоначального возникновения эти пузырьки схлопываются с очень большой скоростью и силой, при этом в полости конкретного пузырька возникают очень большие давления, которые могут составлять сотни атмосфер.
Схлопывание подобных пузырьков вызывает существенное воздействие на любое твёрдое тело, находящееся вблизи подобных явлений. Кроме всего прочего, такие схлопывания могут сопровождаться электрическими разрядами, а также мгновенным существенным повышением температуры. Для возникновения явлений кавитации необходима определённая интенсивность ультразвука, которая определяется частотой колебаний и типом жидкости.
Искусственные источники ультразвука
Одним из самых простых излучателей является способ возбуждения ультразвуковых колебаний в воздушной среде, предложенный ещё 1899 году Кёнигом — с помощью небольших камертонов, у которых длина вилки составляла всего лишь несколько миллиметров. Частота колебаний такого камертона могла достигать 90 кГц.
Продолжая разговор о простых излучателях, можно сказать, что ультразвук можно извлечь и с помощью ударов по стальным пластинкам толщиной 10-12 мм, которые закреплены в центре. При этом частота колебаний пластинок зависит от их диаметра и в практически проводившихся учёными опытах достигала 35 кГц (для пластинки диаметром в 35 мм).
Кроме этого способа, можно получить ещё ультразвук порядка 30 кГц, если возбуждать колебания в стальных струнах: например, если стальная струна имеет длину 50 см, то частота её колебаний составит порядка 5 кГц. Укорачивание же струны до 10 см приведёт к увеличению её частоты до 25 кГц, которые уже выходят за пределы слышимого человеком диапазона звуков. Подобный способ со струнами может использоваться для определения верхнего предела слышимости звуков у людей. Тем не менее, подобные колебания весьма быстро затухают и обладают малой энергетикой, поэтому практическое применение таких простых излучателей весьма ограничено.
▍ Разные конструкции ультразвуковых излучателей
▍ Свисток Гальтона
Впервые он был описан ещё в 1883 году, и интересен тем, что даёт возможность генерировать колебания с постоянной частотой и амплитудой в пределах диапазона до 40 кГц.

Картинка: Л. Бергман – «Ультразвук»
Принцип действия этого устройства основан на прохождении воздушного потока, где он подаётся через мундштук А, подходит к кольцевой щели С и попадает на цилиндрическое острое лезвие D, которое приводит к возникновению небольших завихрений, следующих с определённым периодом и возбуждающих, в свою очередь, колебания объёма воздуха V.
Величина этого воздушного объёма регулируется с помощью барабана E (снабжённого микрометрическим винтом) и поршня S. Ещё один микрометрический винт В даёт возможность регулировки зазора между лезвием и выходом воздуха (C-D), что даёт возможность регулирования частоты возникающих завихрений, которая, грубо говоря, представляет собой соотношение скорости воздушного потока к ширине зазора.
Благодаря простоте конструкции и постоянству получаемой частоты, одна из вариаций такого свистка получила распространение в качестве ультразвукового свистка для собак (в наше время, наверное, будет весьма просто изготовить его самостоятельно, используя 3D-печать).
▍ Газоструйный излучатель
Достаточно мощный излучатель — выходную мощность порядка 50 Вт можно получить, используя следующий принцип: если продувать воздушный поток сквозь сопло D с давлением порядка 0,9 атмосфер, то выходящий из сопла поток начинает приобретать периодическую структуру, как показано на рисунке ниже пунктирными линиями:

Картинка: Л. Бергман – «Ультразвук»
Если теперь в этот воздушный поток поместить небольшой объём воздуха H,
находящийся внутри специального острия, то этот объём воздуха начнёт работать в качестве резонатора, излучающего в окружающую среду звуковые колебания (строчными буквами a и b на рисунке показаны зоны повышения и понижения давления).
Частота колебаний определяется размерами полости резонатора. Например, если мы обозначим длину полости как l, диаметр полости как d, то мы сможем найти длину волны, которую можно получить с её помощью:
λ = 4(l+0,3d).
Подобные газоструйные излучатели являются единственным весьма простым источником мощного ультразвука, получаемого в газовых средах. При этом, если использовать в качестве газовой среды не воздушную, а, например, водород, то скорость распространения звука в нём будет в четыре раза больше, чем на воздухе, что позволит достичь колебаний с частотами вплоть до 500 кГц.
Дополнительно сконцентрировать излучаемую звуковую мощность подобного излучателя можно, если поместить его в фокусе параболического зеркала, что, по результатам экспериментов даёт очень сильное концентрированное излучение в направлении оси зеркала.
▍ Жидкостный свисток
В некоторых случаях может возникнуть потребность в возбуждении ультразвуковых колебаний в жидкой среде. Естественно, возникает вопрос, а можно ли использовать описанные выше варианты излучателей и для жидкостей? И ответ будет следующим:
- Если говорить о газоструйном излучателе, то это невозможно, так как для его нормальной работы потребуются скорости истечения жидкости свыше 1500 м/сек.
- Что же касается свистка Гальтона, то его вполне можно применить в этой роли, однако он сможет работать только на низких частотах и с низким КПД.
Поэтому для создания колебаний в жидкостях используют другой принцип: ещё на примере воздушной среды было замечено, что если поток воздуха выдувается через щель, перед которой расположено лезвие, то периодически то с одной стороны лезвия, то с другой будут возникать вихри, вызывающие изменения давления со скоростью звука.
Эти периодические колебания давления будут распространяться и в обратном направлении, то есть, в частности, и в направлении самого сопла (то есть щели), из которой и происходит истечение воздуха. Достигнув её, эти колебания вызовут модуляцию истекающего воздуха. При этом, если определённым образом подобрать расстояние от лезвия до щели, то возникнут незатухающие периодические колебания:

Кстати говоря, об этом излучателе более подробно я говорил раньше, вот здесь.
Небольшой комментарий к картинке выше: с момента написания той, предыдущей статьи, у меня у самого несколько улучшилось понимание протекающих процессов, поэтому на картинке, за направления излучения звука следует принимать не только вверх-вниз. Но и во все стороны. Если кого заинтересует этот свисток, то весьма подробно вопрос создания таких свистков рассматривается в книге авторов: Д. А. Гершгал, В. М. Фридман – «Ультразвуковая аппаратура». Там есть множество примеров и расчётов.
Как оказалось, подобный свисток весьма эффективно работает и в жидкой среде. Если правильно подобрать расстояние от щели до пластинки, скорость потока, то пластинка входит в резонанс и система излучает весьма сильные колебания в жидкость.
Частоту колебаний пластинки (для прямоугольных пластинок, не заточенных с концов) можно вычислить по формуле, которая есть в статье по ссылке выше.
Если всю систему поместить в устройство для подключения к водопроводному крану (по ссылке выше есть подробное описание и 3D-картинка), погрузить пластинку и сопло в жидкость, то на определённом этапе во время настройки вокруг пластинки можно будет увидеть облачко тумана прямо в жидкости. Это будет явным признаком того, что система работает и возникает кавитация.
По мнению учёных, подобное устройство может являться излучателем колебаний в диапазоне 4-32 кГц, а потребляемая мощность будет зависеть от объёма прокачиваемой жидкости (V) и её давления (p), что можно вычислить по формуле:
Известно применение такого свистка в качестве весьма эффективного средства для приготовления эмульсий.
▍ Ультразвуковая сирена — или как напугать всех кротов и собак в округе :-)
В качестве мощных излучателей ультразвука могут использоваться даже сирены. Например, в 1934 году была опубликована информация о создании мощных сирен, способных работать в ультразвуковом диапазоне.
Подобная сирена в разрезе показана на рисунке ниже:

Картинка: Л. Бергман – «Ультразвук»
Она состоит из статора S, который также представляет собой верхнюю крышку, имеет толщину в 1,25 см и содержит 100 конических отверстий О диаметром в 4,78 мм (верхняя часть) и диаметром в 2,39 мм (нижняя часть), располагающихся по окружности в 15 см.
Под этим статором находится ротор R, насаженный на ось двигателя, изготовленный из дюралюминия и утончающийся от центра к краям, где по краю ротора также расположены 100 отверстий.
Сжатый воздух подаётся через патрубок L, далее поступает в кольцевую камеру К и, проходя через кольцевую щель А, проходит через отверстия в роторе и статоре.
Вращение ротора приводит к возникновению звуковых волн над статором, частота которых зависит от скорости вращения двигателя. Подобная сирена достигала частот до 34 кГц.
При подаче сжатого воздуха давлением 0,2 атмосферы, при работе в диапазоне частот 3-19 кГц, она может развивать звуковую мощность 84-176 Вт. Если же давление подаваемого воздуха повысить, например, до 2 атмосфер, то акустическая мощность вырастет до 2 кВт, а сила звука достигнет 180 дБ — другими словами, 100 .
Наверное, полезная была бы штука для велосипедистов с аккумуляторным питанием при проезде через «собакоопасные» районы :-) Конечно, это шутка, ведь вот как в литературе характеризуют эту мощность: «В узлах стоячих волн, созданных с помощью этой сирены, могут неподвижно висеть в воздухе стеклянные шарики диаметром в 2 см и количеством до семи штук, а если внести туда клочок ваты, то он загорается в течение шести секунд!».
▍ Излучатель Гольцмана
Как было уже сказано выше, на примере струн, можно генерировать ультразвук и с помощью возбуждения колебаний в разнообразных стержнях, металлических или стеклянных. При этом, если такой стержень будет укреплён посередине своей длины, то частота колебаний такого стержня может быть вычислена по следующей формуле:
Где:
E — модуль упругости, ,
p — плотность материала, из которого сделан стержень, .
Оригинальная конструкция генерации колебаний в стержнях была предложена учёным Гольцманом:

Картинка: Л. Бергман – «Ультразвук»
Конструкция служит для возбуждения одного из концов стержня, при этом свободный конец стержня колеблется и излучает ультразвук. В качестве такого стержня S выступает стеклянная трубка диаметром 6-8 мм, один конец которой заканчивается стеклянным шаром.
По другому концу трубки непрерывно трутся О-образные кожаные ремни, покрытые с наружной стороны шёлком, в процессе вращения прокатывающиеся по большим шкивам и четырём маленьким роликам.
Подобная конструкция приводит к возбуждению весьма интенсивных колебаний — например, зафиксирован опыт с трубкой, имеющей длину в 7,5 см, позволяющей получать ультразвук с частотой в районе 33 кГц, где выходная мощность примерно в 100-150 превосходила описанный выше свисток Гальтона.
▍ Электродинамические, электростатические излучатели
Для излучения ультразвука с помощью преобразования электрической энергии используются особой конструкции преобразователи, так как обычные звуковые излучатели, применяемые в быту, имеют слишком низкую резонансную частоту.
В редких случаях, где удаётся повысить эту частоту, например, в ленточных излучателях, подобный подход оборачивается снижением КПД преобразования. К примеру, в истории известны подобные ленточные излучатели, работавшие на частоте до 200 кГц, тем не менее акустическая мощность подобного излучателя оставляла желать лучшего и составляла порядка 0,02 Вт.
В целом можно сказать, что принцип действия таких излучателей базируется на возбуждении колебаний подвижной системы, которая приводится в действие с помощью электромагнита, питаемого переменным током. Однако здесь наблюдаются проблемы с мощностью: чем выше частота, тем ниже выходная мощность.
Они могут быть изготовлены как с удвоением частоты, так и без неё:
- в случае с удвоением частоты, переменное магнитное поле взаимодействует с постоянным магнитным полем элемента конструкции;
- в случае же когда не используется удвоение частоты, постоянное магнитное поле не применяется и сила притягивания электромагнита имеет максимальное значение во время каждой полуволны, то есть удваивается частота работы, по сравнению с частотой питающего тока.
С точки зрения конструктивного исполнения, подобные системы могут быть выполнены как в виде упругой мембраны, закреплённой по контуру, так и с использованием свободно подвешенного якоря.
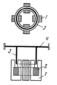
Например, известен излучатель особой конструкции, так называемый «излучатель Пинча» (аналогом его являлся советский излучатель ЭД-М), который представлен четырьмя магнитами подковообразной формы, внутрь которых вставлена катушка, а сверху в зазор магнитов вставляется цилиндр из проводящего материала, закрытый мембраной:

Картинка: Д. А. Гершгал, В. М. Фридман – «Ультразвуковая аппаратура»
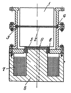
Или, например, электродинамический излучатель типа ЭД-С:

Картинка: Д. А. Гершгал, В. М. Фридман – «Ультразвуковая аппаратура»
В нём в качестве излучающего элемента используется резонирующий стержень из дюралюминия 1, установленный в пазу 4. Стержень содержит выступающий из него кольцеобразный выступ 2, составляющий с ним единое целое и использующийся для крепления с пазом. Стержень зажат между резиновыми прокладками 3-5 и в нижней своей части содержит управляющее кольцо 6, которое входит в радиальный зазор электромагнита. Для возбуждения используется катушка, намотанная на центральный полюс электромагнита 8, которая служит первичной обмоткой трансформатора, в качестве же вторичной обмотки выступает управляющее кольцо.
▍ Магнитострикционные излучатели
В подобных излучателях используется известный эффект, суть которого заключается в том, что если стержень или трубку из ферромагнитного материала разместить в магнитное поле, направленное вдоль него, то длина этого стержня изменится (увеличится/уменьшится) в зависимости от того, из какого материала он изготовлен, как был обработан, был ли предварительно намагничен, а также от температуры: чем выше температура — тем меньше эффект, и при достижении точки Кюри он полностью пропадает. Такие изменения длины достаточно малы и составляют приблизительно .
С точки зрения конструктива, используется три основных типа излучателей: в виде стержней, в виде плоских пакетов, кольцевые. Для увеличения мощности подобные устройства могут с одной стороны погружать в охлаждающую жидкость или наклеивать на один из концов пористую резину (это приводит к увеличению амплитуды колебаний и, соответственно, полезной излучаемой мощности).
В качестве материалов для изготовления такого типа излучателей используются сплавы алюминия, чистый никель, железо с алюминием, железо с никелем, железо с кобальтом и ряд других.
В таблице ниже показаны основные материалы для изготовления подобного типа излучателей:

Картинка: Д. А. Гершгал, В. М. Фридман – «Ультразвуковая технологическая аппаратура»
В качестве магнитострикционных материалов могут применяться и ферриты:

Картинка: Д. А. Гершгал, В. М. Фридман – «Ультразвуковая технологическая аппаратура»
Ниже показаны кривые эффекта магнитострикции для стержней из никель-цинковых ферритов и никеля:

Картинка: Д. А. Гершгал, В. М. Фридман – «Ультразвуковая технологическая аппаратура»
КПД излучателей из ферритов достигает 60-80%. Кроме того, их позитивной стороной является существенная устойчивость против коррозии, а также меньшая чем у металлов зависимость частоты от температуры: например, для некоторых ферритов точка Кюри находится выше 500°С, что даёт возможность использовать их при высоких температурах.
▍ Пьезоэлектрические излучатели
Ключевым в таких излучателях является компонент, обладающий пьезоэлектрическими свойствами, то есть способный изменять свои размеры под влиянием электрического поля, которое приложено к нанесённым на него электродам.
Чтобы приложить к пьезоэлектрической пластине переменное напряжение высокой частоты, её размещают между двумя металлическими обкладками (фольга, алюминий, серебро, хром). Кроме механической защиты поверхности кристалла, эти обкладки служат также для равномерного распределения заряда по поверхности. Обычно такого типа излучатели работают в диапазоне 3-6 МГц.
Завершая этот рассказ, хочется сказать, что тема ультразвука является очень интересной и весьма объёмной, а ультразвук находит своё применение во множестве сфер: медицине, производстве, звуковом зондировании и т. д.
Встречаются и весьма оригинальные применения: приходилось читать об использовании массива ультразвуковых излучателей с компьютерным управлением, которые за счёт резонанса могут создавать источник слышимого звука, «зависший в пространстве и идущий из ниоткуда».
Мало того, за счёт компьютерного управления этим массивом излучателей точка излучения звука может перемещаться по пространству (хорошая, наверное, штука для нерадивых соседей, чтобы сводить их с ума :-) )
Современные методы генерации ультразвука позволяют как генерировать, так и детектировать ультразвуковые колебания, частота которых может достигать Гц и более.
При таких высоких частотах длина волны ультразвукового излучения становится сравнимой с межмолекулярными расстояниями, но даже и при более низких частотах распространение ультразвуковых волн является чувствительным к строению вещества как на молекулярном, так и на атомном и даже электронном уровне.
Благодаря этому ультразвук находит широкое распространение в изучении структуры вещества, а также протекающих в нём процессов.
Так как применений ультразвука довольно большое количество, в следующий раз мы поговорим об этом более подробно.
Список использованных источников
- Б. А. Агранат и др. — «Ультразвуковая технология»
- Л. Бергман — «Ультразвук»
- Д. А. Гершгал, В. М. Фридман — «Ультразвуковая аппаратура»
- Д. А. Гершгал, В. М. Фридман — «Ультразвуковая технологическая аппаратура»
- В. А. Шутилов — «Основы физики ультразвука»
Автор:
DAN_SEA
