Во второй части предлагаемой Интерференционной Модели Единого Поля ( в дальнейшем Интерференционной Модели Ноуменов - ИМН ) мы применим её к миру элементарных частиц и покажем, как в её рамках естественно интерпретируются основные квантовые эффекты.
В отличие от традиционной физики, рассматривающей поля, частицы и взаимодействия как объективную данность, ИМН исходит из принципиальной Субъективности восприятия Мира.
Согласно нашей модели, любой наблюдаемый феномен — это проявление интерференционных процессов глубинных «Читать полностью »

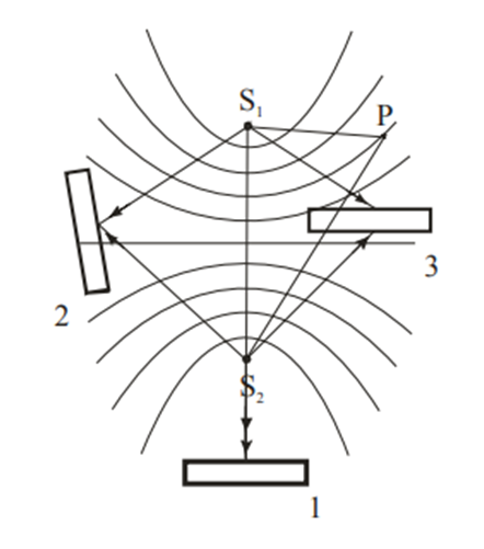
![Рис. 1. Поперечное сечение семейства пучностей в голографическом поле [1] Рис. 1. Поперечное сечение семейства пучностей в голографическом поле [1]](https://www.pvsm.ru/images/2025/01/23/sintez-i-vosstanovlenie-gologramm-proektorov-chast-1.png)

