
14 лет самому известному поисковику)) С Днем рождения 10в100.
Читать полностью »
Архив за 26 сентября 2012
14 лет Google
2012-09-26 в 23:23, admin, рубрики: Google, happy birthday, Поисковые машины и технологии, поисковые системы, метки: Google, happy birthday, поисковые системыКак я с камерами воевал, или ГМТ в неумелых руках
2012-09-26 в 22:35, admin, рубрики: Камеры, математика, обработка изображений, Песочница, метки: Камеры, обработка изображений Добрый вечер, дорогиее, добрый вечер, славный город Белгород.
Расскажу я вам сегодня сказку об одном дураке. А дурак он (я, то беж) потому, что не следовал одной простой истине:
Знаменитая программистская лень заключается в том, что вместо лишних телодвижений (своих ли, машинных ли) лучше подумать и найти решение поизящнее и попроще.
А речь в ней пойдет о том, как дурак пытался научить находить положение камеры в пространстве.
Dropbox обновил интерфейс
2012-09-26 в 22:02, admin, рубрики: DropBox, интерфейс, облака, Облачные вычисления, метки: DropBox, интерфейс, облакаРазработчики одного из самых популярных облачных хранилищ представили новый дизайн меню своего клиента.

У версий для Windows и Mac OS X одинаковый внешний вид
Теперь во всплывающем окне совмещен функционал прежнего контекстного меню и лента обновлений вашего аккаунта. При помощи этой ленты можно следить за изменениями в ваших папках или в папках ваших коллег, а также просматривать, расшаривать или восстанавливать файлы.
Читать полностью »
Бэкдор в phpMyAdmin
2012-09-26 в 22:00, admin, рубрики: backdoor, phpmyadmin, информационная безопасность, метки: backdoor, phpmyadmin25 сентября стало известно о компрометации одно из корейских зеркал SourceForge (cdnetworks-kr-1).
В архив phpMyAdmin-3.5.2.2-all-languages.zip, находящийся на этом зеркале был внедрен бэкдор.
Читать полностью »
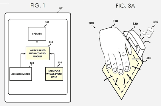
Microsoft патентует похлопывание телефона, чтобы тот замолчал
2012-09-26 в 21:51, admin, рубрики: microsoft, патенты, метки: microsoft, патенты 
Компания Microsoft оформила патентную заявку на оригинальное техническое изобретение — похлопывание телефона. Здесь интересна не только сама идея, но и тот факт, что слово «похлопывание» (wacking) используется в описании патента как настоящий технический термин.
Технически похлопывание формулируется как «получение информации, указывающей на акселерацию (ускорение) мобильного коммуникационного устройства; определение связи между информацией, указывающей на ускорение мобильного коммуникационного устройства, и соответствующим действием для похлопывания (whack event data); и основанном по меньшей мере на этой связи управлении уровнем звукового сигнала на мобильном коммуникационном устройстве».
Читать полностью »
Google Docs прекращает экспорт в «устаревшие» форматы .doc, .xls, .ppt
2012-09-26 в 21:36, admin, рубрики: doc, Google, Google Docs, microsoft office, ppt, xls, метки: doc, Google Docs, microsoft office, ppt, xls 
С 1 октября 2012 года пользователи Google Docs потеряют возможность экспорта документов в старые форматы Microsoft Office 1997-2003 (.doc, .xls, .ppt).
Читать полностью »
Губернатор Калифорнии дал зеленый свет робомобилям Google
2012-09-26 в 20:16, admin, рубрики: Dura Lex, Google, автомобили, робототехника, роботы, метки: Google, автомобили, роботы 
Совсем недавно в Сети появилась новость о том, что почти все препятствия на пути робомобилей исчезли, и осталось всего одна формальность — подписание соответствующего законопроекта губернатором штата Калифорния. Если кому интересно, то законопроект носит порядковый номер №SB1298. Теперь все формальности позади: губернатор подписал этот законопроект.
Megaupload возвращается вместе с новым сервисом Megabox
2012-09-26 в 19:58, admin, рубрики: Megabox, Megaupload, Peer-to-Peer, Медиа, метки: Megabox, MegaUpload 
Еще в августе Ким Дотком, владелец Megaupload, сообщал о намерении создать новый сервис Megabox, который смог бы стать отличным дополнением к возрожденному Megaupload. Тогда многое было неясно, включая возможность возрождения файлообменника, но теперь некоторые моменты прояснились. Так, Megaupload вернется к жизни уже совсем скоро. Проект пишется практически с нуля, и уже 90% необходимого кода написано. Кроме того, найдены новые партнеры, инвесторы и работники. Заказаны сервера, которые должны будут обеспечивать работу возрожденного сервиса.
Условие «WHERE» по составным ключам в Entity Framework
2012-09-26 в 19:09, admin, рубрики: .net, entity framework, Программирование, метки: entity frameworkСовсем недавно при разработке проекта с версионностью, я столкнулся с проблемой выборки элементов по списку составных ключей.
Описание проблемы:
При разработке «в условиях» версионности primary key таблиц состоит из Id и Revision. Нужно получить выборку из таблицы БД по передаваемому списку составных ключей (Id, Revision). Такой SQL запрос выглядел бы так (для пяти элементов в списке):
/* Запрос 1 */
select *
from dbo.[Items] i
where (i.Id = 1 and i.Revision = 2)
OR (i.Id = 1 and i.Revision = 4)
OR (i.Id = 3 and i.Revision = 3)
OR (i.Id = 3 and i.Revision = 4)
OR (i.Id = 5 and i.Revision = 9)
Но Entity Framework не позволяет написать такой запрос для списка составных ключей. Максимум что можно сделать стандартными средствами это:
context.Items.Where(i=> idList.Contains(i.Id) && revisionList.Contains(i.Revision))
что превратится в такой запрос (концептуально):
/* Запрос 2 */
select *
from dbo.[Items] i
where i.Id in (1, 3, 5) and i.Revision in (2, 3, 4, 9)
Этот запрос будет выдавать неверные результаты, если таблице Items есть элементы с такими идентификаторами:
Id = 3, Revision = 2
Id = 3, Revision = 4
А в списке составных ключей есть такие строчки:
Id = 5, Revision = 4
Id = 3, Revision = 2
Так как же быть?
Читать полностью »
Особенности работы с переменными и литералами в Perl6
2012-09-26 в 18:19, admin, рубрики: perl, perl6, контексты, Песочница, типы данных, метки: perl6, контексты, типы данных Не так давно я решил начать изучать Perl6, даже не смотря на то, что фактически полностью работающего компилятора ещё нету. Подумал что можно смотреть Synopsis'ы, смотреть что из написанного в них уже работает, и изучать как именно это работает на различных примерах. Этим я и начал заниматься, попутно записывая себе в блокнот результаты различных манипуляций с переменными.
И вот в качестве своего первого поста я решил поделиться своими познаниями: тем, что обычно авторы материала оставляют на самостоятельную «проработку» — ответы на вопросы по типу «а что будет если ...» или «а что из себя это представляет в языке».
В этой статье Я опишу какие основные типы данных есть в этом языке и частично затрону вопрос о контекстах — одной из основных особенностей языка Perl.
Читать полностью »
