
Здравствуйте! Представляю вам фреймворк для работы с хеш-частью URL marinad.js! Благодаря ему создание сайтов на ajax-технологиях упростится в разы, ведь теперь можно будет обновлять URL и получать оттуда переменные без перезагрузки страницы! О том, как сие чудо работает подробно расписано под катом:
Читать полностью »
Рубрика «интерфейс» - 18
Маринад.js — фреймворк для работы с хеш-частью страницы
2012-08-02 в 15:30, admin, рубрики: ajax, hash, javascript, jquery, JS, библиотека, интерфейс, хеш, метки: ajax, hash, jquery, библиотека, интерфейс, хешНовый паттерн UI — боковая навигация
2012-07-30 в 11:19, admin, рубрики: android, iOS, дизайн, интерфейс, интерфейсы, мобильные приложения, паттерны, Разработка под android, разработка под iOS Занимаюсь редизайном приложения 10tracks для Android, и решил позаимствовать красивый интерфейсный ход старших братьев — Facebook и других. На эту тему нашлась хорошая статья, переводом которой спешу поделиться с вами. Между тем эта статья — больше платформа для дискуссии, чем нерушимые устоявишеся правила.
За последний год интерфейс Android улучшался с феноменальной скоростью (я подобрал небольшую галерею приложений, которые мне нравятся в Google+). Много изменений являлись лишь косметическими (тема Holo в ICS, шрифт Roboto, и т.д.). Мы не увидели больших качественных изменений в принципах проектирования интерфейсов. Но возможно, как раз сейчас происходит одно такое.
Почти одновременно несколько приложений внедрили у себя боковую навигацию как в приложении Facebook. Сначала мы увидели, как она используется в новом дизайне Spotify, а затем почти сразу решение переняли Evernote. Не прошло и года, в новом дизайне приложения Google+ представили аналогичный паттерн.
Читать полностью »
Fluid UI: рисование мобильных интерфейсов
2012-07-20 в 20:34, admin, рубрики: Fluid UI, mobile development, интерфейс, интерфейсы, мобильный интерфейс, метки: Fluid UI, интерфейс, мобильный интерфейсFluid UI: очень удобное HTML5-приложение для создания прототипов мобильных интерфейсов в браузере (Chrome или Safari). Буквально за пару минут можно сделать приличный набросок.

Поддерживает жесты, действия на прикосновения, драг-н-дроп, переходы между страницами, дублирование шаблона на несколько страниц, библиотеки iPhone и Android, загрузку пользовательских изображений и скриншотов. Ссылку на созданный дизайн можно быстро отправить коллеге или протестировать на мобильном устройстве. Можно экспортировать в PDF, HTML или графический формат.
Fluid UI: прототипирование мобильных интерфейсов
2012-07-20 в 20:34, admin, рубрики: Fluid UI, mobile development, интерфейс, интерфейсы, мобильный интерфейс, метки: Fluid UI, интерфейс, мобильный интерфейсFluid UI: очень удобное HTML5-приложение для создания прототипов мобильных интерфейсов в браузере (Chrome или Safari). Буквально за пару минут можно сделать приличный набросок.

Поддерживает жесты, действия на прикосновения, драг-н-дроп, переходы между страницами, дублирование шаблона на несколько страниц, библиотеки iPhone и Android, загрузку пользовательских изображений и скриншотов. Ссылку на созданный дизайн можно быстро отправить коллеге или протестировать на мобильном устройстве. Можно экспортировать в PDF, HTML или графический формат.
Маленькие хитрости: автоматическое восстановление вида указателя курсора
2012-07-11 в 7:01, admin, рубрики: Delphi, интерфейс, курсор мыши, маленькие хитрости, метки: Delphi, интерфейс, курсор мыши, маленькие хитростиДобрый день, коллеги!
Те из вас, кто пишет клиентские приложения, наверняка сталкивались с необходимостью менять вид курсора, чтобы показать пользователю, что в данный момент приложение выполняет какую-то обработку данных (длительную или не очень) или выполняет запрос к базе. Хочу поделиться маленькой хитростью, как упростить себе жизнь. Подробности под катом.
Читать полностью »
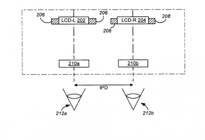
Apple регистрирует патент на технологию наголовного дисплея
2012-07-04 в 13:51, admin, рубрики: apple, Google, дополненная реальность, интерфейс, патентный троллинг, патенты, метки: apple, Google, дополненная реальность, интерфейс, патентный троллинг, патенты 
Не так давно компания «Гугл» продемонстрировала свой новый продукт — «Google Glass», который представляет себя очки дополненной реальности. Сергей Брин с удовольствием щеголяет в прототипе устройства и показывает его окружающим, а на гугловской конференции I/O была названа ожидаемая дата начала продаж и приблизительная стоимость. Во вторник, 3-го июля, компания «Эппл» смогла зарегистрировать патент на наголовный дисплей со схожей функциональностью.
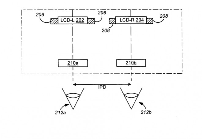
Apple зарегистрировала патент на технологию наголовного дисплея
2012-07-04 в 13:51, admin, рубрики: apple, Google, дополненная реальность, интерфейс, патентный троллинг, патенты, метки: apple, Google, дополненная реальность, интерфейс, патентный троллинг, патенты 
Не так давно компания «Гугл» продемонстрировала свой новый продукт — «Google Glass», который представляет себя очки дополненной реальности. Сергей Брин с удовольствием щеголяет в прототипе устройства и показывает его окружающим, а на гугловской конференции I/O была названа ожидаемая дата начала продаж и приблизительная стоимость. Во вторник, 3-го июля, компания «Эппл» смогла зарегистрировать патент на наголовный дисплей со схожей функциональностью.
Прототипирование на чистовую в Adobe Fireworks
2012-06-08 в 14:53, admin, рубрики: adobe, fireworks, Блог компании Digital Design, интерфейс, интерфейсы, прототипирование, метки: adobe, fireworks, интерфейс, прототипирование Я считаю, что Adobe Fireworks самая недооцененная программа для прототипирования интерфейсов. В некоторых подразделениях нашей компании именно Fireworks является основным инструментом для юзабилити специалистов. При этом мы почти не используем анимационные возможности программы. В этой статье я хочу рассказать, почему мы считаем эту программу лучшей именно для рисования интерфейса.
Читать полностью »
Патентная заявка Apple: 3D-интерфейс в Safari
2012-05-28 в 7:10, admin, рубрики: apple, safari, интерфейс, интерфейсы, метки: safari, интерфейсОбозреватели сайта PatentlyApple на прошлой неделе обнаружили несколько патентных заявок, поданных Apple, в которых, по-видимому, описываются планы по интеграции в Safari трёхмерного интерфейса.
Вполне традиционно, целью усовершенствований называется желание привнести в опыт использования компьютером традиционный метод упорядочивания документов в реальном мире. В патенте «The presentation and management of Desktop GUIs and opening windows on the desktop GUIs» предлагается, что, с учётом опыта пользователя в реальном мире, когда он реальные бумажные документы складывает в аккуратные стопки у себя на столе, организовать подобно этому и управление открытыми окнами в Safari. Новые объекты называются «browsablr stack».
Читать полностью »
Web Evolution (Part 1: Interface)
2012-05-22 в 23:55, admin, рубрики: web 3.0, будущее здесь, будущее рядом, Идеи для стартапов, интерфейс, Исследования и прогнозы в IT, социальные сети, эволюция интернета., метки: web 3.0, будущее рядом, идеи для стартапов, интерфейс, социальные сети, эволюция интернета. Будущее не плохое и не хорошее, оно такое же как и мы
.jpg)
После прочтения некоторых статей на Хабре на тему «будущее...» WEB 3.0, Следующий шаг Всемирной паутины (часть 1), , Будущее социальных сетей, Золотой век Кремниевой долины окончен, и мы танцуем на её могиле, а также — относящиеся к тематике копирайта О гиках, индустрии массового искусства и о том, как копирайт убил классическую музыку, Стартап Unglue.it освобождает книги от копирайта с помощью краудфандинга, решил предоставить хабросообществу цикл статей о Web 3.0. В этих статьях я постараюсь как можно подробнее изложить свое видение на скорое будущее Интернета. Почему я решил писать о будущем? Потому как считаю, что мысли, почерпнутые из прочитанного мною, собранные в единую цельную концепцию, дополненную личными соображениями, будут полезны также и другим, особенно тем, кто хочет идти в будущее, завоевывать IT-рынок, а не заниматься тем, что уже завтра станет никому не нужным. К чему тут упомянутая тема копирайта? По моему мнению, именно концепция Web 2.0 полноценно разрушила сложившуюся схему защиты авторских прав, и как раз концепция Web 3.0 решит проблему копирайта самым неожиданным образом. Но об этом в следующих статьях. А сейчас уделим внимание теме интерфейса Web 3.0.
Читать полностью »
